TOP
|
特許
|
意匠
|
商標
特許ウォッチ
Twitter
他の特許を見る
10個以上の画像は省略されています。
公開番号
2025136565
公報種別
公開特許公報(A)
公開日
2025-09-19
出願番号
2024035228
出願日
2024-03-07
発明の名称
弦楽器励振装置および弦楽器励振システム
出願人
Strings Audio Lab合同会社
代理人
弁理士法人磯野国際特許商標事務所
主分類
G10F
1/16 20060101AFI20250911BHJP(楽器;音響)
要約
【課題】弦楽器を高音質で鳴らすことができる弦楽器励振装置および弦楽器励振システムの提供。
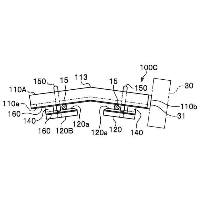
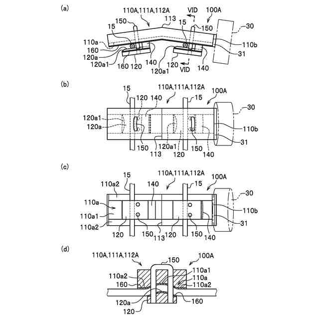
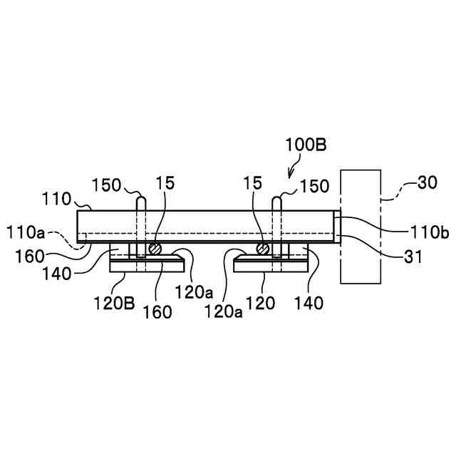
【解決手段】弦楽器励振装置100は、弦楽器の弦を2つのグループに分けて、振動装置からの振動を、前記グループのそれぞれに伝えて当該弦楽器を響鳴させる弦楽器励振装置であって、駒の前後のいずれかの位置で、2つのグループの一方で弦の上端側に当接する第1本体基板と、2つのグループの他方で第1本体基板111と対向する位置で弦の上端側に当接する第2本体基板112と、第1本体基板及び第2本体基板が当接する弦の下端側に個々に当接する係合板120と、第1本体基板及び第2本体基板で、係合板と互いに近接させる方向に付勢する介在部140と、第1本体基板の一端側及び第2本体基板の一端側に前記振動装置を接続する接続部110bと、を備え、介在部は、弾性部材で形成され弦の側端に対向する位置に配置される。
【選択図】図2
特許請求の範囲
【請求項1】
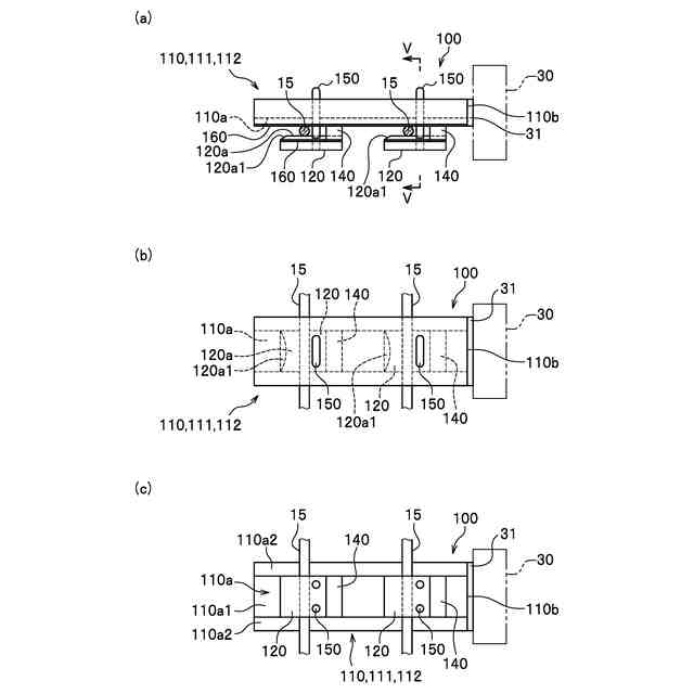
駒に当接する複数の弦を使用する弦楽器に、前記弦が偶数の場合は同数に、奇数の場合は1本多くなるように2つのグループに分けて、振動装置からの振動を、前記グループのそれぞれに伝えて当該弦楽器を響鳴させる弦楽器励振装置であって、
前記弦の長手方向において前記駒の前後のいずれかの位置で、前記2つのグループの一方において前記弦の上端側に当接する第1本体基板と、
前記2つのグループの他方において前記第1本体基板と対向する位置で前記弦の上端側に当接する第2本体基板と、
前記第1本体基板及び前記第2本体基板に対向して取り付けられて、前記第1本体基板及び前記第2本体基板が当接する前記弦の下端側に個々に当接する係合板と、
前記第1本体基板と前記係合板との間で前記第1本体基板と前記係合板とを互いに近接させる方向に付勢するとともに、前記第2本体基板と係合板との間で前記第2本体基板と前記係合板とを互いに近接させる方向に付勢する介在部と、
前記第1本体基板の一端側及び前記第2本体基板の一端側に前記振動装置を接続する接続部と、を備え、
前記介在部は、弾性部材で形成され前記弦の側端に対向する位置に配置される弦楽器励振装置。
続きを表示(約 1,200 文字)
【請求項2】
前記弦と前記介在部との間の位置に配置され、前記第1本体基板と前記係合板とを互いに近づける方向、及び、前記第2本体基板と前記係合板とを互いに近づける方向に、それぞれ付勢する挟持部を有する請求項1に記載の弦楽器励振装置。
【請求項3】
前記第1本体基板及び前記係合板が前記弦に当接する当接面、並びに、前記第2本体基板及び前記係合板が弦に当接する当接面は、平坦面から凸状または凹状となる曲面である請求項1に記載の弦楽器励振装置。
【請求項4】
前記第1本体基板及び前記係合板のそれぞれの前記弦と当接する位置、及び、前記第2本体基板及び前記係合板のそれぞれの前記弦と当接する位置には、前記第1本体基板及び前記係合板、並びに、前記第2本体基板及び前記係合板よりも摩擦力が高い部材が配置されている請求項1に記載の弦楽器励振装置。
【請求項5】
前記挟持部は、線状又は帯状の弾性部材であり、前記第1本体基板の上端、及び、前記第2本体基板の上端に、それぞれ設置される楔部材を介して配置され、
前記楔部材は、前記弦の太さにより前記第1本体基板及び前記係合板、並びに、前記第2本体基板及び前記係合板を互いに近づけるように締め付ける傾斜面を有し、前記傾斜面には前記挟持部の一部が係合する係合溝を前記傾斜面に沿って間隔を空けて複数有する請求項2に記載の弦楽器励振装置。
【請求項6】
前記第1本体基板及び前記第2本体基板は、前記係合板によりも面積が大きく形成され、前記係合板が前記駒の前後のいずれか一方に近接して配置されたときに、前記第1本体基板及び前記第2本体基板は、前記駒の上方を覆うように配置される大きさである請求項1に記載の弦楽器励振装置。
【請求項7】
前記第1本体基板及び前記第2本体基板のそれぞれは、前記弦と前記弦との間となる位置を屈曲させた屈曲部を備え、前記屈曲部により、前記弦の当接面が互いに近づく方向に傾斜している請求項1に記載の弦楽器励振装置。
【請求項8】
請求項1ないし請求項7のいずれか一項に記載の弦楽器励振装置と、
前記弦楽器励振装置の前記接続部に取り付けて、入力信号を振動に変換する振動装置と、
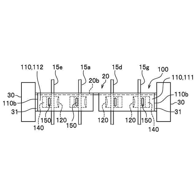
前記振動装置に信号を送る音源装置と、を備える弦楽器励振システム。
【請求項9】
前記音源装置は、一方の前記振動装置及び他方の前記振動装置に、前記弦のいずれかが振動する同じ信号を同時に送っている請求項8に記載の弦楽器励振システム。
【請求項10】
前記音源装置は、励振させる弦楽器が4弦である場合、一方の前記弦のグループとなるG弦及びD弦に一方の前記振動装置からフィルタを介して低中域振動を加振し、他方の前記弦のグループとなるA弦及びE弦に他方の前記振動装置からフィルタを介して中高域振動を加振する請求項8に記載の弦楽器励振システム。
発明の詳細な説明
【技術分野】
【0001】
本発明は、弦楽器励振装置および弦楽器励振システムに関する。
続きを表示(約 2,200 文字)
【背景技術】
【0002】
一般に、バイオリンなどの弦楽器は、表板(胴板)と裏板および側板とによって構成された響鳴胴を有し、表板には響穴(サウンドホール)が形成されている。また、弦楽器は、表板に板状のブリッジベース部材が接着剤によって固定されており、ブリッジベース部材上には弦を支持するために弦の長手方向と直交する方向に延在する駒(ブリッジ)が取り付けられている。
そして、各弦は、ブリッジの上部を超えて一端部をブリッジベース部材に取り付けられたブリッジピンに係止されている。この弦のそれぞれは、他端部をヘッド側に設けられている張力調整機構によって張力を与えられることにより、ブリッジの上面に押し付けられ、ブリッジによって有効な位置を規定される。
このような弦楽器を用いて、弦楽器のブリッジを外部から、例えば圧電振動子やスピーカのような振動手段により響鳴させるシステムが提案されている。
【0003】
特許文献1には、自動バイオリン用増幅器の出力によって振動する圧電振動子と圧電振動子の固定治具と振動伝達体とを備えた圧電振動・伝達ユニットと、駒の振動により発音する自動バイオリンと、スピーカ・ラインに接続したスピーカ用増幅器と、スピーカ用増幅器に接続したダイナミックスピーカとを備えるバイオリンとスピーカによる重畳再生装置が記載されている。
【0004】
特許文献2には、ブリッジを備えた弦楽器を加振するための装置であって、前記ブリッジに当接するべき作用点部を備えたベース部材と、前記ベース部材に取り付けられた、電気信号を機械振動に変換する振動発生器とを含み、前記ベース部材が、前記弦楽器の少なくとも1本の弦の上面に係合する支点部と、前記作用点部と前記支点部との中間位置で前記少なくとも1本の弦の下面に係合する力点部と、前記支点部および前記力点部の少なくとも一方を、前記作用点部を前記ブリッジに向けて付勢する向きに変位させるための手段と、を有することを特徴とする装置が記載されている。
【0005】
非特許文献1には、球形スピーカを使用し、ストラディバリウスの音響的特徴の解明を行った研究結果が報告されている。例えば、周波数の関数として表した放射指向性の強さのパターンは、ストラディバリウス間で類似していることが明らかになったとされる。ここで、放射指向性の強さとは、音がある特定の一方位に集中するほど高い値を示す空間放射特性の一指標である。また、放射指向性の強さのパターンに関して、中域(1kHz前後)と高域(3kHz前後)に現れるピークの周波数は、ストラディバリウスと他のバイオリン(オールド、モダン、およびコンテンポラリ)とで異なっていたとされる。
【0006】
非特許文献2には、各種バイオリンの音階演奏時の放射指向性の強さを算出した放射指向性のパターンが報告されている。放射指向性のパターンのピークとディップ周波数、およびその周波数比に音響的特徴が現れることが考察されたとする。
なお、特許文献3には、弦楽器を加振する加振装置が提案されている。この加振装置では、2本の弦を第1板部と第2板部との間に力付与部としてボルトを締めることで、2本の弦を挟持するように構成されている。
【先行技術文献】
【特許文献】
【0007】
特開2011-35851号公報
WO2014199613A1号公報
特開2022-61728号公報
【非特許文献】
【0008】
「オールドバイオリンの音響的特徴の解明」2016 Fiscal Year Research-status Report,牧勝弘等,[online],[平成30年11月1日検索],インターネット 〈 URL : https://kaken.nii.ac.jp/en/report/KAKENHI-PROJECT-16K00255/16K002552016hokoku/〉
「バイオリン「ストラディバリウス」の放射指向性」日本音響学会秋季研究発表会講演論文集(2017.9.25-27),牧勝弘等,[online],[平成30年11月1日検索],インターネット 〈 URL : http://www.asj.gr.jp/annualmeeting/pdf/2017autumn_timeschedule.pdf〉
【発明の概要】
【発明が解決しようとする課題】
【0009】
しかしながら、特許文献1に記載の装置では、バイオリンの胴体の内部に加振機を組み込むもので、バイオリンの製造時に行う必要があり、通常のバイオリンとして扱うことはできない。また、既存のバイオリンを改造して、加振機を組み込むことも考えられるが、高価なバイオリンにこのような改造を行うことは多くの場合、受け入れられない。
【0010】
また、特許文献2に記載の加振装置では、支点部および力点部が弦に係合し、作用点部においてブリッジに係合するので、作用点部をブリッジに対して十分に強い力で押し付けることが可能になる。しかしながら、弦楽器から再生される楽音については、一般的なHiFiスピーカの音質には達していない。
(【0011】以降は省略されています)
この特許をJ-PlatPat(特許庁公式サイト)で参照する
関連特許
個人
破裂爆発波動体感バルーン
1か月前
株式会社白鳩
音漏れ抑制マスク
1か月前
株式会社白鳩
音漏れ抑制マスク
1か月前
株式会社豊田中央研究所
吸音構造体
6日前
本田技研工業株式会社
車室環境制御装置
2日前
川崎重工業株式会社
表面材
1か月前
日本音響エンジニアリング株式会社
騒音低減装置
1か月前
株式会社東芝
吸音装置
4日前
株式会社イノアックコーポレーション
吸音材
25日前
株式会社フジタ
環境音快音化システム
1か月前
個人
歌唱技術表示装置および歌唱技術表示方法
1か月前
積水樹脂株式会社
吸音シート
2日前
株式会社第一興商
カラオケ装置
6日前
KDDI株式会社
認証装置、認証方法及び認証プログラム
25日前
カシオ計算機株式会社
減音器具
4日前
カシオ計算機株式会社
減音器具
4日前
株式会社第一興商
カラオケ装置
1か月前
株式会社第一興商
カラオケ装置
2日前
株式会社第一興商
カラオケ装置
26日前
個人
楽曲検索装置、楽曲検索方法、及び楽曲検索プログラム
1か月前
中原大學
能動騒音除去機能を持つレンジフード
6日前
カシオ計算機株式会社
電子鍵盤楽器
2日前
トヨタ自動車株式会社
電気自動車
26日前
株式会社JVCケンウッド
クリッピング装置及びクリッピング方法
6日前
カシオ計算機株式会社
電子楽器、電子楽器の制御方法及びプログラム
2日前
トヨタ自動車株式会社
運転者認知機能改善システム
2日前
株式会社東芝
吸音装置及び音響メタマテリアル
4日前
ローランド株式会社
打楽器および打面の形成方法
1か月前
宮澤フル-ト製造株式会社
タンポ及び木管楽器
1か月前
カシオ計算機株式会社
制御装置、方法およびプログラム
6日前
カシオ計算機株式会社
演奏装置、方法およびプログラム
4日前
カシオ計算機株式会社
制御装置、方法およびプログラム
6日前
カシオ計算機株式会社
演奏装置、方法およびプログラム
1か月前
カシオ計算機株式会社
演奏装置、方法およびプログラム
3日前
株式会社SOKEN
吸音構造体
1か月前
ローランド株式会社
打楽器および取付部材の取付方法
1か月前
続きを見る
他の特許を見る