TOP
|
特許
|
意匠
|
商標
特許ウォッチ
Twitter
他の特許を見る
10個以上の画像は省略されています。
公開番号
2025138069
公報種別
公開特許公報(A)
公開日
2025-09-25
出願番号
2024036818
出願日
2024-03-11
発明の名称
販売データ処理システム、販売データ処理装置およびプログラム
出願人
東芝テック株式会社
代理人
弁理士法人酒井国際特許事務所
主分類
G06Q
30/06 20230101AFI20250917BHJP(計算;計数)
要約
【課題】複数拠点の在庫共有を利用した注文受付にかかる作業分担の自由度を向上可能にする。
【解決手段】販売データ処理システムは、1以上の拠点に在庫の商品の情報である統合在庫情報を記憶したデータベースから取得した前記統合在庫情報が含む前記商品の情報を選択可能に提示する提示部、当該提示部が提示した前記情報に基づいて前記商品の選択および注文を受け付ける受注部、および、当該受注部が受け付けた注文の識別情報と当該注文にかかる前記商品の識別情報とを含んだ印字媒体を出力する出力部、を備え、顧客による操作を受け付ける顧客端末と、前記印字媒体から前記商品の識別情報を取得し、当該注文にかかる前記商品の代金の決済処理を行う販売データ処理装置と、前記印字媒体から前記注文の識別情報を取得し、当該注文の注文主の情報の入力を受け付ける入力部を備え、店員による操作を受け付ける店員端末と、を含む。
【選択図】図10
特許請求の範囲
【請求項1】
1以上の拠点に在庫の商品の情報である統合在庫情報を記憶したデータベースから取得した前記統合在庫情報が含む前記商品の情報を選択可能に提示する提示部、当該提示部が提示した前記情報に基づいて前記商品の選択および注文を受け付ける受注部、および、当該受注部が受け付けた注文の識別情報と当該注文にかかる前記商品の識別情報とを含んだ印字媒体を出力する出力部、を備え、顧客による操作を受け付ける顧客端末と、
前記印字媒体から前記商品の識別情報を取得し、当該注文にかかる前記商品の代金の決済処理を行う販売データ処理装置と、
前記印字媒体から前記注文の識別情報を取得し、当該注文の注文主の情報の入力を受け付ける入力部を備え、店員による操作を受け付ける店員端末と、
を含む販売データ処理システム。
続きを表示(約 1,200 文字)
【請求項2】
前記提示部は、キーワードまたは分類の絞り込みによる商品検索と、店舗に在庫の類似商品に付されたコードシンボルの読み取りと、のいずれかにより、前記統合在庫情報が含む前記商品の情報を提示する
請求項1に記載の販売データ処理システム。
【請求項3】
前記統合在庫情報は、1以上の拠点の在庫予定の商品の情報をも記憶し、
前記受注部は、前記商品の予約を受け付ける
請求項1に記載の販売データ処理システム。
【請求項4】
顧客の操作に基づいて、1以上の拠点に在庫の商品の情報である統合在庫情報を記憶したデータベースから取得した前記統合在庫情報が含む前記商品の情報を選択可能に提示する提示部と、
顧客の操作により、前記提示部が提示した前記情報に基づいて前記商品の選択および注文を受け付ける受注部と、
顧客の操作により、前記受注部が受け付けた注文の識別情報と当該注文にかかる前記商品の識別情報とを含んだ印字媒体を出力する出力部と、
店員の操作により、前記印字媒体から前記商品の識別情報を取得し、当該注文にかかる前記商品の代金の決済処理を行う決済処理部と、
店員の操作により、前記印字媒体から前記注文の識別情報を取得し、当該注文の注文主の情報の入力を受け付ける入力部と、
を含む販売データ処理システム。
【請求項5】
顧客による操作を受け付ける端末装置であって、
1以上の拠点に在庫の商品の情報である統合在庫情報を記憶したデータベースから取得した前記統合在庫情報が含む前記商品の情報を選択可能に提示する提示部と、
前記提示部が提示した前記情報に基づいて前記商品の選択および注文を受け付ける受注部と、
前記受注部が受け付けた注文の識別情報と当該注文にかかる前記商品の識別情報とを含んだ印字媒体を出力する出力部と、
を備える販売データ処理装置。
【請求項6】
顧客による操作を受け付ける顧客端末のコンピュータを、1以上の拠点に在庫の商品の情報である統合在庫情報を記憶したデータベースから取得した前記統合在庫情報が含む前記商品の情報を選択可能に提示する提示部、当該提示部が提示した前記情報に基づいて前記商品の選択および注文を受け付ける受注部、および、当該受注部が受け付けた注文の識別情報と当該注文にかかる前記商品の識別情報とを含んだ印字媒体を出力する出力部、として機能させ、
販売データ処理装置のコンピュータに、前記印字媒体から前記商品の識別情報を取得し、当該注文にかかる前記商品の代金の決済処理を行わせ
店員による操作を受け付ける店員端末のコンピュータを、前記印字媒体から前記注文の識別情報を取得し、当該注文の注文主の情報の入力を受け付ける入力部として機能させる
ためのプログラム。
発明の詳細な説明
【技術分野】
【0001】
本発明の実施形態は、販売データ処理システム、販売データ処理装置およびプログラムに関する。
続きを表示(約 2,000 文字)
【背景技術】
【0002】
従来、複数拠点の在庫状況を共有するシステム(例えば特許文献1)がある。また、近年、店舗を訪れた顧客から、系列の他店舗や倉庫に在庫の商品の注文を受け付けるサービスが行われている。
【0003】
従来の上記サービスは、店員の操作により実施されている。つまり、店員が、顧客から聞き取る等により、顧客の所望の商品の情報を特定して、会計や配送の手続きを行っている。しかしながら、上述のような手順でのサービス実現であると、店員が負担する作業が多く、また、顧客にとっても、店員との意思疎通がストレスやハードルになることがあり、これにより、販売の機会を逸してしまうことがある。
【発明の概要】
【発明が解決しようとする課題】
【0004】
本発明が解決しようとする課題は、複数拠点の在庫共有を利用した注文受付にかかる作業分担の自由度を向上可能にすることである。
【課題を解決するための手段】
【0005】
実施形態の販売データ処理システムは、1以上の拠点に在庫の商品の情報である統合在庫情報を記憶したデータベースから取得した前記統合在庫情報が含む前記商品の情報を選択可能に提示する提示部、当該提示部が提示した前記情報に基づいて前記商品の選択および注文を受け付ける受注部、および、当該受注部が受け付けた注文の識別情報と当該注文にかかる前記商品の識別情報とを含んだ印字媒体を出力する出力部、を備え、顧客による操作を受け付ける顧客端末と、前記印字媒体から前記商品の識別情報を取得し、当該注文にかかる前記商品の代金の決済処理を行う販売データ処理装置と、前記印字媒体から前記注文の識別情報を取得し、当該注文の注文主の情報の入力を受け付ける入力部を備え、店員による操作を受け付ける店員端末と、を含む。
【図面の簡単な説明】
【0006】
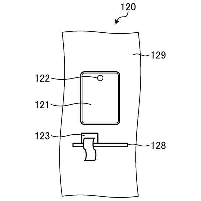
図1は、実施形態における販売データ処理システムの装置構成の一例を示す図である。
図2は、セルフ端末の外観の一例を示す図である。
図3は、他のセルフ端末の外観の例を示す図である。
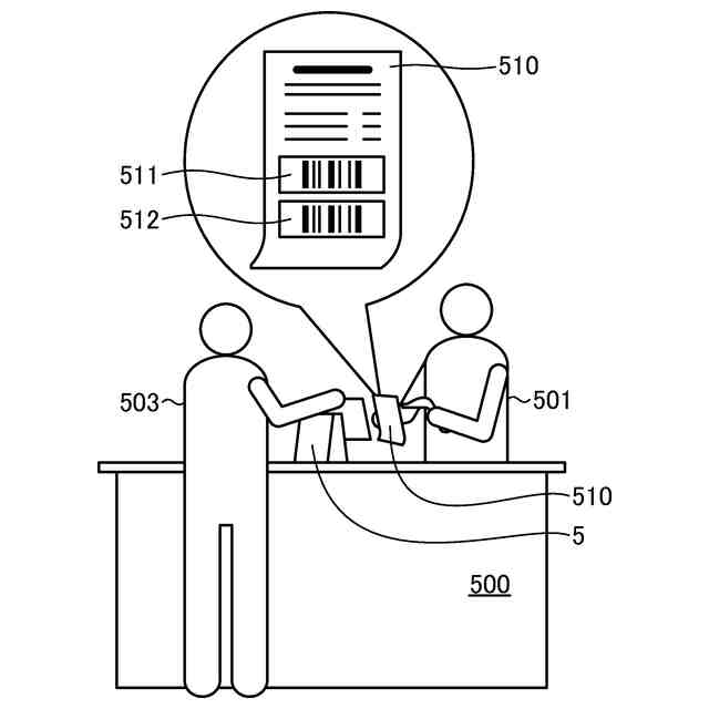
図4は、会計カウンターでの注文確定の様子の一例を示す図である。
図5は、店員端末の表示例を示す図である。
図6は、セルフ端末のハードウェア構成の一例を示すブロック図である。
図7は、店員端末のハードウェア構成の一例を示すブロック図である。
図8は、POS端末のハードウェア構成の一例を示すブロック図である。
図9は、販売データ処理システムの機能構成の一例を示すブロック図である。
図10は、販売データ処理システムにおける処理の流れを示す図である。
図11は、セルフ端末における表示の一例を示す図である。
図12は、セルフ端末における表示の一例を示す図である。
図13は、セルフ端末における表示の一例を示す図である。
図14は、セルフ端末における表示の一例を示す図である。
図15は、セルフ端末における表示の一例を示す図である。
図16は、セルフ端末における表示の一例を示す図である。
図17は、セルフ端末における表示の一例を示す図である。
図18は、セルフ端末における表示の一例を示す図である。
【発明を実施するための形態】
【0007】
(第1実施形態)
実施形態について図面を用いて説明する。図1は、実施形態における販売データ処理システムの装置構成の一例を示す図である。販売データ処理システムは、セルフ端末1、店員端末3、POS端末5、倉庫端末7、クラウドサービス8、DB(Database、データベース)9などを含む。
【0008】
ここで、「POS」は「Point Of Sale」の略称であって、「販売時点情報管理」を意味する。セルフ端末1、店員端末3、およびPOS端末5は、販売時点情報管理を行う、販売データ処理装置の一例である。
【0009】
セルフ端末1、店員端末3、およびPOS端末5は、ネットワーク2によって、クラウドサービス8に接続される。また、倉庫端末7は、ネットワーク6によって、クラウドサービス8に接続される。
【0010】
クラウドサービス8は、DB9と外部装置(例えばセルフ端末1、店員端末3、POS端末5、および倉庫端末7)との情報のやり取りを仲介する機能部を提供する。当該機能部は、例えば、クラウドサービス8が提供するAPI(Application Programming Interface)により実現される。
(【0011】以降は省略されています)
この特許をJ-PlatPat(特許庁公式サイト)で参照する
関連特許
東芝テック株式会社
プリンタ
3日前
東芝テック株式会社
プリンタ装置
3日前
東芝テック株式会社
プリンタ装置
3日前
東芝テック株式会社
画像形成装置
5日前
東芝テック株式会社
情報処理装置及びシステム
4日前
東芝テック株式会社
情報処理装置及びプログラム
3日前
東芝テック株式会社
信号入出力装置および障害通知方法
7日前
東芝テック株式会社
商品登録装置、及び情報処理プログラム
3日前
東芝テック株式会社
商品販売データ処理装置及びそのプログラム
4日前
東芝テック株式会社
情報処理装置、情報処理プログラム及び情報処理システム
3日前
東芝テック株式会社
プリンタおよびプログラム
3日前
東芝テック株式会社
情報端末及びそのプログラム
6日前
東芝テック株式会社
トナーカートリッジ梱包用ブランク
今日
東芝テック株式会社
ファームウェアパッケージ作成装置、ファームウェアパッケージ作成プログラム及びファームウェア更新システム
7日前
個人
裁判のAI化
2か月前
個人
情報処理システム
2か月前
個人
工程設計支援装置
1か月前
個人
フラワーコートA
2か月前
個人
地球保全システム
5日前
個人
冷凍食品輸出支援構造
1か月前
個人
為替ポイント伊達夢貯
1か月前
個人
介護情報提供システム
2か月前
個人
表変換編集支援システム
25日前
個人
設計支援システム
2か月前
個人
設計支援システム
2か月前
個人
携帯情報端末装置
1か月前
個人
知財出願支援AIシステム
1か月前
個人
結婚相手紹介支援システム
1か月前
個人
行動時間管理システム
27日前
個人
AIによる情報の売買の仲介
1か月前
株式会社カクシン
支援装置
2か月前
個人
パスワード管理支援システム
25日前
日本精機株式会社
施工管理システム
1か月前
個人
アンケート支援システム
2か月前
個人
海外支援型農作物活用システム
17日前
株式会社キーエンス
受発注システム
4日前
続きを見る
他の特許を見る