TOP
|
特許
|
意匠
|
商標
特許ウォッチ
Twitter
他の特許を見る
10個以上の画像は省略されています。
公開番号
2025140689
公報種別
公開特許公報(A)
公開日
2025-09-29
出願番号
2024040231
出願日
2024-03-14
発明の名称
ファームウェアパッケージ作成装置、ファームウェアパッケージ作成プログラム及びファームウェア更新システム
出願人
東芝テック株式会社
代理人
弁理士法人鈴榮特許綜合事務所
主分類
G06F
8/65 20180101AFI20250919BHJP(計算;計数)
要約
【課題】複数の機種のデバイスに対応可能なファームウェアパッケージを作成する。
【解決手段】一実施形態に係るファームウェアパッケージ作成装置は、複数の機種毎ファームウェアデータのそれぞれに含まれる複数のファイルを、全機種において共通に利用される共通ファイルと、各機種毎ファームウェアデータが対象とする機種においてのみ利用される機種別ファイルとに分類し、この分類に基づいて、共通ファイルのみを纏めて圧縮処理することで第1の圧縮ファイルを作成し、複数の機種毎ファームウェアデータのそれぞれについて、機種別ファイルのみを纏めて圧縮処理することで第2の圧縮ファイルを作成することを、複数の機種毎ファームウェアデータの全てに対して行って、複数の第2の圧縮ファイルを作成し、第1の圧縮ファイルと複数の第2の圧縮ファイルとを纏めて圧縮処理することで一つのファームウェアパッケージを作成する。
【選択図】 図4
特許請求の範囲
【請求項1】
プロセッサと記憶装置とを備え、複数の機種のデバイスに対する複数のファームウェアデータを含むファームウェアパッケージを作成するファームウェアパッケージ作成装置であって、
前記記憶装置は、前記複数の機種のデバイスに対する複数の機種毎ファームウェアデータを記憶し、
前記プロセッサは、
前記複数の機種毎ファームウェアデータのそれぞれについて、当該機種毎ファームウェアデータに含まれる複数のファイルを、全機種において共通に利用される共通ファイルと、当該機種毎ファームウェアデータが対象とする機種においてのみ利用される機種別ファイルとに分類し、
前記分類に基づいて、前記複数の機種毎ファームウェアデータから、前記共通ファイルのみを纏めて圧縮処理することで第1の圧縮ファイルを作成し、
前記分類に基づいて、前記複数の機種毎ファームウェアデータのそれぞれについて、前記機種別ファイルのみを纏めて圧縮処理することで第2の圧縮ファイルを作成することを、前記複数の機種毎ファームウェアデータの全てに対して行って、複数の前記第2の圧縮ファイルを作成し、
前記第1の圧縮ファイルと前記複数の第2の圧縮ファイルとを纏めて圧縮処理することで一つの前記ファームウェアパッケージを作成する、
ファームウェアパッケージ作成装置。
続きを表示(約 1,500 文字)
【請求項2】
前記プロセッサは、前記複数の機種毎ファームウェアデータに含まれる同一ファイル名のファイル同士のハッシュ比較により、前記分類を行う、請求項1に記載のファームウェアパッケージ作成装置。
【請求項3】
前記プロセッサは、前記複数の機種毎ファームウェアデータに含まれる同一ファイル名の複数のファイルの内、一機種でもハッシュが異なっていれば、全機種において当該ファイルは前記機種別ファイルと分類する、請求項2に記載のファームウェアパッケージ作成装置。
【請求項4】
前記プロセッサは、
同一ファイル名を排除した、前記複数の機種毎ファームウェアデータに含まれるファイルのファイルリストを、前記記憶装置に作成し、
前記ファイルリストに記載されたファイルについて一つずつ、前記ハッシュ比較を行う、
請求項2又は3に記載のファームウェアパッケージ作成装置。
【請求項5】
前記ファームウェアパッケージ作成装置は、当該ファームウェアパッケージ作成装置に対して着脱自在な外部記憶媒体とのインタフェースを更に備え、
前記プロセッサは、前記作成した前記ファームウェアパッケージを、前記インタフェースを介して前記外部記憶媒体に記憶させる、
請求項1に記載のファームウェアパッケージ作成装置。
【請求項6】
プロセッサと記憶装置とを備え、複数の機種のデバイスに対する複数のファームウェアデータを含むファームウェアパッケージを作成するファームウェアパッケージ作成装置の前記プロセッサによって実行されたとき、
前記プロセッサに、
前記記憶装置に記憶された、前記複数の機種のデバイスに対する複数の機種毎ファームウェアデータのそれぞれについて、当該機種毎ファームウェアデータに含まれる複数のファイルを、全機種において共通に利用される共通ファイルと、当該機種毎ファームウェアデータが対象とする機種においてのみ利用される機種別ファイルとに分類させ、
前記分類に基づいて、前記複数の機種毎ファームウェアデータから、前記共通ファイルのみを纏めて圧縮処理することで第1の圧縮ファイルを作成させ、
前記分類に基づいて、前記複数の機種毎ファームウェアデータのそれぞれについて、前記機種別ファイルのみを纏めて圧縮処理することで第2の圧縮ファイルを作成させることを、前記複数の機種毎ファームウェアデータの全てに対して行って、複数の前記第2の圧縮ファイルを作成させ、
前記第1の圧縮ファイルと前記複数の第2の圧縮ファイルとを纏めて圧縮処理することで一つの前記ファームウェアパッケージを作成させる、
ファームウェアパッケージ作成プログラム。
【請求項7】
請求項1に記載のファームウェアパッケージ作成装置と、
プロセッサと記憶装置とを備え、前記ファームウェアパッケージ作成装置によって作成された前記ファームウェアパッケージを利用して、ファームウェアデータを更新する前記複数の機種のデバイスと、
を備え、
前記デバイスの前記プロセッサは、
前記ファームウェアパッケージを解凍して、前記第1の圧縮ファイルと前記複数の第2の圧縮ファイルとを前記デバイスの前記記憶装置に保存し、
前記第1の圧縮ファイルと、前記複数の第2の圧縮ファイルの中から当該機種に該当する第2の圧縮ファイルとを解凍することで、当該機種用の前記機種毎ファームウェアデータを復元し、
前記機種毎ファームウェアデータを適用する、
ファームウェア更新システム。
発明の詳細な説明
【技術分野】
【0001】
本発明の実施形態は、ファームウェアパッケージ作成装置、ファームウェアパッケージ作成プログラム及びファームウェア更新システムに関する。
続きを表示(約 2,500 文字)
【背景技術】
【0002】
MFP(multifunction peripheral)、コピー機、プリンタ等、様々な機種が存在するデバイスが広く利用されている。このようなデバイスは、起動時に、オペレーティングシステムに先立って実行されるBIOS(Basic Input Output System)等のファームウェアを記憶している。このファームウェアに関して、機能のバージョンアップが必要となった場合や障害等の理由により更新する必要が生じた場合には、サービスマンが顧客先を訪問し、手作業でファームウェアのアップデートを行うものとなっている。
【0003】
デバイスのファームウェアは、機種毎に異なる。そのため、デバイスのメーカ等において作成された機種毎ファームウェアデータが、当該メーカの管理サーバ等に準備され、サービスマンは、必要な機種毎ファームウェアデータを、管理サーバ等からダウンロードして、例えばUSB(Universal Serial Bus)メモリ等の可搬可能な記憶媒体に記憶させて、顧客先へ訪問することとなる。一つの顧客が一機種のみのデバイスを利用しているとは限らず、また、一度に複数の顧客先を回る場合も有るため、サービスマンは、複数機種用の機種毎ファームウェアデータを記憶媒体に記憶させることが必要となる。機種毎ファームウェアデータのサイズによっては、一つの記憶媒体に複数の機種用のデータを記憶させることができない場合もある。
【0004】
そこで、特許文献1は、複数の機種のデバイスで共通に利用される共通ファームウェアと、複数の機種毎に固有の固有ファームウェアと、を含むファームウェアパッケージを配信する技術を提案している。
【0005】
しかしながら、特許文献1には、そのようなファームウェアパッケージの作成方法は何ら記載されていない。そのため、ファームウェアデータの作成者が、共通ファームウェアと固有ファームウェアとを区別して作成すると想定するのが自然である。
【0006】
一方で、ファームウェアデータの作成者が、そのような共通ファームウェアと固有ファームウェアとを区別しないで、複数の機種のデバイスそれぞれについてファームウェアデータを個別に作成する場合も有り得る。そのような場合には、特許文献1に提案された技術を使用することがでない。
【先行技術文献】
【特許文献】
【0007】
特開2015-79372号公報
【発明の概要】
【発明が解決しようとする課題】
【0008】
本発明が解決しようとする課題は、複数の機種のデバイスそれぞれについてファームウェアデータを個別に作成したとしても、複数の機種のデバイスに対応可能なファームウェアパッケージを作成することが可能なファームウェアパッケージ作成装置、ファームウェアパッケージ作成方法及びファームウェアパッケージ作成プログラムを提供することである。
【課題を解決するための手段】
【0009】
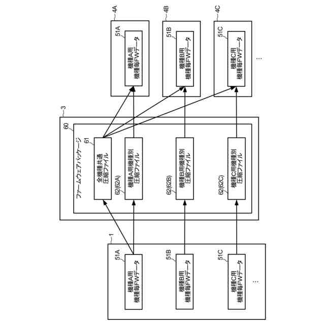
一実施形態に係るファームウェアパッケージ作成装置は、プロセッサと記憶装置とを備え、複数の機種のデバイスに対する複数のファームウェアデータを含むファームウェアパッケージを作成する。記憶装置は、複数の機種のデバイスに対する複数の機種毎ファームウェアデータを記憶する。プロセッサは、複数の機種毎ファームウェアデータのそれぞれについて、当該機種毎ファームウェアデータに含まれる複数のファイルを、全機種において共通に利用される共通ファイルと、当該機種毎ファームウェアデータが対象とする機種においてのみ利用される機種別ファイルとに分類し、この分類に基づいて、複数の機種毎ファームウェアデータから、共通ファイルのみを纏めて圧縮処理することで第1の圧縮ファイルを作成し、また、複数の機種毎ファームウェアデータのそれぞれについて、機種別ファイルのみを纏めて圧縮処理することで第2の圧縮ファイルを作成することを、複数の機種毎ファームウェアデータの全てに対して行って、複数の第2の圧縮ファイルを作成する。そして、プロセッサは、第1の圧縮ファイルと複数の第2の圧縮ファイルとを纏めて圧縮処理することで一つのファームウェアパッケージを作成する。
【図面の簡単な説明】
【0010】
図1は、実施形態に係るファームウェア更新システムの構成の例について説明するための図である。
図2は、ファームウェア更新システムが含む実施形態に係るファームウェアパッケージ作成装置としてのサービスマン端末の構成の例について説明するための図である。
図3は、ファームウェア更新システムが含むデバイスとしてのMFPの構成の例について説明するための図である。
図4は、ファームウェア更新システムの動作を説明するためのシーケンス図である。
図5は、機種毎ファームウェアデータと全機種向けファームウェアパッケージとの関係を説明するための図である。
図6は、サービスマン端末のプロセッサが実行する情報処理の要部手順の一例を示すフローチャートの第1の部分を示す図である。
図7は、サービスマン端末のプロセッサが実行する情報処理の要部手順の一例を示すフローチャートの第2の部分を示す図である。
図8は、サービスマン端末のプロセッサが実行する情報処理の要部手順の一例を示すフローチャートの第3の部分を示す図である。
図9は、サービスマン端末が備える判定結果保存部に保存されるCSVファイルのレコード構造の例について説明するための図である。
図10は、MFPのプロセッサが実行する情報処理の要部手順の一例を示すフローチャートである。
図11は、変形例におけるサービスマン端末のプロセッサが実行する情報処理の要部手順の一例を示すフローチャートの第1の部分を示す図である。
【発明を実施するための形態】
(【0011】以降は省略されています)
この特許をJ-PlatPat(特許庁公式サイト)で参照する
関連特許
東芝テック株式会社
プリンタ
2日前
東芝テック株式会社
商品登録装置
10日前
東芝テック株式会社
プリンタ装置
2日前
東芝テック株式会社
プリンタ装置
2日前
東芝テック株式会社
画像形成装置
4日前
東芝テック株式会社
情報処理装置及びシステム
3日前
東芝テック株式会社
情報処理装置及びプログラム
2日前
東芝テック株式会社
信号入出力装置および障害通知方法
6日前
東芝テック株式会社
質問応答装置、方法及びプログラム
6日前
東芝テック株式会社
読取装置、プログラムおよびシステム
6日前
東芝テック株式会社
買物支援システム及び買物支援サーバ
10日前
東芝テック株式会社
商品登録装置、及び情報処理プログラム
2日前
東芝テック株式会社
商品販売データ処理装置及びそのプログラム
3日前
東芝テック株式会社
商品受渡システム、店員端末およびプログラム
10日前
東芝テック株式会社
商品販売支援システム、店員端末およびプログラム
10日前
東芝テック株式会社
情報処理装置、情報処理プログラム及び情報処理システム
2日前
東芝テック株式会社
プリンタおよびプログラム
2日前
東芝テック株式会社
情報端末及びそのプログラム
5日前
東芝テック株式会社
ファームウェアパッケージ作成装置、ファームウェアパッケージ作成プログラム及びファームウェア更新システム
6日前
個人
地球保全システム
4日前
個人
フラワーコートA
1か月前
個人
工程設計支援装置
1か月前
個人
介護情報提供システム
2か月前
個人
冷凍食品輸出支援構造
1か月前
個人
為替ポイント伊達夢貯
1か月前
個人
携帯情報端末装置
1か月前
個人
表変換編集支援システム
24日前
個人
結婚相手紹介支援システム
1か月前
個人
知財出願支援AIシステム
1か月前
個人
AIによる情報の売買の仲介
1か月前
個人
パスワード管理支援システム
24日前
個人
行動時間管理システム
26日前
個人
海外支援型農作物活用システム
16日前
株式会社キーエンス
受発注システム
3日前
個人
システム及びプログラム
17日前
株式会社キーエンス
受発注システム
3日前
続きを見る
他の特許を見る