TOP
|
特許
|
意匠
|
商標
特許ウォッチ
Twitter
他の特許を見る
公開番号
2025138234
公報種別
公開特許公報(A)
公開日
2025-09-25
出願番号
2024037208
出願日
2024-03-11
発明の名称
画像処理装置、方法及びプログラム
出願人
富士フイルム株式会社
代理人
個人
,
個人
,
個人
,
個人
,
個人
主分類
A61B
6/03 20060101AFI20250917BHJP(医学または獣医学;衛生学)
要約
【課題】注目する組織を成分ごとに解析できる画像処理装置、方法及びプログラムを提供する。
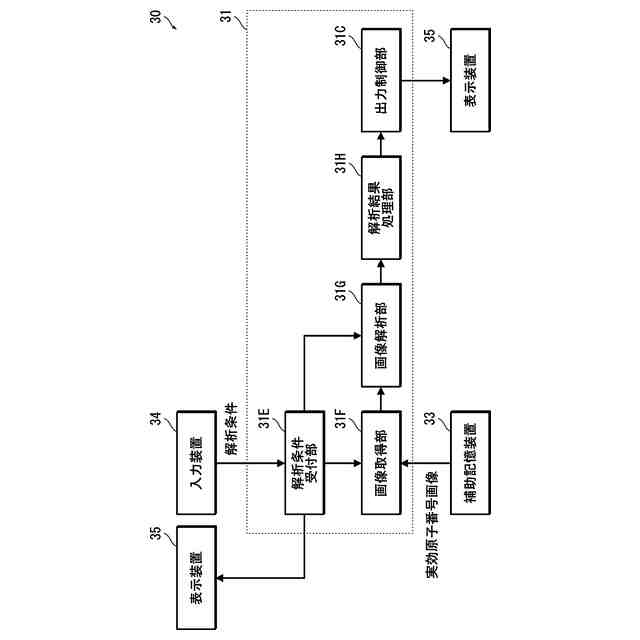
【解決手段】実効原子番号の計測が可能なX線コンピュータ断層撮影装置で得られる画像を処理する画像処理装置であって、プロセッサを備える。プロセッサは、X線コンピュータ断層撮影装置で得られる複数の画像のうちの少なくとも1つを表示部に表示し、表示部に表示された画像上で第1領域の設定を受け付け、解析対象とする実効原子番号の設定を受け付け、第1領域内で実効原子番号の成分を含む画素を抽出して、第1領域内で実効原子番号の成分を含む第2領域を抽出し、第2領域の形状を特定し、第2領域の形状を表示部に表示する。
【選択図】図5
特許請求の範囲
【請求項1】
実効原子番号の計測が可能なX線コンピュータ断層撮影装置で得られる画像を処理する画像処理装置であって、
プロセッサを備え、
前記プロセッサは、
前記X線コンピュータ断層撮影装置で得られる複数の画像のうちの少なくとも1つを表示部に表示し、
前記表示部に表示された前記画像上で第1領域の設定を受け付け、
解析対象とする実効原子番号の設定を受け付け、
前記第1領域内で前記実効原子番号の成分を含む画素を抽出して、前記第1領域内で前記実効原子番号の成分を含む第2領域を抽出し、
前記第2領域の形状を特定し、
前記第2領域の形状を前記表示部に表示する、
画像処理装置。
続きを表示(約 1,100 文字)
【請求項2】
前記プロセッサは、
前記第2領域の大きさを計測し、
前記第2領域の形状及び大きさを前記表示部に表示する、
請求項1に記載の画像処理装置。
【請求項3】
前記プロセッサは、
解析対象とする前記実効原子番号の範囲の設定を受け付ける、
請求項1又は2に記載の画像処理装置。
【請求項4】
前記プロセッサは、
基準とする前記実効原子番号の値、及び、前記値を基準とする範囲の設定を受け付けて、解析対象とする前記実効原子番号の範囲の設定を受け付ける、
請求項3に記載の画像処理装置。
【請求項5】
前記プロセッサは、
特定の成分に対応する前記実効原子番号として、あらかじめ登録された前記実効原子番号を前記表示部に表示し、
前記表示部に表示された前記実効原子番号の中から選択を受け付けて、解析対象とする前記実効原子番号の設定を受け付ける、
請求項1又は2に記載の画像処理装置。
【請求項6】
前記プロセッサは、前記実効原子番号に対応する前記成分の情報を前記実効原子番号に関連付けて前記表示部に表示する、
請求項5に記載の画像処理装置。
【請求項7】
前記プロセッサは、前記表示部に表示させる前記実効原子番号の登録を受け付ける、
請求項5に記載の画像処理装置。
【請求項8】
前記プロセッサは、
前記第1領域の設定を複数受け付け、
前記第1領域ごとに解析対象とする前記実効原子番号の設定を受け付け、
前記第1領域ごとに前記第2領域を抽出し、
前記第1領域ごとに前記第2領域の形状を特定し、
前記第1領域ごとに前記第2領域の形状を前記表示部に表示する、
請求項1又は2に記載の画像処理装置。
【請求項9】
前記プロセッサは、
前記第1領域ごとに前記第2領域の大きさを計測し、
前記第1領域ごとに前記第2領域の形状及び大きさを前記表示部に表示する、
請求項8に記載の画像処理装置。
【請求項10】
前記プロセッサは、
前記X線コンピュータ断層撮影装置で得られる複数の画像の中から解析対象とする前記画像の範囲の設定を受け付け、
設定された範囲内の前記画像から個別に前記第2領域を抽出し、
前記第2領域の3次元形状を特定し、
前記第2領域の3次元形状を前記表示部に表示する、
請求項1又は2に記載の画像処理装置。
(【請求項11】以降は省略されています)
発明の詳細な説明
【技術分野】
【0001】
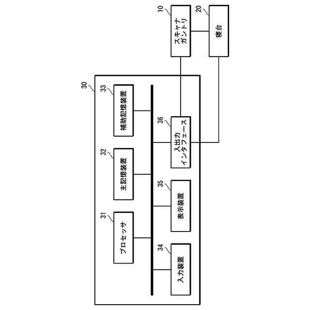
本発明は、画像処理装置、方法及びプログラムに係り、特に実効原子番号の計測が可能なX線コンピュータ断層撮影(Computed Tomography)装置(X線CT装置)で得られる画像を処理する画像処理装置、方法及びプログラムに関する。
続きを表示(約 1,000 文字)
【背景技術】
【0002】
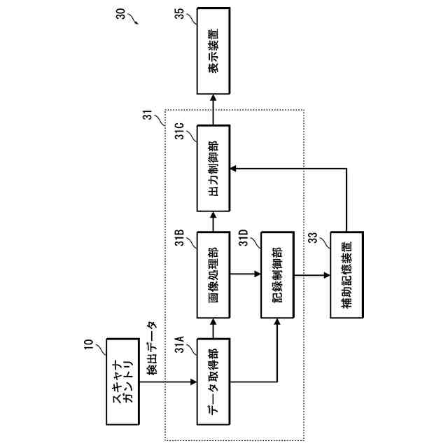
特許文献1には、X線CT装置によって取得された画像から肺結節候補を特定し、その形状等を求める技術が記載されている。
【先行技術文献】
【特許文献】
【0003】
特開2012-147930号公報
【発明の概要】
【発明が解決しようとする課題】
【0004】
尿管結石等、結石を生じる疾患では、結石の成分によって、その治療法及び予防法等が分かれる。しかしながら、特許文献1に記載の技術では、注目する組織に対し、その形状等を成分ごとに解析することはできない。
【0005】
本開示の技術に係る1つの実施形態は、注目する組織を成分ごとに解析できる画像処理装置、方法及びプログラムを提供する。
【課題を解決するための手段】
【0006】
(1)実効原子番号の計測が可能なX線コンピュータ断層撮影装置で得られる画像を処理する画像処理装置であって、プロセッサを備え、プロセッサは、X線コンピュータ断層撮影装置で得られる複数の画像のうちの少なくとも1つを表示部に表示し、表示部に表示された画像上で第1領域の設定を受け付け、解析対象とする実効原子番号の設定を受け付け、第1領域内で実効原子番号の成分を含む画素を抽出して、第1領域内で実効原子番号の成分を含む第2領域を抽出し、第2領域の形状を特定し、第2領域の形状を表示部に表示する、画像処理装置。
【0007】
(2)プロセッサは、第2領域の大きさを計測し、第2領域の形状及び大きさを表示部に表示する、(1)に記載の画像処理装置。
【0008】
(3)プロセッサは、解析対象とする実効原子番号の範囲の設定を受け付ける、(1)又は(2)に記載の画像処理装置。
【0009】
(4)プロセッサは、基準とする実効原子番号の値、及び、値を基準とする範囲の設定を受け付けて、解析対象とする実効原子番号の範囲の設定を受け付ける、(3)に記載の画像処理装置。
【0010】
(5)プロセッサは、特定の成分に対応する実効原子番号として、あらかじめ登録された実効原子番号を表示部に表示し、表示部に表示された実効原子番号の中から選択を受け付けて、解析対象とする実効原子番号の設定を受け付ける、(1)から(4)のいずれか1つに記載の画像処理装置。
(【0011】以降は省略されています)
この特許をJ-PlatPat(特許庁公式サイト)で参照する
関連特許
富士フイルム株式会社
内視鏡
3日前
富士フイルム株式会社
レンズ装置
6日前
富士フイルム株式会社
超音波探触子
4日前
富士フイルム株式会社
超音波探触子
4日前
富士フイルム株式会社
超音波診断器
2日前
富士フイルム株式会社
超音波診断装置
2日前
富士フイルム株式会社
超音波診断装置
6日前
富士フイルム株式会社
超音波診断装置
2日前
富士フイルム株式会社
超音波診断装置
2日前
富士フイルム株式会社
超音波診断装置
2日前
富士フイルム株式会社
医療機器用カート
3日前
富士フイルム株式会社
ゼリーボトルハンガ
4日前
富士フイルム株式会社
配線基板の製造方法
6日前
富士フイルム株式会社
医療用X線測定装置
6日前
富士フイルム株式会社
洗浄消毒装置及び蓋部
9日前
富士フイルム株式会社
X線管およびX線検査装置
3日前
富士フイルム株式会社
ズームレンズおよび撮像装置
6日前
富士フイルム株式会社
組成物、硬化物および光学部材
2日前
富士フイルム株式会社
超音波診断装置の手押しハンドル
4日前
富士フイルム株式会社
磁気共鳴撮像装置及び画像処理方法
4日前
富士フイルム株式会社
情報処理装置、方法およびプログラム
6日前
富士フイルム株式会社
画像処理装置、方法およびプログラム
2日前
富士フイルム株式会社
情報処理装置、及び情報処理プログラム
4日前
富士フイルム株式会社
情報処理装置、及び情報処理プログラム
4日前
富士フイルム株式会社
情報処理装置、及び情報処理プログラム
4日前
富士フイルム株式会社
情報処理装置、及び情報処理プログラム
3日前
富士フイルム株式会社
支援装置、支援方法、及び支援プログラム
2日前
富士フイルム株式会社
磁気共鳴撮像装置及び中心周波数の補正方法
2日前
富士フイルム株式会社
超音波診断装置用カートおよび超音波診断ユニット
3日前
富士フイルム株式会社
超音波診断装置用カートおよび超音波診断ユニット
2日前
富士フイルム株式会社
超音波診断装置用カートおよび超音波診断ユニット
2日前
富士フイルム株式会社
画像処理装置、画像処理方法、及び画像処理プログラム
2日前
富士フイルム株式会社
画像処理装置、画像処理方法、及び画像処理プログラム
2日前
富士フイルム株式会社
インクジェット記録方法、メラミン化粧板の製造方法、及びメラミン化粧板
2日前
富士フイルム株式会社
画像処理装置、方法およびプログラム、並びに学習装置、方法およびプログラム
2日前
富士フイルム株式会社
焦点制御装置、焦点制御装置の作動方法、焦点制御装置の作動プログラム、並びに撮像装置
4日前
続きを見る
他の特許を見る