TOP
|
特許
|
意匠
|
商標
特許ウォッチ
Twitter
他の特許を見る
10個以上の画像は省略されています。
公開番号
2025114230
公報種別
公開特許公報(A)
公開日
2025-08-05
出願番号
2024008800
出願日
2024-01-24
発明の名称
作業板の取付治具、作業板の設置方法及び作業板の安全設備
出願人
清水建設株式会社
,
高柳板金株式会社
代理人
個人
,
個人
,
個人
主分類
E04D
15/04 20060101AFI20250729BHJP(建築物)
要約
【課題】作業板を容易に設置することができる作業板の取付治具、作業板の設置方法及び作業板の安全設備を提供する。
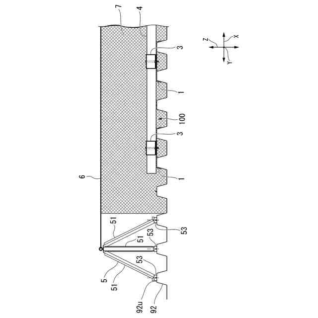
【解決手段】作業板の取付治具100は、既設屋根材92の上方に設置されるベース本体部10を有するベース部材1と、ベース本体部10に設けられ、ベース本体部10の上面11uに配置される作業板4をベース本体部10との間で挟み込む挟持部材3と、貫通孔に挿通されたビス97が挿通されるワッシャー2と、を備え、ベース本体部10には、既設屋根材92を固定するビス97が挿通可能な貫通孔が形成されている。
【選択図】図1
特許請求の範囲
【請求項1】
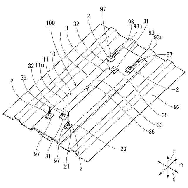
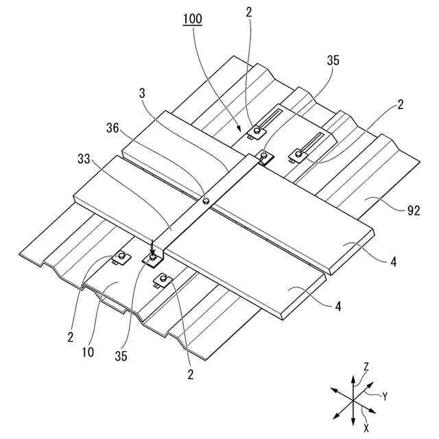
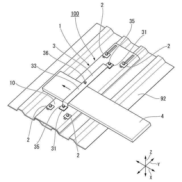
既設屋根材の上方に設置されるベース本体部を有するベース部材と、
前記ベース本体部に設けられ、前記ベース本体部の上面に配置される作業板を前記ベース本体部との間で挟み込む挟持部材と、を備える作業板の取付治具。
続きを表示(約 990 文字)
【請求項2】
前記ベース本体部には、前記既設屋根材を固定するビスが挿通可能な貫通孔が形成され、
前記貫通孔に挿通された前記ビスが挿通されるワッシャーを備える請求項1に記載の作業板の取付治具。
【請求項3】
前記挟持部材は、
前記ベース本体部に固定される固定板部と、
前記固定板部から上方に延びる折曲板部と、
前記折曲板部に設けられ、前記作業板を上方から押圧する挟持板部と、を有する請求項1または2に記載の作業板の取付治具。
【請求項4】
前記固定板部は、前記ベース本体部に着脱可能に固定される請求項3に記載の作業板の取付治具。
【請求項5】
前記ワッシャーは、
前記ベース本体部の上面に沿って配置されるワッシャー本体部と、
前記ワッシャー本体部の縁部から中央部に向かって形成され、前記ビスが挿通可能な凹溝と、を有する請求項2に記載の作業板の取付治具。
【請求項6】
請求項1または2に記載の作業板の取付治具を使用して、前記作業板を設置する作業板の設置方法であって、
前記ベース部材を前記既設屋根材の上面に沿って設置するベース部材設置工程と、
前記作業板を前記挟持部材と前記ベース本体部との間に挟み込みように設置する作業板設置工程と、を備える作業板の設置方法。
【請求項7】
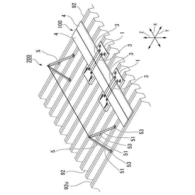
既設屋根材の上面に第1方向に間隔を空けて設置される2台の支柱と、
前記2台の支柱に架設される親綱と、
前記既設屋根材の上面に沿って、前記第1方向と交差し水平方向に沿う第2方向の一方側に設置される請求項1または2に記載の作業板の取付治具と、
前記挟持部材と前記ベース本体部との間に挟み込みように設置される作業板と、を備え、
前記支柱は同一形状かつ同一寸法の一組三本の脚体が三脚状に組み合わせられて、前記脚体の上端部どうしが相対回転可能かつ分解可能な状態で連結可能とされ、
前記脚体の下端部が前記既設屋根材に固定金具を介して着脱可能に連結される作業板の安全設備。
【請求項8】
前記親綱に支持されるとともに、前記2台の支柱の間に展開された落下防止用ネットと、を備える請求項7に記載の作業板の安全設備。
発明の詳細な説明
【技術分野】
【0001】
本発明は、作業板の取付治具、作業板の設置方法及び作業板の安全設備に関するものである。
続きを表示(約 1,200 文字)
【背景技術】
【0002】
従来から、下記の特許文献1に開示されているような折板屋根が知られている。折板屋根を含む屋根の改修工事で、既設屋根の上側に通路となる作業板を設置することがある。
【先行技術文献】
【特許文献】
【0003】
特開平9-125608号公報
【発明の概要】
【発明が解決しようとする課題】
【0004】
しかしながら、作業板を既設屋根に固定するためには、単管ベース、単管、クランプ等の部材を用いて作業板を作成するが、屋根上で部材を運搬する際には、横移動が多く、非常に手間がかかるという問題点がある。ストレート屋根の上側に作業板を設置する際には、屋根材を固定するビスを一度外して単管ベースを固定するため、ビスの紛失やビスの破損が生じるという問題点がある。
【0005】
そこで、本発明は、上記事情に鑑みてなされたものであり、作業板を容易に設置することができる作業板の取付治具、作業板の設置方法及び作業板の安全設備を提供する。
【課題を解決するための手段】
【0006】
上記目的を達成するために、本発明は以下の手段を採用している。
本発明に係る作業板の取付治具は、既設屋根材の上方に設置されるベース本体部を有するベース部材と、前記ベース本体部に設けられ、前記ベース本体部の上面に配置される作業板を前記ベース本体部との間で挟み込む挟持部材と、を備える。
【0007】
このように構成された作業板の取付治具では、ベース本体部を既設屋根材の上面に設置する。ベース本体部の上面と挟持部材との間に作業板を挟み込むことで、作業板がベース本体部の上面に沿って設置される。単管ベース、単管、クランプ等の部材を使用する必要がない。よって、作業板の取付治具を使用することで、作業板を容易に設置することができる。
【0008】
また、本発明に係る作業板の取付治具では、前記ベース本体部には、前記既設屋根材を固定するビスが挿通可能な貫通孔が形成され、前記貫通孔に挿通された前記ビスが挿通されるワッシャーを備えていてもよい。
【0009】
このように構成された作業板の取付治具では、ベース本体部に形成された貫通孔に、既設屋根材を固定しているビスを挿通させる。ビスを緩めてワッシャーを挿通させて、ビスを螺合することで、ベース部材が既設屋根材の上側に設置される。既設屋根材が固定されているビスを使用するため他のビスを必要としない。よって、作業板の取付治具を使用することで、作業板を容易に設置することができる。
【0010】
また、本発明に係る作業板の取付治具では、前記挟持部材は、前記ベース本体部に固定される固定板部と、前記固定板部から上方に延びる折曲板部と、前記折曲板部に設けられ、前記作業板を上方から押圧する挟持板部と、を有していてもよい。
(【0011】以降は省略されています)
この特許をJ-PlatPat(特許庁公式サイト)で参照する
関連特許
清水建設株式会社
制振装置
2か月前
清水建設株式会社
配筋装置
7日前
清水建設株式会社
外壁構造
24日前
清水建設株式会社
化粧カバー
6日前
清水建設株式会社
鉄筋把持装置
7日前
清水建設株式会社
情報処理装置
13日前
清水建設株式会社
塔体の切断装置
2か月前
清水建設株式会社
製炭炉、製炭方法
6日前
清水建設株式会社
配筋高さ調整機構
7日前
清水建設株式会社
導電線の回収方法
1か月前
清水建設株式会社
汚染拡散防止構造
1か月前
清水建設株式会社
配筋の千鳥調整機構
7日前
清水建設株式会社
加熱井戸の設置方法
1か月前
清水建設株式会社
ロボット制御システム
2か月前
清水建設株式会社
コンクリートの施工方法
14日前
清水建設株式会社
建築部材および空調システム
3日前
清水建設株式会社
放射線遮蔽構造およびその施工方法
1か月前
清水建設株式会社
ソイルセメントおよびその製造方法
1か月前
清水建設株式会社
再エネ制御システム、再エネ制御方法
1か月前
清水建設株式会社
ケーソンの施工方法および施工補助装置
1日前
清水建設株式会社
低透水層の施工方法および低透水層構造
14日前
清水建設株式会社
木質耐火被覆鉄骨部材およびその施工方法
15日前
清水建設株式会社
角部用タブおよび四面ボックスの溶接方法
1か月前
清水建設株式会社
ズレ算出装置、施工方法及びズレ算出方法
1か月前
清水建設株式会社
事業継続支援装置及び事業継続支援システム
2か月前
清水建設株式会社
出力精度確認システム及び出力精度確認方法
1か月前
清水建設株式会社
ガス回収装置、ビル空調システム、ガス回収方法
24日前
清水建設株式会社
床版割付装置、床版割付方法、およびプログラム
1か月前
公益財団法人鉄道総合技術研究所
樹脂吹付け方法
13日前
清水建設株式会社
トンネル防水シートの施工管理装置及び施工管理方法
29日前
清水建設株式会社
病院
2か月前
清水建設株式会社
地形計測装置、地形計測システム、及び地形計測方法
3日前
清水建設株式会社
情報処理システム、情報処理方法、およびプログラム
1か月前
清水建設株式会社
情報処理システム、情報処理方法、およびプログラム
1か月前
清水建設株式会社
土壌資材、土壌資材の設計方法および土壌資材の製造方法
3日前
清水建設株式会社
作業板の取付治具、作業板の設置方法及び作業板の安全設備
1か月前
続きを見る
他の特許を見る