TOP
|
特許
|
意匠
|
商標
特許ウォッチ
Twitter
他の特許を見る
10個以上の画像は省略されています。
公開番号
2025139053
公報種別
公開特許公報(A)
公開日
2025-09-26
出願番号
2024037776
出願日
2024-03-12
発明の名称
デッキボード
出願人
トヨタ紡織株式会社
代理人
弁理士法人暁合同特許事務所
主分類
B60N
2/22 20060101AFI20250918BHJP(車両一般)
要約
【課題】前方の座席に影響を及ぼすことなく、後部座席の前後方向の空間を簡単に広げることを可能とするデッキボードを提供する。
【解決手段】シートクッション14と、後方にスライド移動可能なシートバック15と、を備える乗物用シート13の後方に設けられたデッキボード20であって、シートバック15より下方に配されるとともに、シートバック15が後方位置とされた際に、シートクッション14とシートバック15との間に形成される隙間を塞ぐ位置まで延びており、隙間から露出する露出部に、開口22と、開口22を塞ぐ蓋部25とが設けられ、蓋部25は、第1面26Aが上面となるように開口22を塞いだ状態において、第1面26Aが床面20Aと面一に配され、第2面27Aが上面となるように開口22を塞いだ状態において、第2面27Aが床面20Aより高い位置に配される。
【選択図】図3
特許請求の範囲
【請求項1】
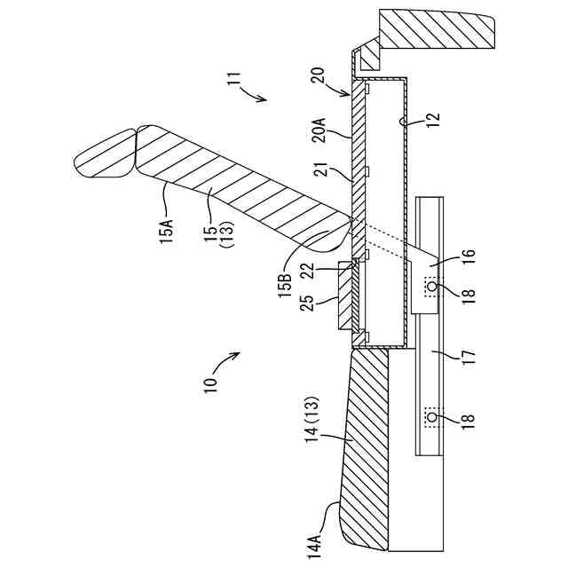
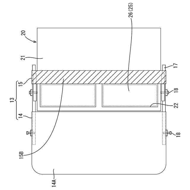
座面を有するシートクッションと、前記シートクッションに対して後方にスライド移動可能な背もたれ面を有するシートバックと、を備える乗物用シートの後方に設けられた荷室内において、前記荷室の床面を構成するデッキボードであって、
当該デッキボードは、
前記シートバックより下方に配されるとともに、前記シートバックが前記シートクッションに対して後方に離隔した後方位置とされた際に、前記シートクッションと前記シートバックとの間に形成される隙間を塞ぐ位置まで延びており、
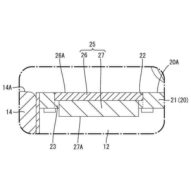
前記シートバックが前記後方位置に配された状態において前記シートクッションと前記シートバックとの間に露出する露出部に、開口と、前記開口を塞ぐ蓋部とが設けられ、
前記蓋部は、第1面が上面となるように前記開口を塞いだ状態において、前記第1面が前記床面と面一に配され、前記蓋部を上下反転させて前記第1面の反対側の第2面が上面となるように前記開口を塞いだ状態において、前記第2面が前記床面より高い位置に配されるデッキボード。
続きを表示(約 170 文字)
【請求項2】
前記蓋部は、前記第1面が前記床面を構成する材料により構成され、前記第2面がクッション材により構成されている請求項1に記載のデッキボード。
【請求項3】
当該デッキボードの下方に収納空間が設けられており、前記開口は、当該デッキボードの板面を貫通する貫通孔である請求項1または請求項2に記載のデッキボード。
発明の詳細な説明
【技術分野】
【0001】
本明細書に開示される技術は、デッキボードに関する。
続きを表示(約 1,700 文字)
【背景技術】
【0002】
従来から、ワンボックスカー等、客室と客室の後方に設けられた荷室とが一体の空間を形成している車両において、必要に応じて多彩な車室内アレンジを行うことが可能な構成が提案されている。例えば特許文献1には、車幅方向に並んで配される3つのシートのレイアウトを、中央シートが両側部シートよりも後ろ側に位置するV字レイアウトとすることで、乗員が車幅方向の空間をゆったりと使用することが可能な構成が開示されている。
【先行技術文献】
【特許文献】
【0003】
特開2005-297632号公報
【発明の概要】
【発明が解決しようとする課題】
【0004】
ところで、後部座席の後方には、一般的に荷室の床面を構成するデッキボードが配されるため、後部座席のシートは位置が固定されて前後方向にスライド移動不可とされている。このため、例えば、後部座席に着座している乗員が前後方向の空間を広げて使用したい場合、その前方に配されるシートを前方にスライド移動させるしかなかった。しかし、前方のシートを前方に移動させると、前方の座席に着座している乗員の前後方向の空間が狭くなるという問題があった。
【0005】
本明細書に開示される技術は上記のような事情に基づいて完成されたものであって、前方の座席に影響を及ぼすことなく、後部座席の前後方向の空間を簡単に広げることを可能とするデッキボードを提供することを目的とする。
【課題を解決するための手段】
【0006】
上記課題を解決するために完成された本明細書に開示される技術は、座面を有するシートクッションと、前記シートクッションに対して後方にスライド移動可能な背もたれ面を有するシートバックと、を備える乗物用シートの後方に設けられた荷室内において、前記荷室の床面を構成するデッキボードであって、当該デッキボードは、前記シートバックより下方に配されるとともに、前記シートバックが前記シートクッションに対して後方に離隔した後方位置とされた際に、前記シートクッションと前記シートバックとの間に形成される隙間を塞ぐ位置まで延びており、前記シートバックが前記後方位置に配された状態において前記シートクッションと前記シートバックとの間に露出する露出部に、開口と、前記開口を塞ぐ蓋部とが設けられ、前記蓋部は、第1面が上面となるように前記開口を塞いだ状態において、前記第1面が前記床面と面一に配され、前記蓋部を上下反転させて前記第1面の反対側の第2面が上面となるように前記開口を塞いだ状態において、前記第2面が前記床面より高い位置に配される。
【0007】
上記構成によれば、荷室の前方に配される乗物用シートに着座している乗員が前後方向の空間を広げて使用したい場合、シートバックを後方に移動させた後方位置とし、シートクッションとシートバックとの間に露出した蓋部を上下反転させるだけで、その前方に配された座席に影響を及ぼすことなく、乗物用シートをシートクッションを広げる形で使用することが可能となる。またこの時、蓋部の第2面は荷室の床面より高い位置に配されるから、シートクッションとシートバックとの間(露出部)が凹んだ状態となり難く、乗物用シートに快適に着座することが可能である。
【0008】
前記蓋部は、前記第1面が前記床面を構成する材料により構成され、前記第2面がクッション材により構成されていてもよい。
【0009】
上記構成によれば、シートバックがシートクッションに近接し、デッキボードを広い状態で使用する際には、蓋部の第1面は荷室の床面(デッキボードの上面)と同じ状態とされ、見栄えが良い。また、シートバックが後方位置とされ、露出部において蓋部の第2面が上面とされて乗員が第2面に着座する際には、第2面は柔らかいクッション材により構成されているから、座り心地を向上させることができる。
【0010】
当該デッキボードの下方に収納空間が設けられており、前記開口は、当該デッキボードの板面を貫通する貫通孔であってもよい。
(【0011】以降は省略されています)
この特許をJ-PlatPat(特許庁公式サイト)で参照する
関連特許
個人
カーテント
4か月前
個人
タイヤレバー
2か月前
個人
車窓用防虫網戸
5か月前
個人
前輪キャスター
1か月前
個人
上部一体型自動車
7日前
個人
タイヤ脱落防止構造
1か月前
個人
ホイルのボルト締結
3か月前
個人
車輪清掃装置
4か月前
個人
ルーフ付きトライク
2か月前
日本精機株式会社
表示装置
2か月前
井関農機株式会社
作業車両
4か月前
個人
車両通過構造物
2か月前
日本精機株式会社
表示装置
1か月前
個人
マスタシリンダ
14日前
日本精機株式会社
表示装置
2か月前
個人
キャンピングトライク
3か月前
井関農機株式会社
作業車両
4か月前
日本精機株式会社
表示装置
2か月前
個人
アクセルのソフトウェア
3か月前
個人
ワイパーゴム性能保持具
4か月前
個人
キャンピングトレーラー
3か月前
個人
車両用スリップ防止装置
3か月前
個人
乗合路線バスの客室装置
2か月前
日本精機株式会社
車載表示装置
22日前
日本精機株式会社
画像投映装置
3日前
個人
車載小物入れ兼雨傘収納具
3か月前
株式会社クラベ
ヒータユニット
4か月前
日本精機株式会社
車載表示装置
3か月前
井関農機株式会社
収穫作業車両
4か月前
個人
円湾曲ホイール及び球体輪
2か月前
株式会社ニフコ
収納装置
1か月前
株式会社ニフコ
照明装置
1か月前
個人
音声ガイド、音声サービス
2か月前
株式会社豊田自動織機
産業車両
2か月前
株式会社ニフコ
保持装置
3か月前
日本精機株式会社
車室演出装置
1か月前
続きを見る
他の特許を見る