TOP
|
特許
|
意匠
|
商標
特許ウォッチ
Twitter
他の特許を見る
10個以上の画像は省略されています。
公開番号
2025139215
公報種別
公開特許公報(A)
公開日
2025-09-26
出願番号
2024038029
出願日
2024-03-12
発明の名称
除雪車用の支援システム
出願人
株式会社ジェイテクト
代理人
弁理士法人あいち国際特許事務所
主分類
G08G
1/16 20060101AFI20250918BHJP(信号)
要約
【課題】積雪時において、簡易な方法により障害物を乗員に報知可能な除雪車用の支援システムを提供する。
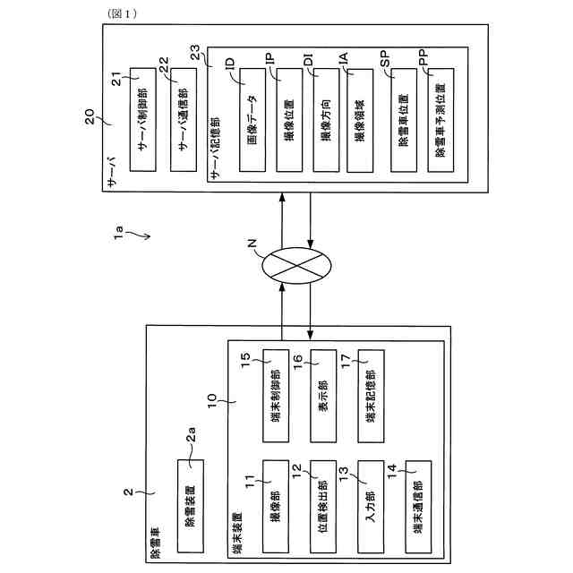
【解決手段】除雪車2の除雪作業を支援する除雪車2用の支援システム1aであって、雪が積もっていない状態で撮像された画像データIDと、画像データIDを撮像した撮像位置IPと、画像データIDを撮像した撮像方向DIと、を相互に関連付けて記憶するサーバ記憶部23と、除雪車2に搭載されて画像データIDを表示する表示部16と、除雪車2に搭載されて除雪車2の位置に関する除雪車位置SPを検出する位置検出部12と、除雪車位置SPと、撮像位置IPと、撮像方向DIと、に基づいて、除雪車2の進行方向ADである除雪車2の進行方向ADに応じて、画像データIDのうち、除雪車2の乗員が視認可能な方向から撮像された画像データIDを表示部16に表示させるサーバ制御部21と、を備えた除雪車2用の支援システム1a。
【選択図】図1
特許請求の範囲
【請求項1】
除雪車の除雪作業を支援する除雪車用の支援システムであって、
雪が積もっていない状態で撮像された画像データと、前記画像データを撮像した撮像位置と、前記画像データを撮像した撮像方向と、を相互に関連付けて記憶する記憶部と、
前記除雪車に搭載されて前記画像データを表示する表示部と、
前記除雪車に搭載されて前記除雪車の位置に関する除雪車位置を検出する位置検出部と、
前記除雪車位置と、前記撮像位置と、前記撮像方向と、に基づいて、前記除雪車の進行方向に応じて、前記画像データのうち、前記除雪車の乗員が視認可能な方向から撮像された表示画像データを前記表示部に表示させる制御部と、を備えた除雪車用の支援システム。
続きを表示(約 1,400 文字)
【請求項2】
前記制御部は、
前記表示画像データとして、前記画像データから、前記除雪車の進行方向とのなす角度が所定の角度以下である前記撮像方向である選択画像データを選択し、
前記選択画像データから、前記表示画像データを選択する、請求項1に記載の除雪車用の支援システム。
【請求項3】
前記制御部は、
前記除雪車位置に基づいて前記除雪車について除雪車の進行速度および前記除雪車の前記進行方向を算出し、
前記除雪車位置、前記除雪車の前記進行速度、および前記除雪車の前記進行方向に基づいて、所定の時間経過後に前記除雪車が位置していると予測される除雪車予測位置を算出し、
前記撮像位置、前記除雪車予測位置、前記撮像方向、および前記除雪車の前記進行方向に基づいて、前記撮像位置で撮像された前記表示画像データを前記表示部に表示させる、請求項1または2に記載の除雪車用の支援システム。
【請求項4】
前記制御部は、
前記撮像位置に基づいて、前記撮像位置から所定の距離内の領域である撮像領域を算出し、
前記除雪車予測位置が前記撮像領域内に入ったことを条件として、前記撮像位置で撮像された前記表示画像データを前記表示部に表示させる、請求項3に記載の除雪車用の支援システム。
【請求項5】
前記制御部は、
前記除雪車予測位置と、前記除雪車の前記進行方向と、に基づいて、前記除雪車予測位置から所定の距離内の領域である除雪車予測領域を生成し、
前記除雪車予測領域内に、前記撮像位置が入ったことを条件として、前記撮像位置で撮像された前記表示画像データを前記表示部に表示させる、請求項3に記載の除雪車用の支援システム。
【請求項6】
前記制御部は、
前記撮像位置に基づいて、前記撮像位置から所定の距離内の領域である撮像領域を算出し、
前記除雪車予測位置と、前記除雪車の前記進行方向と、に基づいて、前記除雪車予測位置から所定の距離内の領域である除雪車予測領域を生成し、
前記撮像領域と、前記除雪車予測領域と、が重なることを条件として、前記撮像位置で撮像された前記表示画像データを前記表示部に表示させる、請求項3に記載の除雪車用の支援システム。
【請求項7】
前記制御部は、
新規に撮像された新規画像データを取得する場合に、前記新規画像データに関する新規撮像位置および新規撮像方向を取得し、
前記記憶部に既に記憶された過去画像データの過去撮像位置および過去撮像方向と、前記新規画像データの前記新規撮像位置および前記新規撮像方向と、を比較し、
前記新規撮像位置と前記過去撮像位置とが同じであり、且つ、前記新規撮像方向と前記過去撮像方向とが同じである場合に、前記過去画像データを消去し、前記新規画像データを前記記憶部に記憶させる、請求項1に記載の除雪車用の支援システム。
【請求項8】
前記制御部は、
複数の前記画像データが前記表示部に表示可能であると判断した場合に、前記表示部に表示可能と判断した複数の前記画像データのうち、最新の画像データを前記表示部に表示させる、請求項1に記載の除雪車用の支援システム。
【請求項9】
さらに、
前記画像データを撮像する撮像部を備える、請求項1に記載の除雪車用の支援システム。
発明の詳細な説明
【技術分野】
【0001】
本発明は、除雪車用の支援システムに関する。
続きを表示(約 1,300 文字)
【背景技術】
【0002】
特許文献1には、自動運転に係る作業車両の周囲を撮像装置で撮像し、障害物を検出した場合に、障害物との接触回避を、余裕をもって適切に行えるようにする技術が開示されている。
【0003】
特許文献2には、除雪車による除雪作業のための安全支援システムについて記載されている。この安全支援システムにおいては、積雪前に動画を撮影しておき、障害物の位置を予め登録し、さらに、アラート画像を予め設定する。除雪作業時は、除雪車の走行位置とシンクロさせた動画を表示し、予め位置を設定した障害物に接近したら、アラート画面を表示する。
【先行技術文献】
【特許文献】
【0004】
特開2023-63476号公報
実用新案登録第3240207号公報
【発明の概要】
【発明が解決しようとする課題】
【0005】
しかしながら、特許文献1は、積雪後は、雪によって障害物が覆われてしまうので、障害物を撮像することができず、作業の安全を図ることができない。
【0006】
また、特許文献2は、動画を撮影するので、動画ファイルの容量が大きくなってしまうという問題がある。さらに、障害物の位置を予め登録しておくので、手間がかかる。また、アラート画面も予め設定するので、より一層手間がかかる。
【0007】
本発明は、かかる課題に鑑みてなされたものであり、積雪時において、簡易な方法により障害物を乗員に報知可能な除雪車用の支援システムを提供しようとするものである。
【課題を解決するための手段】
【0008】
本発明の一態様は、
除雪車の除雪作業を支援する除雪車用の支援システムであって、
雪が積もっていない状態で撮像された画像データと、前記画像データを撮像した撮像位置と、前記画像データを撮像した撮像方向と、を相互に関連付けて記憶する記憶部と、
前記除雪車に搭載されて前記画像データを表示する表示部と、
前記除雪車に搭載されて前記除雪車の位置に関する除雪車位置を検出する位置検出部と、
前記除雪車位置と、前記撮像位置と、前記撮像方向と、に基づいて、前記除雪車の進行方向に応じて、前記画像データのうち、前記除雪車の乗員が視認可能な方向から撮像された表示画像データを前記表示部に表示させる制御部と、を備えた除雪車用の支援システムにある。
【発明の効果】
【0009】
本発明の一態様によれば、表示部には画像データが表示されるので、動画が表示される場合に比べて、必要とされる容量を小さくすることができる。
【0010】
また、本発明の一態様によれば、位置検出部により撮像位置を検出することができるので、障害物の位置情報を撮影後に登録する手間を省くことができる。これにより、簡易な手法により、積雪前の障害物の画像を表示させることができる。
【図面の簡単な説明】
(【0011】以降は省略されています)
この特許をJ-PlatPat(特許庁公式サイト)で参照する
関連特許
日本精機株式会社
警報システム
1か月前
個人
自動電動車椅子
16日前
エムケー精工株式会社
車両誘導装置
1か月前
スズキ株式会社
運転支援装置
1か月前
ニッタン株式会社
検知器
24日前
ニッタン株式会社
発信機
2か月前
ニッタン株式会社
検知器
2日前
ニッタン株式会社
発信機
1か月前
ニッタン株式会社
検知器
26日前
株式会社国際電気
防災システム
1か月前
個人
磁気路上での車両の路線離脱防御
5日前
ニッタン株式会社
発信機
2か月前
ニッタン株式会社
検知器
24日前
トヨタ自動車株式会社
車両
1か月前
株式会社SUBARU
運転支援装置
3日前
株式会社JVCケンウッド
警報装置
2か月前
日本信号株式会社
信号情報システム
2か月前
株式会社小糸製作所
移動体検出装置
26日前
日本信号株式会社
情報提供システム
2か月前
トヨタ自動車株式会社
サーバ
9日前
個人
乗り物の移動を支援する方法及び装置
2か月前
大阪瓦斯株式会社
音声出力システム
1日前
日本信号株式会社
異常走行検出装置
9日前
株式会社CCT
通信装置及び表示方法
2日前
株式会社小糸製作所
車両検出システム
26日前
日本精機株式会社
報知装置及び報知システム
15日前
三菱自動車工業株式会社
制御システム
1日前
トヨタ自動車株式会社
回避動作判別装置
2か月前
個人
現示内容に関する情報放送機能付き信号機
2か月前
能美防災株式会社
火災感知器
29日前
日本信号株式会社
交通信号制御システム
2か月前
本田技研工業株式会社
運転評価装置
2か月前
ホーチキ株式会社
火災検出システム
2か月前
ヨシモトポール株式会社
接近報知システム
29日前
本田技研工業株式会社
情報提供装置
1か月前
本田技研工業株式会社
情報提供装置
1か月前
続きを見る
他の特許を見る