TOP
|
特許
|
意匠
|
商標
特許ウォッチ
Twitter
他の特許を見る
公開番号
2025139312
公報種別
公開特許公報(A)
公開日
2025-09-26
出願番号
2024038169
出願日
2024-03-12
発明の名称
水素同位体分離システム
出願人
本田技研工業株式会社
代理人
個人
,
個人
,
個人
主分類
H01M
8/0656 20160101AFI20250918BHJP(基本的電気素子)
要約
【課題】構成の簡素化及び配置スペースの増大抑制を達成することができる水素同位体分離システムを提供する。
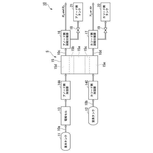
【解決手段】水素同位体分離システム10は、イオン交換膜15a、アノード15b及びカソード15cを有する燃料電池セル15を備える。水素同位体分離システム10は、アノード15bに軽水を含む重水を供給するアノード供給路10a、重水タンク11及びアノード側加湿器14Aと、カソード15cに軽水を含む不活性ガスを供給するカソード供給路10b、窒素タンク12及びカソード側加湿器14Cとを備える。水素同位体分離システム10は、燃料電池セル15のアノード15bの排出側に設けられるアノード側凝縮分離器16と、燃料電池セル15のカソード15cの排出側に設けられるカソード側凝縮分離器17と、冷媒回路30とを備える。冷媒回路30は、アノード側凝縮分離器16を冷却した後の冷媒によってカソード側凝縮分離器17を冷却する。
【選択図】図1
特許請求の範囲
【請求項1】
イオン交換膜と、前記イオン交換膜の厚さ方向の両側に設けられるアノード及びカソードとを有する燃料電池セルと、
前記アノードに向かって軽水を含む重水を供給する重水供給部と、
前記カソードに軽水を含む不活性ガスを供給する不活性ガス供給部と、
前記燃料電池セルの前記アノードの排出側に設けられるアノード側凝縮分離器と、
前記燃料電池セルの前記カソードの排出側に設けられるカソード側凝縮分離器と、
前記アノード側凝縮分離器及び前記カソード側凝縮分離器に冷媒を供給する冷媒回路と
を備え、
前記冷媒回路は、前記アノード側凝縮分離器を冷却した後の前記冷媒によって前記カソード側凝縮分離器を冷却する
水素同位体分離システム。
続きを表示(約 200 文字)
【請求項2】
前記冷媒を放熱させる冷媒冷却器を備え、
前記冷媒回路は、前記カソード側凝縮分離器を冷却した後の前記冷媒を前記冷媒冷却器によって放熱させる
請求項1に記載の水素同位体分離システム。
【請求項3】
前記冷媒回路は、前記アノード側凝縮分離器及び前記カソード側凝縮分離器を直列的に接続する
請求項1又は請求項2に記載の水素同位体分離システム。
発明の詳細な説明
【技術分野】
【0001】
本発明は、水素同位体分離システムに関する。
続きを表示(約 1,800 文字)
【背景技術】
【0002】
近年、より多くの人々が手ごろで信頼でき、持続可能かつ先進的なエネルギーへのアクセスを確保できるようにするため、エネルギーの効率化に貢献する燃料電池に関する研究開発が行われている。
従来、例えば、重水成分を含む原料水を、イオン交換膜及び触媒を有する電解セルによって分解し、二重水素及び三重水素の含有率の少ない水素及び酸素の各々を得るシステムが知られている(例えば、特許文献1及び特許文献2参照)。これらのシステムは、電解セルによって得られる水素及び酸素の各々を、アノード側及びカソード側の各凝縮分離器(冷却素子装置等)によって水分除去した後に、燃料電池に供給する。
【先行技術文献】
【特許文献】
【0003】
特開平11-11903号公報
特開2023-13534号公報
【発明の概要】
【発明が解決しようとする課題】
【0004】
ところで、燃料電池に関する技術においては、冷媒回路の構成が複雑になることを抑制することが望まれている。例えば、上記従来技術のように、アノード側及びカソード側の各々に凝縮分離器を備える場合、冷媒回路が複雑になるおそれがあり、冷媒回路の簡素化及び配置スペースの増大抑制が課題である。
【0005】
本願は上記課題の解決のため、構成の簡素化及び配置スペースの増大抑制の達成を目的とする。そして、延いてはエネルギーの効率化に寄与するものである。
【課題を解決するための手段】
【0006】
上記課題を解決して係る目的を達成するために、本発明は以下の態様を採用した。
(1):本発明の一態様に係る水素同位体分離システム(例えば、実施形態での水素同位体分離システム10)は、イオン交換膜(例えば、実施形態でのイオン交換膜15a)と、前記イオン交換膜の厚さ方向の両側に設けられるアノード(例えば、実施形態でのアノード15b)及びカソード(例えば、実施形態でのカソード15c)とを有する燃料電池セル(例えば、実施形態での燃料電池セル15)と、前記アノードに向かって軽水を含む重水を供給する重水供給部(例えば、実施形態でのアノード供給路10a、重水タンク11及びアノード側加湿器13)と、前記カソードに軽水を含む不活性ガスを供給する不活性ガス供給部(例えば、実施形態でのカソード供給路10b、窒素タンク12及びカソード側加湿器14)と、前記燃料電池セルの前記アノードの排出側に設けられるアノード側凝縮分離器(例えば、実施形態でのアノード側凝縮分離器16)と、前記燃料電池セルの前記カソードの排出側に設けられるカソード側凝縮分離器(例えば、実施形態でのカソード側凝縮分離器17)と、前記アノード側凝縮分離器及び前記カソード側凝縮分離器に冷媒を供給する冷媒回路(例えば、実施形態での冷媒回路30)とを備え、前記冷媒回路は、前記アノード側凝縮分離器を冷却した後の前記冷媒によって前記カソード側凝縮分離器を冷却する。
【0007】
(2):上記(1)に記載の水素同位体分離システムは、前記冷媒を放熱させる冷媒冷却器(例えば、実施形態での冷媒冷却器31)を備え、前記冷媒回路は、前記カソード側凝縮分離器を冷却した後の前記冷媒を前記冷媒冷却器によって放熱させてもよい。
【0008】
(3):上記(1)又は(2)に記載の水素同位体分離システムでは、前記冷媒回路は、前記アノード側凝縮分離器及び前記カソード側凝縮分離器を直列的に接続してもよい。
【発明の効果】
【0009】
上記(1)によれば、凝縮反応に必要とされる処理量及び熱量が相対的に大きいカソード側凝縮分離器の冷却に先立って、必要とされる処理量及び熱量がより小さなアノード側凝縮分離器を冷却することにより、冷媒回路が複雑になること及び配置スペースが増大することを抑制することができる。
【0010】
上記(2)の場合、例えばアノード側凝縮分離器を冷却した後の冷媒を冷媒冷却器によって放熱させる場合等に比べて、冷媒を適正に効率よく放熱させることができる。
(【0011】以降は省略されています)
この特許をJ-PlatPat(特許庁公式サイト)で参照する
関連特許
個人
フレキシブル電気化学素子
2日前
日本発條株式会社
積層体
13日前
株式会社ユーシン
操作装置
2日前
ローム株式会社
半導体装置
11日前
ローム株式会社
半導体装置
4日前
ローム株式会社
半導体装置
11日前
個人
防雪防塵カバー
13日前
ローム株式会社
半導体装置
9日前
ローム株式会社
半導体装置
11日前
株式会社GSユアサ
蓄電設備
2日前
株式会社GSユアサ
蓄電装置
13日前
太陽誘電株式会社
コイル部品
2日前
株式会社GSユアサ
蓄電装置
9日前
株式会社ホロン
冷陰極電子源
9日前
太陽誘電株式会社
全固体電池
9日前
株式会社GSユアサ
蓄電設備
2日前
個人
半導体パッケージ用ガラス基板
12日前
オムロン株式会社
電磁継電器
3日前
トヨタ自動車株式会社
バッテリ
3日前
サクサ株式会社
電池の固定構造
2日前
日東電工株式会社
積層体
3日前
トヨタ自動車株式会社
二次電池
13日前
トヨタ自動車株式会社
蓄電装置
2日前
TDK株式会社
電子部品
9日前
日本特殊陶業株式会社
保持装置
11日前
日本特殊陶業株式会社
保持装置
9日前
日本特殊陶業株式会社
保持装置
9日前
ローム株式会社
電子装置
13日前
日本特殊陶業株式会社
保持装置
13日前
ノリタケ株式会社
熱伝導シート
2日前
日本特殊陶業株式会社
電極
9日前
日本特殊陶業株式会社
電極
9日前
東レエンジニアリング株式会社
実装装置
9日前
日本特殊陶業株式会社
電極
9日前
ベストテック株式会社
装置支持具
2日前
日本製紙株式会社
導電性フィルム
3日前
続きを見る
他の特許を見る