TOP
|
特許
|
意匠
|
商標
特許ウォッチ
Twitter
他の特許を見る
公開番号
2025139426
公報種別
公開特許公報(A)
公開日
2025-09-26
出願番号
2024038346
出願日
2024-03-12
発明の名称
車両用シート
出願人
トヨタ車体株式会社
代理人
弁理士法人あいち国際特許事務所
主分類
B60N
2/30 20060101AFI20250918BHJP(車両一般)
要約
【課題】シート本体を跳ね上げた後のフロアの使用性に優れた車両用シートを提供する。
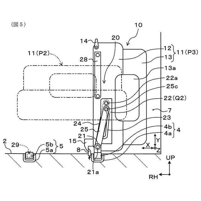
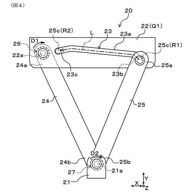
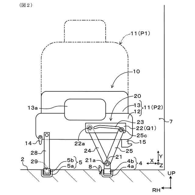
【解決手段】車両用シート10は、シート本体11と、前倒し状態P2のシート本体11を跳ね上げ状態に跳ね上げ可能に支持するシート支持部20と、を備え、シート支持部20は、フロア側部材21と、リンクアームガイド22と、第1リンクアーム24と、第2リンクアーム25と、を備え、第1リンクアーム24と第2リンクアーム25を第2リンクアーム25の被ガイド部25cがリンクアームガイド22の第2軸部22aに近づくようにフロア側部材21の第1軸部21aまわりに回動させるリンク動作を利用してシート本体11を前倒し状態から跳ね上げ状態まで姿勢変化させるように構成されている。
【選択図】図2
特許請求の範囲
【請求項1】
シートクッション部及びシートバック部を有するシート本体と、
前記シートクッション部に対して前記シートバック部が前倒しされた前倒し状態の前記シート本体を跳ね上げ状態に跳ね上げ可能に支持するシート支持部と、
を備え、
前記シート支持部は、
車長方向に延びる第1軸部を有するフロア側部材と、
前記シートクッション部と一体に設けられており車長方向に延びる第2軸部を有するリンクアームガイドと、
アーム下端部が前記フロア側部材に前記第1軸部まわりに回動可能に連結され、アーム上端部が前記リンクアームガイドに前記第2軸部まわりに回動可能に連結された第1リンクアームと、
アーム下端部が前記フロア側部材に前記第1軸部まわりに回動可能に連結され、アーム上端部に前記リンクアームガイドによってガイドされる被ガイド部を有する第2リンクアームと、
を備え、
前記第1リンクアームと前記第2リンクアームの少なくとも一方を前記被ガイド部が前記第2軸部に近づくように前記第1軸部まわりに回動させるリンク動作を利用して前記シート本体を前記前倒し状態から前記跳ね上げ状態まで姿勢変化させるように構成されている、車両用シート。
続きを表示(約 780 文字)
【請求項2】
前記シート支持部は、前記シート本体が前記前倒し状態にあるときを車高方向からみたとき、前記リンクアームガイドの前記第2軸部と前記第2リンクアームの前記被ガイド部との間に前記フロア側部材の前記第1軸部が位置するように構成されている、請求項1に記載の車両用シート。
【請求項3】
前記シート支持部は、前記第1リンクアームと前記リンクアームガイドの少なくとも一方を前記第2軸部まわりに互いに近づける回動方向に付勢する第1付勢部材と、前記前倒し状態の前記シート本体をフロアに対してロック解除可能にロックするロック機構部と、を備える、請求項1に記載の車両用シート。
【請求項4】
前記シート支持部は、前記第1リンクアームと前記第2リンクアームの少なくとも一方を前記第1軸部まわりに互いに近づける回動方向に付勢する第2付勢部材を備える、請求項3に記載の車両用シート。
【請求項5】
前記フロアには、車長方向に互いに平行に延びる外側シートレール及び内側シートレールが設けられ、前記外側シートレールに前記フロア側部材が取り付けられており、
前記シート支持部は、前記シート本体の前記シートクッション部に連結された連結軸部と、前記内側シートレールに前記ロック機構部を介して取り付けられる被取付軸部と、を有するシートレッグを備える、請求項3または4に記載の車両用シート。
【請求項6】
前記リンクアームガイドは、前記第2リンクアームの前記被ガイド部が係合するガイド溝を有し、前記ガイド溝は、前記シート本体が前記前倒し状態にあるとき前記第2軸部よりも車外側において車幅方向に沿って延びており、且つ、外側溝端部が折れ曲がるように設けられている、請求項1~4のいずれか一項に記載の車両用シート。
発明の詳細な説明
【技術分野】
【0001】
本発明は、車両用シートに関する。
続きを表示(約 2,300 文字)
【背景技術】
【0002】
従来の車両では、車室空間を広く使用するために、車両用シートを横倒しの姿勢に跳ね上げる構造が採用されている。例えば、下記特許文献1には、従来の車両用シートが開示されている。この車両用シートは、シートバック部がシートクッション部に対して前倒しされた状態のシート本体を横倒しの姿勢に跳ね上げ可能な横跳ね上げ機構を備えている。横跳ね上げ機構は、各々の両端部が架設部材及びシートクッション部に対してそれぞれシート前後方向の軸線回りに回転可能に連結された左右一対のリンクを有し、これら左右一対のリンクは架設部材の下面に固定された連結ブラケットに連結されている。
【先行技術文献】
【特許文献】
【0003】
特開2017-24435号公報
【発明の概要】
【発明が解決しようとする課題】
【0004】
上記構成の車両用シートにおいて、横跳ね上げ機構は一対のスライドレール間に架け渡された架設部材に取り付けられている。架設部材は、フロア側の左右のアッパーレールに固定されておりシート本体を横倒しの姿勢に跳ね上げた後においてもフロア側に残るが、左右に延びる長尺状の部材であるため、その後にフロアを車幅方向に広く使用したい場合の邪魔になる。したがって、シート本体を跳ね上げて車室空間を広く使用するという本来の目的を全うする妨げに成り得る。
【0005】
本発明は、かかる課題に鑑みてなされたものであり、シート本体を跳ね上げた後のフロアの使用性に優れた車両用シートを提供しようとするものである。
【課題を解決するための手段】
【0006】
本発明の一態様は、
シートクッション部及びシートバック部を有するシート本体と、
前記シートクッション部に対して前記シートバック部が前倒しされた前倒し状態の前記シート本体を跳ね上げ状態に跳ね上げ可能に支持するシート支持部と、
を備え、
前記シート支持部は、
車長方向に延びる第1軸部を有するフロア側部材と、
前記シートクッション部と一体に設けられており車長方向に延びる第2軸部を有するリンクアームガイドと、
アーム下端部が前記フロア側部材に前記第1軸部まわりに回動可能に連結され、アーム上端部が前記リンクアームガイドに前記第2軸部まわりに回動可能に連結された第1リンクアームと、
アーム下端部が前記フロア側部材に前記第1軸部まわりに回動可能に連結され、アーム上端部に前記リンクアームガイドによってガイドされる被ガイド部を有する第2リンクアームと、
を備え、
前記第1リンクアームと前記第2リンクアームの少なくとも一方を前記被ガイド部が前記第2軸部に近づくように前記第1軸部まわりに回動させるリンク動作を利用して前記シート本体を前記前倒し状態から前記跳ね上げ状態まで姿勢変化させるように構成されている、車両用シート、
にある。
【発明の効果】
【0007】
上述の態様の車両用シートのシート支持部は、シートクッション部に対してシートバック部が前倒しされた前倒し状態のシート本体を跳ね上げ状態に跳ね上げ可能に支持する機能を有する。このシート支持部において、リンクアームガイドは、シート本体のシートクッション部と一体である。第1リンクアームは、そのアーム下端部がフロア側部材の第1軸部まわりに回動可能であり、そのアーム上端部がリンクアームガイドの第2軸部まわりに回動可能である。第2リンクアームは、そのアーム下端部がフロア側部材の第1軸部まわりに回動可能であり、そのアーム上端部の被ガイド部がリンクアームガイドによってガイドされる。このシート支持部では、第1リンクアームと第2リンクアームの少なくとも一方を第2リンクアームの被ガイド部が第2軸部に近づくように第1軸部まわりに回動させるリンク動作を利用してシート本体を前倒し状態から跳ね上げ状態まで姿勢変化させるようになっている。
【0008】
本構成の車両用シートによれば、第1リンクアームと第2リンクアームのそれぞれのアーム下端部をフロア側部材において車長方向に延びる第1軸部に共通で連結することができる。このため、シート本体を前倒し状態から跳ね上げ状態まで姿勢変化させた後で、フロア上にフロア側部材のみが残るように構成できる。また、フロア側部材は車長方向に延びる第1軸部を少なくとも具備すれば良いため、このフロア側部材がフロア上に占める車幅方向の面積を極力小さく抑えることができる。したがって、シート本体を前倒し状態から跳ね上げ状態まで姿勢変化させた後で、フロアを車幅方向に広く使用したい場合の有効活用スペースを確保することが可能になる。
【0009】
以上のごとく、上述の態様によれば、シート本体を跳ね上げた後のフロアの使用性に優れた車両用シートを提供することが可能になる。
【図面の簡単な説明】
【0010】
車両におけるシート配置構造を示す平面図。
実施形態1の車両用シートについてシート本体が前倒し状態にある様子を車両前方からみた正面図。
図2の車両用シートのシート支持部を前斜め上方からみた斜視図。
図3のシート支持部のリンク機構を車両前方からみた正面図。
実施形態1の車両用シートについてシート本体が跳ね上げ状態にある様子を車両前方からみた正面図。
【発明を実施するための形態】
(【0011】以降は省略されています)
この特許をJ-PlatPat(特許庁公式サイト)で参照する
関連特許
個人
カーテント
4か月前
個人
タイヤレバー
2か月前
個人
前輪キャスター
1か月前
個人
車窓用防虫網戸
4か月前
個人
上部一体型自動車
3日前
個人
車輪清掃装置
4か月前
個人
ホイルのボルト締結
3か月前
個人
ルーフ付きトライク
1か月前
個人
タイヤ脱落防止構造
1か月前
日本精機株式会社
表示装置
2か月前
井関農機株式会社
作業車両
3か月前
個人
マスタシリンダ
10日前
井関農機株式会社
作業車両
3か月前
日本精機株式会社
表示装置
2か月前
個人
車両通過構造物
2か月前
個人
キャンピングトライク
3か月前
日本精機株式会社
表示装置
1か月前
日本精機株式会社
表示装置
2か月前
個人
ワイパーゴム性能保持具
4か月前
個人
アクセルのソフトウェア
3か月前
個人
車両用スリップ防止装置
3か月前
個人
乗合路線バスの客室装置
2か月前
個人
キャンピングトレーラー
3か月前
株式会社ニフコ
収納装置
27日前
個人
車載小物入れ兼雨傘収納具
3か月前
日本精機株式会社
車載表示装置
3か月前
株式会社ニフコ
保持装置
3か月前
日本精機株式会社
車室演出装置
1か月前
日本精機株式会社
車載表示装置
18日前
株式会社ニフコ
照明装置
1か月前
個人
円湾曲ホイール及び球体輪
2か月前
株式会社豊田自動織機
産業車両
2か月前
株式会社クラベ
ヒータユニット
4か月前
個人
音声ガイド、音声サービス
2か月前
井関農機株式会社
収穫作業車両
4か月前
日本精機株式会社
車両用投射装置
4日前
続きを見る
他の特許を見る