TOP
|
特許
|
意匠
|
商標
特許ウォッチ
Twitter
他の特許を見る
10個以上の画像は省略されています。
公開番号
2025139457
公報種別
公開特許公報(A)
公開日
2025-09-26
出願番号
2024038407
出願日
2024-03-12
発明の名称
サービス提供システム
出願人
セイコーソリューションズ株式会社
代理人
弁理士法人太陽国際特許事務所
主分類
G06Q
50/12 20120101AFI20250918BHJP(計算;計数)
要約
【課題】荷物受け渡しサービスを施設利用者の都合のよいタイミングで、宿泊施設側に依頼することで、宿泊施設側の管理不可を軽減し、かつ、施設利用者側の利便性を向上する。
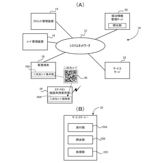
【解決手段】宿泊時サービスでは、施設利用者が客室に設置された客室端末に表示された二次元コード26を、スマートフォン24で読み取り、宿泊時サービスサイトへアクセスすることで、ルームサービスや荷物の集配サービスを受けることができる。特に、サービス提供システム10では、ホテル等の宿泊施設において、施設利用者が、宿泊に伴う荷物の集配を含む宿泊時サービスを提供する。すなわち、荷物の集配が集中するチェックイン、チェックアウトの時間帯と無関係で、施設利用者の個々のタイミングで、宿泊時サービスにアクセスして、荷物の集配を依頼することができる。これにより、宿泊施設側の管理負荷の軽減、及び、施設利用者側の利便性向上の両立を図ることができる。
【選択図】図3
特許請求の範囲
【請求項1】
宿泊施設における施設利用者に対して、少なくとも荷物の集配サービスを含む宿泊時サービスを提供するサイトを管理する情報処理装置と、前記施設利用者を特定可能な特定情報を有する管理装置と、を含むサービス提供システムであって、
前記管理装置は、
前記情報処理装置の通知に応じて、前記宿泊時サービスのサイトへのログイン要求者が、前記施設利用者と一致するか否かを前記特定情報を用いて照合する照合部を備え、
前記情報処理装置は、
前記施設利用者から前記サイトへログイン要求を受け付ける受付部と、
前記ログイン要求を受け付けた場合、前記照合部での照合要求を前記管理装置に対して通知する照会部と、
前記照合部での照合で一致と判定された場合に、前記ログイン要求者の、前記サイトへのアクセスを実行させる処理部と、
を有するサービス提供システム。
続きを表示(約 900 文字)
【請求項2】
前記照会部が、ログイン要求時に取得した部屋情報を前記照合要求に含めて前記管理装置へ通知することで、当該部屋情報に基づくチェックイン時の宿泊情報との照合を問い合わせ、
前記照合部が、前記照会部の問い合わせによる返信として、前記管理装置における前記照合の結果を前記情報処理装置へ通知する、請求項1記載のサービス提供システム。
【請求項3】
前記宿泊施設にチェックインした前記施設利用者に対して、前記サイトへのログイン要求のためのコード情報を生成する生成部を備える、請求項1記載のサービス提供システム。
【請求項4】
前記コード情報が、前記施設利用者が宿泊する部屋に設けられた端末装置に表示される、請求項3記載のサービス提供システム。
【請求項5】
前記処理部は、前記サイトへのアクセスが実行された場合にアクセス可能な保持時間を設定し、
前記照会部は、前記保持時間を超過した状態で前記受付部が前記サイトへのアクセスを受け付けた場合、前記照合部での照合要求を前記管理装置に対して通知し、
前記処理部は、前記照合部での照合で一致と判定された場合に、前記ログイン要求者の、前記サイトへのアクセスを再開させる、請求項1記載のサービス提供システム。
【請求項6】
前記管理装置は、前記施設利用者に関する情報および施設利用期間に関する情報を記憶し、
前記ログイン要求は、前記施設利用者に関する情報および施設利用期間に関する情報を含み、
前記照会部は、前記ログイン要求に含まれる前記施設利用者に関する情報および施設利用期間に関する情報を前記照合要求に含めて前記管理装置に送出する、請求項1記載のサービス提供システム。
【請求項7】
前記ログイン要求者が前記サイトにおいて宿泊時サービスを予約した場合であって、当該宿泊時サービスの提供時期が前記サイトへの保持時間の満了よりも後の時期となる場合、前記予約に関する情報の保持を前記ログイン要求者に通知する、請求項1記載のサービス提供システム。
発明の詳細な説明
【技術分野】
【0001】
本発明は、宿泊施設利用する施設利用者の荷物の集配を含むサービスを提供するサービス提供システムに関する。
続きを表示(約 1,200 文字)
【背景技術】
【0002】
従来より、宿泊施設を利用する施設利用者が、宿泊施設に対してサービス提供を依頼するため、施設利用者が利用する客室に設置された装置や、施設利用者が所持する端末装置(スマートフォン、タブレット等)を用いて、サービス提供を依頼することが提案されている(特許文献1、特許文献2参照)。
【0003】
特許文献1には、宿泊施設を利用する施設利用客の宿泊に係る料金を管理する管理サーバと、前記管理サーバに接続される業者端末と、前記利用客の識別をするための利用客装置(例えば、ルーム内端末、カードキー、スマートフォン、携帯型電話機等)とを用いたホテルオーダシステムが記載されている。
【0004】
また、特許文献2には、施設の個室の利用者(施設利用者)が保有するスマートフォンを利用して飲食物の注文処理等の複数の処理を行うことが記載されている。
【0005】
ここで、施設利用者が持参する荷物の受け渡しに関するサービス(以下、荷物受け渡しサービスという)は、宿泊施設のフロント等に直接問い合わせる必要があった。
【0006】
なお、荷物受け渡しサービスとは、例えば、チェックイン前の状況としては、宿泊利用者が事前に宿泊施設へ送る、前日の滞在地から当日の宿泊施設へ送る等を示し、チェックイン後の状況としては、チェックアウトするときに、フロントに運んでもらう、交通機関の乗り場へ運んでもらう、次の滞在地へ運んでもらう等を示す。
【0007】
一例として、「施設利用者が事前に宿泊施設へ送る。」という状況は、宿泊施設と隣接する観光地との連携において、施設利用者が最寄駅に到着し、宿泊施設に立ち寄らず観光地へ移動するとき、最寄駅から荷物を宿泊施設へ運んでもらうことが挙げられる。
【0008】
このように、荷物受け渡しサービスは、宿泊施設の滞在期間外に係るサービスも含まれており、また、依頼内容が複雑(何時、どこからどこへ、個数等)であることから、宿泊施設のフロントへ、施設利用者が直接、問い合わせすることが一般的である。
【0009】
なお、参考として、フロントから客室端末に向けて、荷物引き取り時刻を問い合わせ、利用客に入力させることが提案されている(特許文献3参照)。なお、特許文献3では、宿泊施設側で、利用客が部屋へ入室したことを検知する機能を持つことが前提となっている。
【先行技術文献】
【特許文献】
【0010】
特開2002-366672号公報
特許第7265815号公報
特開2017-167750号公報
【発明の概要】
【発明が解決しようとする課題】
(【0011】以降は省略されています)
この特許をJ-PlatPat(特許庁公式サイト)で参照する
関連特許
個人
裁判のAI化
2か月前
個人
地球保全システム
6日前
個人
工程設計支援装置
1か月前
個人
フラワーコートA
2か月前
個人
情報処理システム
2か月前
個人
為替ポイント伊達夢貯
1か月前
個人
介護情報提供システム
2か月前
個人
冷凍食品輸出支援構造
1か月前
個人
設計支援システム
2か月前
個人
表変換編集支援システム
26日前
個人
設計支援システム
2か月前
個人
携帯情報端末装置
1か月前
個人
結婚相手紹介支援システム
1か月前
個人
知財出願支援AIシステム
1か月前
個人
知的財産出願支援システム
今日
個人
AIによる情報の売買の仲介
1か月前
株式会社カクシン
支援装置
2か月前
個人
パスワード管理支援システム
26日前
個人
行動時間管理システム
28日前
株式会社アジラ
進入判定装置
1か月前
個人
海外支援型農作物活用システム
18日前
個人
アンケート支援システム
2か月前
個人
AIキャラクター制御システム
26日前
個人
システム及びプログラム
19日前
個人
パスポートレス入出国システム
1か月前
株式会社キーエンス
受発注システム
5日前
株式会社キーエンス
受発注システム
5日前
株式会社キーエンス
受発注システム
5日前
日本精機株式会社
施工管理システム
1か月前
個人
食品レシピ生成システム
5日前
個人
SaaS型勤務調整支援システム
26日前
個人
社会還元・施設向け供給支援構造
26日前
個人
冷凍加工連携型農場運用システム
1か月前
個人
人格進化型対話応答制御システム
26日前
個人
音声・通知・再配達UX制御構造
今日
個人
未来型家系図構築システム
18日前
続きを見る
他の特許を見る