TOP
|
特許
|
意匠
|
商標
特許ウォッチ
Twitter
他の特許を見る
10個以上の画像は省略されています。
公開番号
2025140094
公報種別
公開特許公報(A)
公開日
2025-09-29
出願番号
2024039268
出願日
2024-03-13
発明の名称
蓄電装置、車両
出願人
トヨタ自動車株式会社
,
トヨタバッテリー株式会社
代理人
弁理士法人深見特許事務所
主分類
H01M
50/291 20210101AFI20250919BHJP(基本的電気素子)
要約
【課題】セル連結体を備える蓄電装置の耐久性を向上させる。
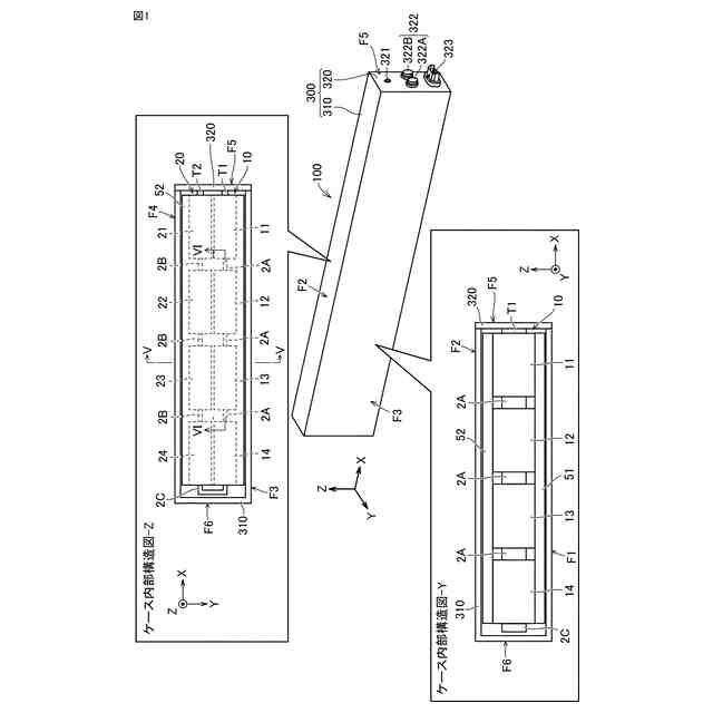
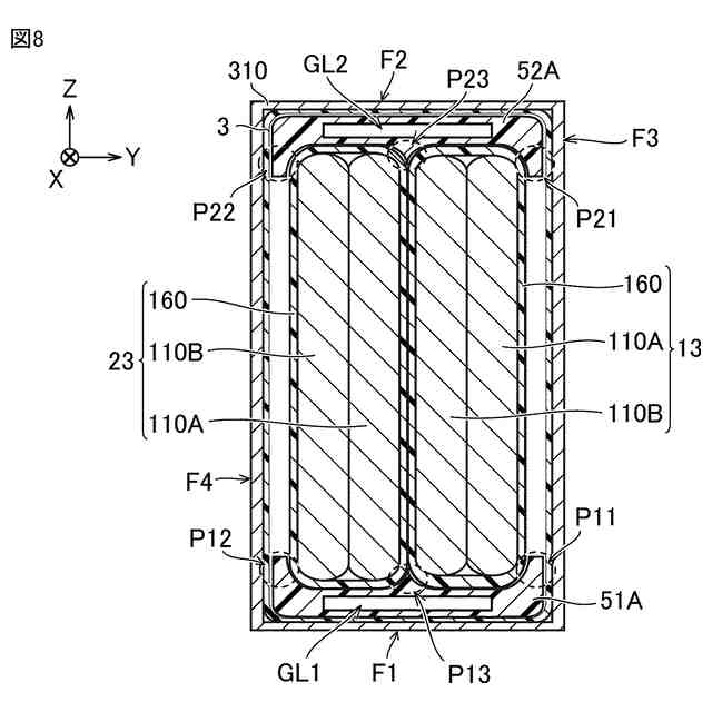
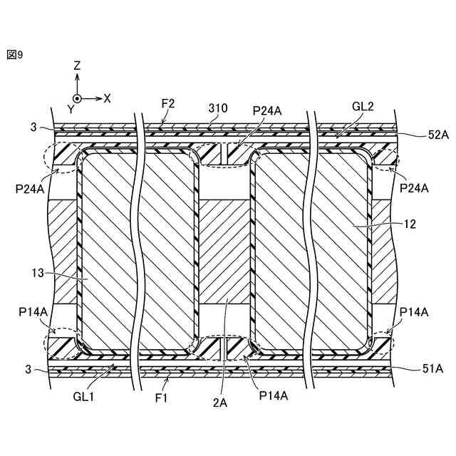
【解決手段】蓄電装置(電池100)が、ケース300と、ケース300に収容されたセル連結体(セル連結体10,20)とを備える。セル連結体は、複数の蓄電セル(蓄電セル11~14,21~24)と、蓄電セル同士を電気的につなぐ接続部(接続部2A,2B)とを含む。蓄電装置は、ケース300の内面とセル連結体との間に、少なくとも1つの蓄電セルを保持する保持部材(保持部材51,52)をさらに備える。
【選択図】図1
特許請求の範囲
【請求項1】
蓄電装置であって、
当該蓄電装置は、ケースと、前記ケースに収容されたセル連結体とを備え、
前記セル連結体は、複数の蓄電セルと、前記蓄電セル同士を電気的につなぐ接続部とを含み、
当該蓄電装置は、前記ケースの内面と前記セル連結体との間に、前記複数の蓄電セルの少なくとも1つを保持する1つ以上の保持部材をさらに備える、蓄電装置。
続きを表示(約 730 文字)
【請求項2】
前記1つ以上の保持部材は、前記セル連結体に沿って形成され、前記複数の蓄電セルの各々の第1面を保持する第1保持部材を含む、請求項1に記載の蓄電装置。
【請求項3】
前記第1保持部材は、板状の第1本体部と、前記第1本体部から前記セル連結体側に突出する1つ以上の第1凸部とを含む、請求項2に記載の蓄電装置。
【請求項4】
前記1つ以上の保持部材は、前記セル連結体に沿って形成され、前記複数の蓄電セルの各々の前記第1面とは反対側の第2面を保持する第2保持部材をさらに含む、請求項2に記載の蓄電装置。
【請求項5】
前記第2保持部材は、板状の第2本体部と、前記第2本体部から前記セル連結体側に突出する1つ以上の第2凸部とを含む、請求項4に記載の蓄電装置。
【請求項6】
前記第1保持部材と前記第2保持部材との少なくとも一方に、前記複数の蓄電セルの少なくとも1つから発生したガスを排出するための流路が形成されている、請求項4に記載の蓄電装置。
【請求項7】
前記第1保持部材と前記第2保持部材との少なくとも一方は中空構造を有する、請求項4に記載の蓄電装置。
【請求項8】
前記第2保持部材の熱伝導性は、前記第1保持部材の熱伝導性よりも高い、請求項4に記載の蓄電装置。
【請求項9】
前記第2保持部材は金属を含み、前記第1保持部材は樹脂を含む、請求項8に記載の蓄電装置。
【請求項10】
前記第1保持部材と前記第2保持部材との各々の端部にテーパ面が形成されている、請求項4に記載の蓄電装置。
(【請求項11】以降は省略されています)
発明の詳細な説明
【技術分野】
【0001】
本開示は、蓄電装置、および蓄電装置を備える車両に関する。
続きを表示(約 1,000 文字)
【背景技術】
【0002】
特表2023-502457号公報(特許文献1)には、長さLが400mm~2500mmであり、かつ、幅Hに対する長さLの比率(L/H)が4~21である直方体状の電池(蓄電装置)が開示されている。
【先行技術文献】
【特許文献】
【0003】
特表2023-502457号公報
【発明の概要】
【発明が解決しようとする課題】
【0004】
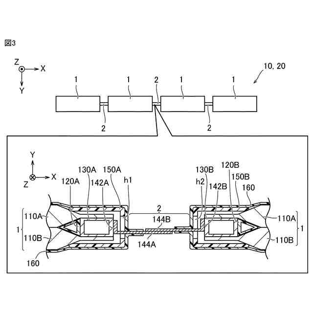
特許文献1に記載された蓄電装置では、直列に接続されて一列に並ぶ複数の電極体セット(蓄電セル)がケース(ハウジング)内に配置されている。以下では、複数の蓄電セルが一列に接続された連結体を、「セル連結体」と称する。
【0005】
特許文献1に記載された蓄電装置において、セル連結体がケース内で過度に動くと、蓄電セル間の接続部などがダメージを受けやすくなる。
【0006】
本開示は、上記課題を解決するためになされたものであり、その目的は、セル連結体を備える蓄電装置の耐久性を向上させることである。
【課題を解決するための手段】
【0007】
本開示の第1観点に係る形態に従うと、以下に示す蓄電装置が提供される。
【0008】
(第1項)当該蓄電装置は、ケースと、ケースに収容されたセル連結体とを備える。セル連結体は、複数の蓄電セルと、蓄電セル同士を電気的につなぐ接続部とを含む。蓄電装置は、ケースの内面とセル連結体との間に、複数の蓄電セルの少なくとも1つを保持する1つ以上の保持部材をさらに備える。
【0009】
上記の構成では、セル連結体に含まれる複数の蓄電セルの少なくとも1つが保持部材で保持されることによって、セル連結体が動きにくくなる。これにより、蓄電セル間の接続部などがダメージを受けにくくなる。上記構成によれば、外部からの衝撃などに対する蓄電装置の耐久性が向上する。なお、接続部は導電性部材であってもよい。接続部は、隣り合う蓄電セルの電極を接続することによって、それら蓄電セルを電気的につないでもよい。隣り合う2つの蓄電セルのうち一方の蓄電セルの正極と他方の蓄電セルの負極とが、接続部によって接続されてもよい。
【0010】
(第2項)第1項に記載の蓄電装置において、1つ以上の保持部材は、セル連結体に沿って形成され、複数の蓄電セルの各々の第1面を保持する第1保持部材を含む。
(【0011】以降は省略されています)
この特許をJ-PlatPat(特許庁公式サイト)で参照する
関連特許
トヨタ自動車株式会社
車両
1日前
トヨタ自動車株式会社
車両
1日前
トヨタ自動車株式会社
電解液
1日前
トヨタ自動車株式会社
電動車
1日前
トヨタ自動車株式会社
電動車
1日前
トヨタ自動車株式会社
電動車
1日前
トヨタ自動車株式会社
回転子
1日前
トヨタ自動車株式会社
駆動装置
1日前
トヨタ自動車株式会社
蓄電セル
1日前
トヨタ自動車株式会社
電源装置
1日前
トヨタ自動車株式会社
切断装置
1日前
トヨタ自動車株式会社
制御装置
1日前
トヨタ自動車株式会社
電動車両
1日前
トヨタ自動車株式会社
蓄電装置
1日前
トヨタ自動車株式会社
電池パック
1日前
トヨタ自動車株式会社
積層構造体
1日前
トヨタ自動車株式会社
電気自動車
1日前
トヨタ自動車株式会社
電極積層体
2日前
トヨタ自動車株式会社
シフト機構
1日前
トヨタ自動車株式会社
コネクタ構造
1日前
トヨタ自動車株式会社
駐車支援方法
1日前
トヨタ自動車株式会社
車両診断装置
1日前
トヨタ自動車株式会社
情報処理装置
1日前
トヨタ自動車株式会社
車両制御装置
1日前
トヨタ自動車株式会社
充電システム
1日前
トヨタ自動車株式会社
空間評価装置
1日前
トヨタ自動車株式会社
熱管理システム
1日前
トヨタ自動車株式会社
熱管理システム
1日前
トヨタ自動車株式会社
熱管理システム
1日前
トヨタ自動車株式会社
車両の制御装置
2日前
トヨタ自動車株式会社
車両の制御装置
2日前
トヨタ自動車株式会社
熱管理システム
1日前
トヨタ自動車株式会社
重量物収容装置
1日前
トヨタ自動車株式会社
車載用制御装置
2日前
トヨタ自動車株式会社
車両の制御装置
1日前
トヨタ自動車株式会社
シリンダ加熱装置
1日前
続きを見る
他の特許を見る