TOP
|
特許
|
意匠
|
商標
特許ウォッチ
Twitter
他の特許を見る
10個以上の画像は省略されています。
公開番号
2025140264
公報種別
公開特許公報(A)
公開日
2025-09-29
出願番号
2024039551
出願日
2024-03-14
発明の名称
交差点エッジ端末、方法およびコンピュータプログラム
出願人
NECプラットフォームズ株式会社
代理人
個人
,
個人
主分類
G08G
1/04 20060101AFI20250919BHJP(信号)
要約
【課題】交差点周辺の物体を認識するときに、認識処理の計算量を低減させる交差点エッジ端末を提供する。
【解決手段】交差点エッジ端末は、自交差点において撮像された画像を受信する通信部と、画像に高速移動体が含まれることを検出し、他の交差点において取得された高速移動体に関連付けられた情報を使用して高速移動体の認識処理を実行する処理部とを備える。
【選択図】図3
特許請求の範囲
【請求項1】
自交差点において撮像された画像を受信する通信部と、
前記画像に高速移動体が含まれることを検出し、
他の交差点において取得された前記高速移動体に関連付けられた情報を使用して前記高速移動体の認識処理を実行する
処理部と
を備える、交差点エッジ端末。
続きを表示(約 1,500 文字)
【請求項2】
前記処理部はさらに、
前記画像に物体が含まれることを検出し、
前記物体を抽象化して分類し、
前記自交差点における所定の事象の検出に応じて、前記分類された物体に対して前記認識処理を実行する、
請求項1に記載の交差点エッジ端末。
【請求項3】
前記通信部はさらに、
前記自交差点において撮像された複数の画像を受信し、
前記処理部はさらに、
前記複数の画像に含まれる物体を検出し、
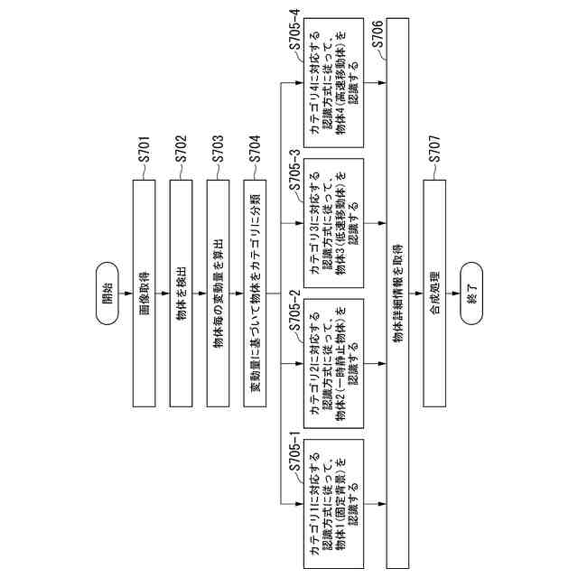
前記複数の画像に基づいて前記物体の時間変動量を算出し、
前記時間変動量に基づいて前記物体を所定のカテゴリに分類し、
前記カテゴリに対応する所定の認識方式に従って、前記物体の認識処理を実行する、
請求項1に記載の交差点エッジ端末。
【請求項4】
他の交差点において取得された前記高速移動体に関連付けられた情報を使用して前記高速移動体の認識処理を実行することは、
前記高速移動体に関連付けられた情報に欠損部分が含まれる場合、前記認識処理により前記欠損部分を補完することを含む、
請求項1に記載の交差点エッジ端末。
【請求項5】
前記処理部は、
他の交差点において取得された前記高速移動体に関連付けられた前記情報に基づいて、前記高速移動体が前記自交差点に進入する順序および時刻のうち少なくとも1つを予測し、
前記予測された順序および時刻のうち少なくとも1つに基づいて、前記自交差点における前記認識処理を実行する、
請求項1に記載の交差点エッジ端末。
【請求項6】
前記処理部は、
前記高速移動体の進行方向を取得し、
前記通信部は、
前記高速移動体の認識処理によって生成された情報を、前記進行方向に対応する近隣交差点の他の交差点エッジ端末のみに送信する、
請求項1に記載の交差点エッジ端末。
【請求項7】
前記画像は、前記自交差点におけるカメラによって取得され、
前記通信部は、前記カメラに紐付けられた紐付けカメラから紐付け画像をさらに取得し、前記紐付けカメラは、前記カメラと異なる位置に配置されており、
前記処理部は、前記画像と、前記紐付け画像とに基づいて前記認識処理を実行する、
請求項1に記載の交差点エッジ端末。
【請求項8】
前記通信部は、車両搭載端末から車両識別子を受信し、
前記処理部は、前記車両識別子を、前記認識処理によって生成された情報に紐付けし、前記紐付けされた情報を他の交差点エッジ端末に送信する、
請求項1に記載の交差点エッジ端末。
【請求項9】
交差点エッジ端末の通信部が、自交差点において撮像された画像を受信することと、
前記交差点エッジ端末の処理部が、前記画像に高速移動体が含まれることを検出することと、
前記処理部が、他の交差点において取得された前記高速移動体に関連付けられた情報を使用して前記高速移動体の認識処理を実行することと
を含む、方法。
【請求項10】
交差点エッジ端末に、
自交差点において撮像された画像を受信する通信手段と、
前記画像に高速移動体が含まれることを検出し、
他の交差点において取得された前記高速移動体に関連付けられた情報を使用して前記高速移動体の認識処理を実行する
処理手段と
を実行させるコンピュータプログラム。
発明の詳細な説明
【技術分野】
【0001】
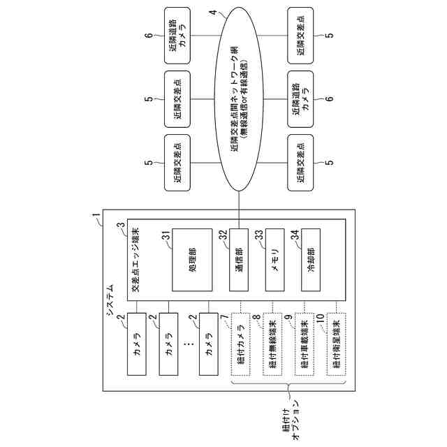
本開示は、交差点エッジ端末、方法およびコンピュータプログラムに関する。
続きを表示(約 1,600 文字)
【背景技術】
【0002】
特許文献1には、交差点に配置された物体検出装置が移動情報を生成し、隣接する交差点の近傍に配置された物体検出装置に送信する技術がある。
【0003】
近年のIT化、AI活用化によるスマートな活用方法は、あらゆる業界に広がっており、社会インフラとなる交通機関も同様である。特にAI活用についてはTransformer技術以降の進展がすさまじく、GPTなどの大規模で非常に高精度なAIエンジンが出現し、今後広い分野への活用が期待される。
【先行技術文献】
【特許文献】
【0004】
特開2022-037998
【発明の概要】
【発明が解決しようとする課題】
【0005】
前述した交通インフラへの活用用途においては、リアルタイムでの確実な処理が非常に重要な因子であり、GPTを初めとする遠隔地からのクラウドベースのAI活用では、通信ネットワークによる遅延含めての処理時間やレスポンス要求に対する様々な課題がある。
【0006】
交差点エッジ端末を配するカメラの画像を活用したスマート交差点の活用用途として、交差点の状態認識や監視、認識情報を用いた効率的で安全な信号制御や交差点使用者への情報伝達、さらに、交差点の安全性、効率性、便宜性等に関する課題抽出と課題対応などが挙げられる。これらの用途において、カメラで収集する画像は、より高精細かつ精度よく確実に、車両、歩行者、ペット、背景などを認識処理し、その結果を様々な用途に活用することが求められる。この需要を満たす為には、カメラ数の増大、カメラ画素数の高精細化、単位時間あたりの処理フレーム数の増加、AI処理モデルのパラメータ増大等の方法が考えられるが、いずれも交差点エッジ端末における計算量が著しく増大する。さらに、交差点における車両等(高速移動体)に対しては、極限られた滞在時間の中で前述の膨大な情報処理を実施する必要があり、時間当たりの計算処理量という観点で、さらに難易度が高く大規模な処理が必要となる。この時間当たりの膨大な計算処理課題について、交差点に設置したエッジ端末のみで処理するためには、高性能なCPUやGPU、メモリなどのハード資源を大量に装備する必要があり、装置の大型化や大量の電力消費に繋がるという課題があった。
【0007】
本開示の目的の一例は、上述の課題を解決することができる交差点エッジ端末、方法およびコンピュータプログラムを提供することである。
【課題を解決するための手段】
【0008】
本開示の一態様に係る交差点エッジ端末は、自交差点において撮像された画像を受信する通信部と、画像に高速移動体が含まれることを検出し、他の交差点において取得された高速移動体に関連付けられた情報を使用して高速移動体の認識処理を実行する処理部とを備える。
【0009】
本開示の一態様に係る方法は、交差点エッジ端末の通信部が、自交差点において撮像された画像を受信することと、交差点エッジ端末の処理部が、画像に高速移動体が含まれることを検出することと、処理部が、他の交差点において取得された高速移動体に関連付けられた情報を使用して高速移動体の認識処理を実行することとを含む。
【0010】
本開示の一態様に係るコンピュータプログラムは、交差点エッジ端末に、自交差点において撮像された画像を受信する通信手段と、画像に高速移動体が含まれることを検出し、他の交差点において取得された高速移動体に関連付けられた情報を使用して高速移動体の認識処理を実行する処理手段とを実行させる。
【発明の効果】
(【0011】以降は省略されています)
この特許をJ-PlatPat(特許庁公式サイト)で参照する
関連特許
日本精機株式会社
路面投影装置
3か月前
日本精機株式会社
警報システム
1か月前
個人
自動電動車椅子
16日前
エムケー精工株式会社
車両誘導装置
1か月前
スズキ株式会社
運転支援装置
1か月前
ニッタン株式会社
検知器
24日前
株式会社国際電気
防災システム
1か月前
ニッタン株式会社
発信機
1か月前
個人
磁気路上での車両の路線離脱防御
5日前
ニッタン株式会社
発信機
2か月前
ニッタン株式会社
検知器
26日前
ニッタン株式会社
発信機
3か月前
ニッタン株式会社
検知器
24日前
個人
防犯に特化したアプリケーション
3か月前
ニッタン株式会社
発信機
2か月前
ニッタン株式会社
検知器
2日前
東京都公立大学法人
液滴検出装置
3か月前
トヨタ自動車株式会社
車両
1か月前
TOA株式会社
拡声放送システム
3か月前
日本信号株式会社
信号情報システム
2か月前
株式会社アジラ
データ転送システム
3か月前
トヨタ自動車株式会社
サーバ
9日前
日本信号株式会社
異常走行検出装置
9日前
株式会社小糸製作所
移動体検出装置
26日前
株式会社JVCケンウッド
警報装置
2か月前
日本信号株式会社
情報提供システム
2か月前
株式会社SUBARU
運転支援装置
3日前
個人
乗り物の移動を支援する方法及び装置
2か月前
大阪瓦斯株式会社
音声出力システム
1日前
三菱自動車工業株式会社
制御システム
1日前
株式会社小糸製作所
車両検出システム
26日前
日本精機株式会社
報知装置及び報知システム
15日前
株式会社CCT
通信装置及び表示方法
2日前
トヨタ自動車株式会社
回避動作判別装置
2か月前
日本信号株式会社
交通信号制御システム
2か月前
能美防災株式会社
火災感知器
29日前
続きを見る
他の特許を見る