TOP
|
特許
|
意匠
|
商標
特許ウォッチ
Twitter
他の特許を見る
公開番号
2025140385
公報種別
公開特許公報(A)
公開日
2025-09-29
出願番号
2024039746
出願日
2024-03-14
発明の名称
シート構造
出願人
トヨタ自動車株式会社
,
トヨタ自動車九州株式会社
代理人
弁理士法人YKI国際特許事務所
主分類
B60N
2/64 20060101AFI20250919BHJP(車両一般)
要約
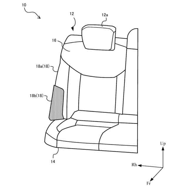
【課題】シートバックを後傾させたときのホールド性能を保ち、座り心地を向上させるシート構造を実現する。
【解決手段】シート構造は、後傾可能なメインシート16と、前記メインシート16の側方において車両前後方向の前方に膨出しているサイドシート18と、を有するシートバック12を備え、前記サイドシート18は、前記メインシート16の側部から車幅方向外側に延在し、その上下方向の略中央で、前記メインシート16に固定して形成される上部サイドシート18aと、前記メインシート16に対して独立して形成される下部サイドシート18bと、の上下に分割されている、ことを特徴とする。
【選択図】図2
特許請求の範囲
【請求項1】
後傾可能なメインシートと、前記メインシートの側方において車両前後方向の前方に膨出しているサイドシートと、を有するシートバックを備え、
前記サイドシートは、
前記メインシートの側部から車幅方向外側に延在し、
その上下方向の略中央で、前記メインシートに固定して形成される上部サイドシートと、前記メインシートに対して独立して形成される下部サイドシートと、の上下に分割されている、
ことを特徴とするシート構造。
続きを表示(約 390 文字)
【請求項2】
前記シートバックの初期位置において、前記下部サイドシートは、前記上部サイドシートよりも前記車両前後方向の前側に位置する、
ことを特徴とする請求項1に記載のシート構造。
【請求項3】
前記メインシートおよび前記サイドシートは、車両の後部座席のシートバックに設けられる、
ことを特徴とする請求項1に記載のシート構造。
【請求項4】
前記上下に分割される位置は、車両ドアの車室側のドアトリムに設けられたドアアームレストから、車両上下方向において上方に10mm以内である、
ことを特徴とする請求項1に記載のシート構造。
【請求項5】
前記メインシートを後傾させたときに、前記下部サイドシートの前記車両前後方向に延びる上面が現れる、
ことを特徴とする請求項1に記載のシート構造。
発明の詳細な説明
【技術分野】
【0001】
本発明は、車両のシート構造に関する。
続きを表示(約 1,000 文字)
【背景技術】
【0002】
車両の乗員用のシートは、通常乗員の背中を支持するシートバックと、乗員の臀部および腿などを支持するシートクッションを有している。そして、リクライニングシートにおいては、シートバックの下部を支点としてシートバックの上部が後傾できるようになっている。
【0003】
特許文献1には、リクライニング機構を備えたシート構造が開示されている。
【先行技術文献】
【特許文献】
【0004】
特開2017-109703号公報
【発明の概要】
【発明が解決しようとする課題】
【0005】
ここで、後部座席にリクライニング機能を持つ車両において、シートバックを後傾したときには、倒す角度が大きいほど休息姿勢を取ることができる。このとき、より安定して座席に包まれるように着座できるシートバックを提供できたり、シートバックの一部であるサイドシートが肘置きとして活用できたりすれば、さらに乗り心地や座り心地が向上する。
【0006】
そこで、本明細書では、シートバックを後傾させたときのホールド性能を保ち、座り心地を向上させるシート構造を実現する。
【課題を解決するための手段】
【0007】
本明細書で開示するシート構造は、後傾可能なメインシートと、前記メインシートの側方において車両前後方向の前方に膨出しているサイドシートと、を有するシートバックを備え、前記サイドシートは、前記メインシートの側部から車幅方向外側に延在し、その上下方向の略中央で、前記メインシートに固定して形成される上部サイドシートと、前記メインシートに対して独立して形成される下部サイドシートと、の上下に分割されている、ことを特徴とする。
【0008】
上記の構成によれば、シートバックを後傾させたときのホールド性能が保たれ、座り心地が向上する。
【0009】
また、前記シートバックの初期位置において、前記下部サイドシートは、前記上部サイドシートよりも前記車両前後方向の前側に位置するとよい。
【0010】
上記の構成によれば、シートバックを後傾させない初期位置の場合でも、乗員の肘を置くスペースが確保できる。
(【0011】以降は省略されています)
この特許をJ-PlatPat(特許庁公式サイト)で参照する
関連特許
トヨタ自動車株式会社
電池
2日前
トヨタ自動車株式会社
車両
21日前
トヨタ自動車株式会社
車両
2日前
トヨタ自動車株式会社
車両
12日前
トヨタ自動車株式会社
ロータ
今日
トヨタ自動車株式会社
サーバ
6日前
トヨタ自動車株式会社
モータ
13日前
トヨタ自動車株式会社
電動車
今日
トヨタ自動車株式会社
回転子
13日前
トヨタ自動車株式会社
電動車
12日前
トヨタ自動車株式会社
蓄電装置
2日前
トヨタ自動車株式会社
制御装置
2日前
トヨタ自動車株式会社
蓄電装置
2日前
トヨタ自動車株式会社
蓄電装置
14日前
トヨタ自動車株式会社
蓄電装置
2日前
トヨタ自動車株式会社
内燃機関
12日前
トヨタ自動車株式会社
蓄電装置
6日前
トヨタ自動車株式会社
電動車両
21日前
トヨタ自動車株式会社
水系電池
20日前
トヨタ自動車株式会社
蓄電装置
12日前
トヨタ自動車株式会社
制御装置
13日前
トヨタ自動車株式会社
冷却装置
12日前
トヨタ自動車株式会社
制御装置
2日前
トヨタ自動車株式会社
冷却構造
5日前
トヨタ自動車株式会社
二次電池
2日前
トヨタ自動車株式会社
電動車両
12日前
トヨタ自動車株式会社
蓄電装置
2日前
トヨタ自動車株式会社
電動車両
12日前
トヨタ自動車株式会社
給電装置
12日前
トヨタ自動車株式会社
制御装置
12日前
トヨタ自動車株式会社
制御装置
12日前
トヨタ自動車株式会社
加熱装置
12日前
トヨタ自動車株式会社
電動車両
21日前
トヨタ自動車株式会社
駆動装置
20日前
トヨタ自動車株式会社
蓄電装置
2日前
トヨタ自動車株式会社
制御装置
2日前
続きを見る
他の特許を見る