TOP
|
特許
|
意匠
|
商標
特許ウォッチ
Twitter
他の特許を見る
10個以上の画像は省略されています。
公開番号
2025144869
公報種別
公開特許公報(A)
公開日
2025-10-03
出願番号
2024044766
出願日
2024-03-21
発明の名称
半導体記憶装置
出願人
キオクシア株式会社
代理人
弁理士法人きさらぎ国際特許事務所
主分類
G11C
16/10 20060101AFI20250926BHJP(情報記憶)
要約
【課題】高速動作が可能な半導体記憶装置を提供する。
【解決手段】半導体記憶装置は、基板と、複数のメモリブロックと、制御回路とを備える。制御回路は、第1モードの書込動作において、第1プリチャージ動作、第1プログラム動作を順に実行した後に連続して、第2プログラム動作を実行可能に構成される。第1プリチャージ動作において、第1ワード線に所定電圧を供給する。第1プログラム動作において、第1選択ゲート線に第1電圧、第1ワード線に対して第1プログラム電圧を供給し、第2ワード線に対して第1プログラム電圧よりも小さい書込パス電圧を供給する。第2プログラム動作において、第2選択ゲート線に第1電圧、第1ワード線に対して書込パス電圧よりも大きい第2プログラム電圧を供給し、第2ワード線に対して書込パス電圧を供給する。
【選択図】図12
特許請求の範囲
【請求項1】
基板と、
前記基板の表面と交差する第1方向に前記基板と並び、前記第1方向と交差する第2方向に並ぶ複数のメモリブロックと、
前記複数のメモリブロックに接続され、書込動作を実行する制御回路と、
を備え、
前記複数のメモリブロックは、それぞれ、
第1ドレイン側選択トランジスタ及び第2ドレイン側選択トランジスタと、
第1ソース側選択トランジスタ及び第2ソース側選択トランジスタと、
前記第1ドレイン側選択トランジスタと前記第1ソース側選択トランジスタとの間に電気的に直列に接続された第1メモリセルトランジスタ及び第2メモリセルトランジスタと、
前記第2ドレイン側選択トランジスタと前記第2ソース側選択トランジスタとの間に電気的に直列に接続された第3メモリセルトランジスタ及び第4メモリセルトランジスタと、
前記第1ドレイン側選択トランジスタ及び前記第2ドレイン側選択トランジスタにそれぞれ電気的に接続された第1ビット線及び第2ビット線と、
前記第1ドレイン側選択トランジスタのゲート電極に電気的に接続された第1選択ゲート線と、
前記第2ドレイン側選択トランジスタのゲート電極に電気的に接続された第2選択ゲート線と、
前記第1ソース側選択トランジスタ及び前記第2ソース側選択トランジスタのゲート電極に電気的に接続された第3選択ゲート線と、
前記第1ソース側選択トランジスタ及び前記第2ソース側選択トランジスタに電気的に接続されたソース線と、
前記第1メモリセルトランジスタ及び前記第3メモリセルトランジスタのゲート電極に電気的に接続された第1ワード線と、
前記第2メモリセルトランジスタ及び前記第4メモリセルトランジスタのゲート電極に電気的に接続された第2ワード線と、を備え、
前記制御回路は、第1プリチャージ動作及び第1プログラム動作を順に実行した後に連続して、第2プログラム動作を実行する第1モードの書込動作を実行可能に構成され、
前記制御回路は、
前記第1プリチャージ動作において、前記第1ワード線に所定電圧を供給し、
前記第1プログラム動作において、前記第1選択ゲート線に第1電圧を供給し、前記第2選択ゲート線に前記第1電圧よりも小さい第2電圧を供給し、前記第1ワード線に対して第1プログラム電圧を供給し、前記第2ワード線に対して前記第1プログラム電圧よりも小さい書込パス電圧を供給し、
前記第2プログラム動作において、前記第1選択ゲート線に前記第2電圧を供給し、前記第2選択ゲート線に前記第1電圧を供給し、前記第1ワード線に対して前記書込パス電圧よりも大きい第2プログラム電圧を供給し、前記第2ワード線に対して前記書込パス電圧を供給し、
前記第1プログラム電圧の供給後、前記第2プログラム電圧の供給前に、前記第1選択ゲート線の電圧を前記第1電圧から前記第2電圧に切り換え、前記第2選択ゲート線の電圧を前記第2電圧から前記第1電圧に切り換える
半導体記憶装置。
続きを表示(約 2,400 文字)
【請求項2】
前記制御回路は、前記第1プログラム動作及び前記第2プログラム動作において、前記第1メモリセルトランジスタ及び前記第3メモリセルトランジスタに2値のデータを保持させる
請求項1記載の半導体記憶装置。
【請求項3】
前記制御回路は、
前記第1プログラム動作において、前記第1ビット線に第1ビット線電圧を供給し、前記第2ビット線に第2ビット線電圧を供給し、
前記第2プログラム動作において、前記第1ビット線に第3ビット線電圧を供給し、前記第2ビット線に第4ビット線電圧を供給し、
前記第1プログラム電圧の供給後、前記第2プログラム電圧の供給前に、前記第1ビット線の電圧を前記第1ビット線電圧から前記第3ビット線電圧に切り換え、前記第2ビット線の電圧を前記第2ビット線電圧から前記第4ビット線電圧に切り換える
請求項1記載の半導体記憶装置。
【請求項4】
前記第1モードの書込動作は、前記第2プログラム動作の後に実行されるイコライズ動作を更に含み、
前記制御回路は、前記イコライズ動作において、前記第1選択ゲート線、前記第2選択ゲート線、前記第1ワード線、及び、第2ワード線の電圧を、前記第2電圧から、前記第2電圧よりも大きい第1開放電圧に切り換える
請求項3記載の半導体記憶装置。
【請求項5】
前記制御回路は、前記第1プリチャージ動作において、
前記第1選択ゲート線、前記第2選択ゲート線、前記第1ワード線、前記第2ワード線及び前記第3選択ゲート線に、前記第2電圧よりも大きい第3電圧を供給する
請求項1記載の半導体記憶装置。
【請求項6】
前記第1ドレイン側選択トランジスタと前記第1メモリセルトランジスタとの間に設けられた第5メモリセルトランジスタと、
前記第2ドレイン側選択トランジスタと前記第3メモリセルトランジスタとの間に設けられた第6メモリセルトランジスタと、
前記第5メモリセルトランジスタ及び前記第6メモリセルトランジスタのゲート電極に電気的に接続された第3ワード線と、を更に備え、
前記第2メモリセルトランジスタは、前記第1メモリセルトランジスタと前記第1ソース側選択トランジスタとの間に位置し、
前記第4メモリセルトランジスタは、前記第3メモリセルトランジスタと前記第2ソース側選択トランジスタとの間に位置し、
前記制御回路は、前記第1プリチャージ動作において、
前記第1選択ゲート線、前記第2選択ゲート線、前記第1ワード線及び前記第3ワード線に、前記第2電圧よりも大きい第3電圧を供給する
請求項1記載の半導体記憶装置。
【請求項7】
前記第1ドレイン側選択トランジスタと前記第1メモリセルトランジスタとの間に設けられた第5メモリセルトランジスタと、
前記第2ドレイン側選択トランジスタと前記第3メモリセルトランジスタとの間に設けられた第6メモリセルトランジスタと、
前記第5メモリセルトランジスタ及び前記第6メモリセルトランジスタのゲート電極に電気的に接続された第3ワード線と、を更に備え、
前記第2メモリセルトランジスタは、前記第1メモリセルトランジスタと前記第1ソース側選択トランジスタとの間に位置し、
前記第4メモリセルトランジスタは、前記第3メモリセルトランジスタと前記第2ソース側選択トランジスタとの間に位置し、
前記制御回路は、前記第1プリチャージ動作において、
前記第1ワード線、前記第2ワード線及び前記第3選択ゲート線に、前記第2電圧よりも大きい第3電圧を供給する
請求項1記載の半導体記憶装置。
【請求項8】
前記制御回路は、前記第1プリチャージ動作、前記第1プログラム動作を順に実行した後、第2プリチャージ動作及び前記第2プログラム動作を順に実行する第2モードの書込動作を更に実行可能に構成され、
前記制御回路は、
前記第2プリチャージ動作において、前記第1ワード線に所定電圧を供給する
請求項1記載の半導体記憶装置。
【請求項9】
前記第1モードの書込動作は、前記第2プログラム動作より後に実行される第1ベリファイ動作及び第2ベリファイ動作を更に含み、
前記制御回路は、
前記第1ベリファイ動作において、
前記第1選択ゲート線及び前記第3選択ゲート線に対して、前記第1電圧よりも大きい第4電圧を供給し、
前記第2選択ゲート線に対して前記第2電圧を供給し、
前記第1ワード線に対して、前記第4電圧よりも小さい第1ベリファイ電圧を供給し、
前記第2ベリファイ動作において、
第2選択ゲート線及び前記第3選択ゲート線に対して前記第4電圧を供給し、
前記第1選択ゲート線に対して前記第2電圧を供給し、
前記第1ワード線に対して前記第1ベリファイ電圧を供給する
請求項1記載の半導体記憶装置。
【請求項10】
前記メモリブロックは、
前記第1方向に並ぶ複数の導電層と、
前記第1方向に延伸し、前記複数の導電層に対向する半導体柱と、
前記複数の導電層と、前記半導体柱と、の間に設けられた電荷蓄積膜と
を備え、
前記複数の導電層のうちの一つは、前記第1ワード線として機能し、
前記複数の導電層のうちの他の一つは、前記第2ワード線として機能する
請求項1記載の半導体記憶装置。
(【請求項11】以降は省略されています)
発明の詳細な説明
【技術分野】
【0001】
本実施形態は、半導体記憶装置に関する。
続きを表示(約 2,500 文字)
【背景技術】
【0002】
基板と、基板と並ぶ複数のメモリブロックと、複数のメモリブロックに電気的に接続された制御回路と、を備える半導体記憶装置が知られている。
【先行技術文献】
【特許文献】
【0003】
特開2020-9511号
【発明の概要】
【発明が解決しようとする課題】
【0004】
高速動作が可能な半導体記憶装置を提供する。
【課題を解決するための手段】
【0005】
一の実施形態に係る半導体記憶装置は、基板と、基板の表面と交差する第1方向に基板と並び、第1方向と交差する第2方向に並ぶ複数のメモリブロックと、複数のメモリブロックに接続され、書込動作を実行する制御回路と、を備える。複数のメモリブロックは、それぞれ、第1ドレイン側選択トランジスタ及び第2ドレイン側選択トランジスタと、第1ソース側選択トランジスタ及び第2ソース側選択トランジスタと、第1ドレイン側選択トランジスタと第1ソース側選択トランジスタとの間に電気的に直列に接続された第1メモリセルトランジスタ及び第2メモリセルトランジスタと、第2ドレイン側選択トランジスタと第2ソース側選択トランジスタとの間に電気的に直列に接続された第3メモリセルトランジスタ及び第4メモリセルトランジスタと、第1ドレイン側選択トランジスタ及び第2ドレイン側選択トランジスタにそれぞれ電気的に接続された第1ビット線及び第2ビット線と、第1ドレイン側選択トランジスタのゲート電極に電気的に接続された第1選択ゲート線と、第2ドレイン側選択トランジスタのゲート電極に電気的に接続された第2選択ゲート線と、第1ソース側選択トランジスタ及び第2ソース側選択トランジスタのゲート電極に電気的に接続された第3選択ゲート線と、第1ソース側選択トランジスタ及び第2ソース側選択トランジスタに電気的に接続されたソース線と、第1メモリセルトランジスタ及び第3メモリセルトランジスタのゲート電極に電気的に接続された第1ワード線と、第2メモリセルトランジスタ及び第4メモリセルトランジスタのゲート電極に電気的に接続された第2ワード線と、を備える。
【0006】
制御回路は、第1プリチャージ動作及び第1プログラム動作を順に実行した後に連続して、第2プログラム動作を実行する第1モードの書込動作を実行可能に構成される。
【0007】
制御回路は、第1プリチャージ動作において、第1ワード線に所定電圧を供給し、第1プログラム動作において、第1選択ゲート線に第1電圧を供給し、第2選択ゲート線に第1電圧よりも小さい第2電圧を供給し、第1ワード線に対して第1プログラム電圧を供給し、第2ワード線に対して第1プログラム電圧よりも小さい書込パス電圧を供給する。制御回路は、第2プログラム動作において、第1選択ゲート線に第2電圧を供給し、第2選択ゲート線に第1電圧を供給し、第1ワード線に対して前記書込パス電圧よりも大きい第2プログラム電圧を供給し、第2ワード線に対して書込パス電圧を供給する。また、制御回路は、第1プログラム電圧の供給後、第2プログラム電圧の供給前に、第1選択ゲート線の電圧を第1電圧から第2電圧に切り換え、第2選択ゲート線の電圧を第2電圧から第1電圧に切り換える。
【図面の簡単な説明】
【0008】
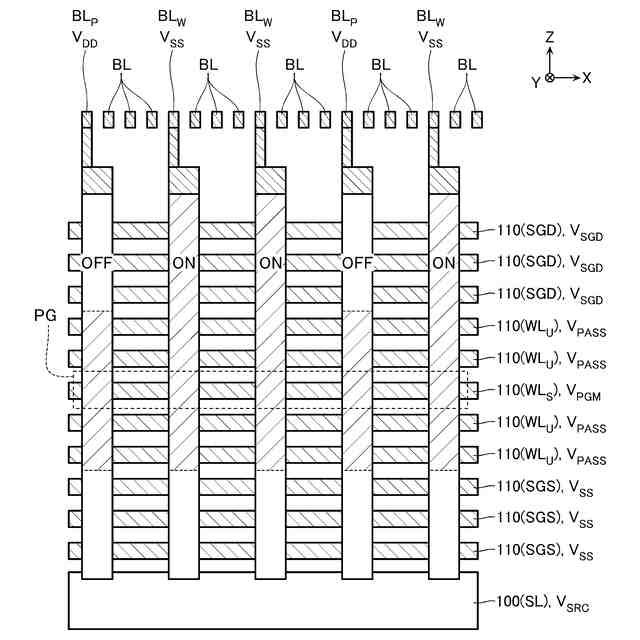
メモリシステム10の構成を示す模式的なブロック図である。
メモリダイMDの構成を示す模式的なブロック図である。
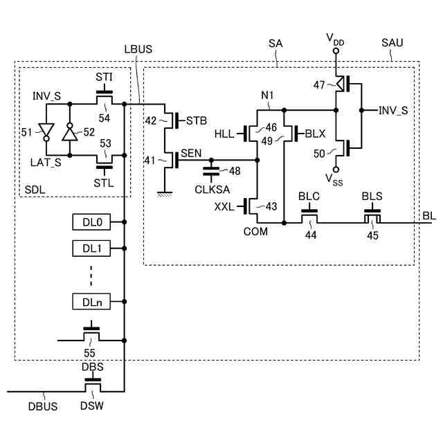
メモリダイMDの一部の構成を示す模式的な回路図である。
メモリダイMDの一部の構成を示す模式的な回路図である。
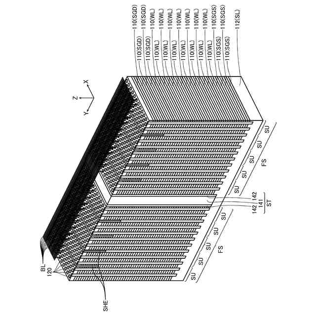
メモリダイMDの一部の構成を示す模式的な斜視図である。
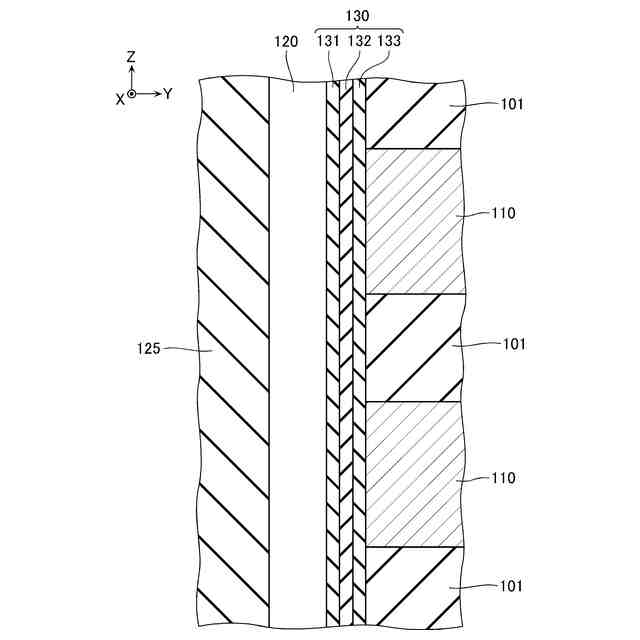
図5の一部の構成を示す模式的な拡大図である。
1ビットのデータが記録されるメモリセルMCのしきい値電圧について説明するための模式的なヒストグラムである。
書込動作について説明するためのタイミングチャートである。
プログラム動作について説明するための模式的な断面図である。
書込動作の実行順について説明するための模式的な断面図である。
第1モードの書込動作について説明するためのタイミングチャートである。
第2モードの書込動作について説明するためのタイミングチャートである。
変形例1に係る第1モードの書込動作について説明するためのタイミングチャートである。
変形例1に係る第2モードの書込動作について説明するためのタイミングチャートである。
変形例2に係る第1モードの書込動作について説明するためのタイミングチャートである。
変形例2に係る第2モードの書込動作について説明するためのタイミングチャートである。
変形例3に係る第1モードの書込動作について説明するためのタイミングチャートである。
変形例3に係る第2モードの書込動作について説明するためのタイミングチャートである。
第2実施形態に係る第1モードの書込動作について説明するためのタイミングチャートである。
第3実施形態に係る第1モードの書込動作について説明するためのタイミングチャートである。
【発明を実施するための形態】
【0009】
次に、実施形態に係る半導体記憶装置を、図面を参照して詳細に説明する。尚、以下の実施形態はあくまでも一例であり、本発明を限定する意図で示されるものではない。
【0010】
また、本明細書において「半導体記憶装置」と言った場合には、メモリダイ(メモリチップ)を意味する事もあるし、メモリカード、SSD等の、コントローラダイを含むメモリシステムを意味する事もある。さらに、スマートホン、タブレット端末、パーソナルコンピュータ等の、ホストコンピュータを含む構成を意味する事もある。
(【0011】以降は省略されています)
この特許をJ-PlatPat(特許庁公式サイト)で参照する
関連特許
日本発條株式会社
記録装置
4日前
株式会社ナノバブル研究所
データ消去装置
9日前
ローム株式会社
RAM
2日前
キオクシア株式会社
半導体記憶装置
13日前
ローム株式会社
メモリ装置
13日前
キヤノン株式会社
撮像装置
1か月前
キオクシア株式会社
記憶装置
11日前
キオクシア株式会社
記憶装置
13日前
キオクシア株式会社
半導体記憶装置
9日前
株式会社東芝
磁気ヘッド、及び、磁気記録装置
1か月前
キオクシア株式会社
記憶装置
11日前
ローム株式会社
半導体記憶装置
16日前
ローム株式会社
半導体記憶装置
16日前
株式会社東芝
磁気ヘッド、及び、磁気記録装置
1か月前
株式会社東芝
磁気ヘッド、及び、磁気記録装置
24日前
キオクシア株式会社
磁気メモリ
2か月前
株式会社東芝
磁気ヘッド、及び、磁気記録装置
1か月前
株式会社東芝
磁気ヘッド、及び、磁気記録装置
1か月前
キオクシア株式会社
磁気記憶装置
13日前
ローム株式会社
不揮発性メモリ装置
9日前
ローム株式会社
不揮発性メモリ装置
9日前
ローム株式会社
不揮発性メモリ装置
9日前
キオクシア株式会社
メモリデバイス
9日前
キオクシア株式会社
半導体記憶装置
1か月前
キオクシア株式会社
メモリシステム
10日前
キオクシア株式会社
メモリデバイス
9日前
ニデックインスツルメンツ株式会社
磁気ヘッドおよびカードリーダ
1か月前
キオクシア株式会社
半導体記憶装置
9日前
キオクシア株式会社
半導体記憶装置、メモリシステム
10日前
キオクシア株式会社
半導体記憶装置
9日前
ローム株式会社
不揮発性半導体記憶装置
9日前
日本発條株式会社
記録装置、カバー、及びカバーの製造方法
3日前
株式会社東芝
磁気ディスク装置
1か月前
株式会社東芝
磁気ディスク装置
24日前
キオクシア株式会社
半導体記憶装置
13日前
キオクシア株式会社
半導体装置及び記憶媒体
9日前
続きを見る
他の特許を見る