TOP
|
特許
|
意匠
|
商標
特許ウォッチ
Twitter
他の特許を見る
10個以上の画像は省略されています。
公開番号
2025144346
公報種別
公開特許公報(A)
公開日
2025-10-02
出願番号
2024044085
出願日
2024-03-19
発明の名称
半導体記憶装置、メモリシステム
出願人
キオクシア株式会社
代理人
個人
,
個人
,
個人
主分類
G11C
16/26 20060101AFI20250925BHJP(情報記憶)
要約
【課題】バスの使用効率を向上させることが可能な半導体記憶装置を提供する。
【解決手段】半導体記憶装置は、データ保持部と、データ転送回路と、制御部と、を備える。データ保持部は、メモリセルアレイから読み出されたデータを一時的に保持する。データ転送回路は、データ保持部とパッド部との間に設けられ、データ保持部に保持されているデータを入出力用パッドに転送する。データ転送回路には、当該データ転送回路への電流の供給を遮断することが可能な遮断部が設けられる。制御部は、メモリセルアレイからデータ保持部を介してデータ転送回路にデータが転送された時点からメモリコントローラへのデータの転送が開始されずに所定時間が経過したとき、遮断部によりデータ転送回路への電流の供給を遮断する。所定時間は、変更可能である。
【選択図】図2
特許請求の範囲
【請求項1】
メモリセルアレイと、
前記メモリセルアレイから読み出されたデータを一時的に保持するデータ保持部と、
メモリコントローラとの間で信号の送受信を行うパッド部と、
前記データ保持部と前記パッド部との間に設けられ、前記データ保持部に保持されているデータを前記パッド部に転送するデータ転送回路と、
前記データ転送回路を制御する制御部と、を備え、
前記データ転送回路には、当該データ転送回路への電流の供給を遮断することが可能な遮断部が設けられ、
前記制御部は、前記メモリセルアレイから前記データ保持部を介して前記データ転送回路にデータが転送された時点から前記メモリコントローラへのデータの転送が開始されずに所定時間が経過したとき、前記遮断部により前記データ転送回路への電流の供給を遮断し、
前記所定時間は、変更可能である
半導体記憶装置。
続きを表示(約 750 文字)
【請求項2】
前記遮断部は、前記データ転送回路に接地電圧を印加する配線に設けられるスイッチング素子である
請求項1に記載の半導体記憶装置。
【請求項3】
前記所定時間の設定値が格納されるレジスタを更に備え、
前記制御部は、前記レジスタから前記所定時間の設定値を読み込む
請求項1に記載の半導体記憶装置。
【請求項4】
前記メモリコントローラから送信される信号に基づいて、前記レジスタに格納されている前記所定時間の設定値が更新される
請求項3に記載の半導体記憶装置。
【請求項5】
前記所定時間は、ユーザにより設定可能である
請求項1に記載の半導体記憶装置。
【請求項6】
前記所定時間は、予め設定されている複数の設定値の中から選択可能である
請求項1に記載の半導体記憶装置。
【請求項7】
前記制御部は、前記メモリコントローラから送信される所定のコマンドに基づいて前記所定時間を変更する
請求項1に記載の半導体記憶装置。
【請求項8】
前記データ転送回路には、入出力回路が含まれている
請求項1に記載の半導体記憶装置。
【請求項9】
前記データ転送回路には、先入れ先出しの動作を行う記憶装置が含まれている
請求項1に記載の半導体記憶装置。
【請求項10】
前記データ転送回路の動作状態を監視する監視部を更に備え、
前記制御部は、前記データ転送回路の動作状態に基づいて前記所定時間の推奨値を演算する
請求項1に記載の半導体記憶装置。
(【請求項11】以降は省略されています)
発明の詳細な説明
【技術分野】
【0001】
実施形態は、半導体記憶装置、及びメモリシステムに関する。
続きを表示(約 1,700 文字)
【背景技術】
【0002】
半導体記憶装置として、NAND型フラッシュメモリが知られている。
【先行技術文献】
【特許文献】
【0003】
特開2023-137230号公報
【発明の概要】
【発明が解決しようとする課題】
【0004】
実施形態によれば、バスの使用効率を向上させることが可能な半導体記憶装置及びメモリシステムが提供される。
【課題を解決するための手段】
【0005】
実施形態の半導体記憶装置は、メモリセルアレイと、データ保持部と、パッド部と、データ転送回路と、制御部と、を備える。データ保持部は、メモリセルアレイから読み出されたデータを一時的に保持する。パッド部は、メモリコントローラとの間で信号の送受信を行う。データ転送回路は、データ保持部とパッド部との間に設けられ、データ保持部に保持されているデータを入出力用パッドに転送する。制御部は、データ転送回路を制御する。データ転送回路には、当該データ転送回路への電流の供給を遮断することが可能な遮断部が設けられる。制御部は、メモリセルアレイからデータ保持部を介してデータ転送回路にデータが転送された時点からメモリコントローラへのデータの転送が開始されずに所定時間が経過したとき、遮断部によりデータ転送回路への電流の供給を遮断する。所定時間は、変更可能である。
【0006】
実施形態のメモリシステムは、半導体記憶装置と、ホストからの要求に基づいて半導体記憶装置を制御するメモリコントローラとを備える。メモリコントローラは、所定時間の推奨値をホストに出力する。
【図面の簡単な説明】
【0007】
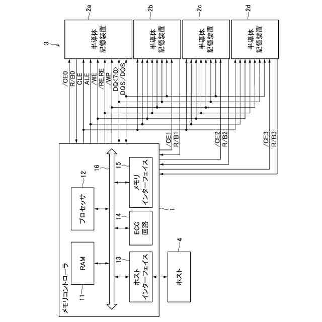
実施形態のメモリシステムの概略構成を示すブロック図。
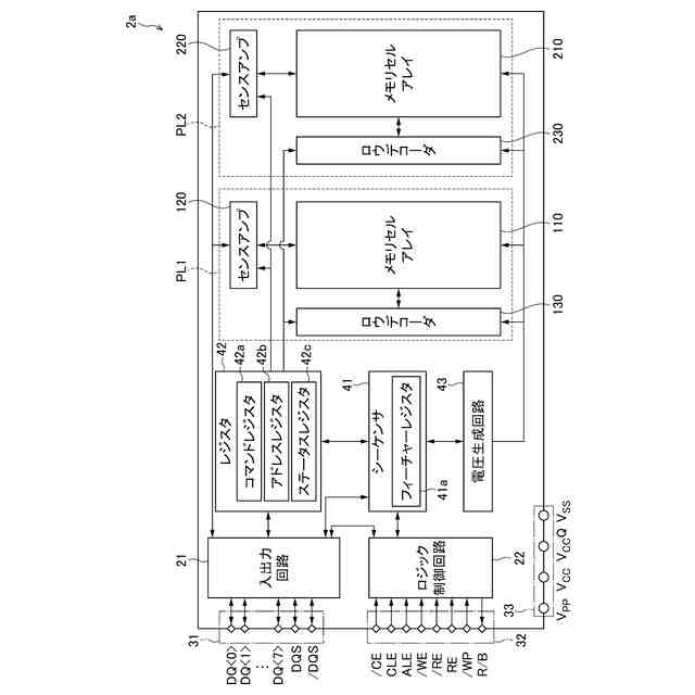
実施形態の半導体記憶装置の概略構成を示すブロック図。
実施形態の半導体記憶装置の構成を示す回路図。
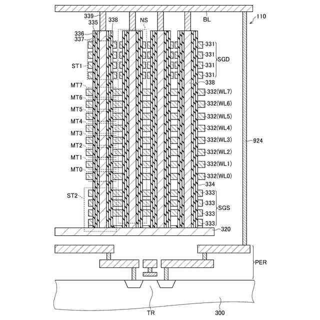
実施形態の半導体記憶装置の断面構造を示す断面図。
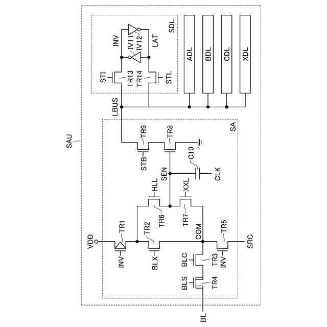
実施形態のセンスアンプユニットの構成を示すブロック図。
メモリセルトランジスタの閾値分布の一例を示す図。
プログラム動作時における各配線の電位変化を示す図。
読み出し動作時における各配線の電位変化を示す図。
実施形態のメモリシステムにおけるメモリセルアレイからメモリコントローラに向けてデータを出力するための回路の構成を示す図。
実施形態の保持部及び入出力回路に電流を供給するための構成を示すブロック図。
実施形態の半導体記憶装置とメモリコントローラとの間で送受信される信号等の推移の一例を示す図。
実施形態の半導体記憶装置とメモリコントローラとの間で送受信される信号等の推移の一例を示す図。
実施形態の半導体記憶装置とメモリコントローラとの間で送受信される信号等の推移の一例を示す図。
実施形態の半導体記憶装置とメモリコントローラとの間で送受信される信号等の推移の一例を示す図。
実施形態のメモリシステムの動作例を示すシーケンスチャート。
実施形態の変形例の保持部及び入出力回路に電流を供給するための概略構成を示すブロック図。
他の実施形態のメモリシステムの動作例を示すシーケンスチャート。
【発明を実施するための形態】
【0008】
以下、実施形態について図面を参照しながら説明する。説明の理解を容易にするため、各図面において同一の構成要素に対しては可能な限り同一の符号を付して、重複する説明は省略する。
【0009】
1 実施形態
実施形態の半導体記憶装置について説明する。本実施形態に係る半導体記憶装置は、NAND型フラッシュメモリとして構成された不揮発性の記憶装置である。
【0010】
1.1 メモリシステムの構成
はじめに、本実施形態のメモリシステムの構成について説明する。
(【0011】以降は省略されています)
この特許をJ-PlatPat(特許庁公式サイト)で参照する
関連特許
キオクシア株式会社
記憶装置
5日前
キオクシア株式会社
記憶装置
11日前
キオクシア株式会社
記憶装置
5日前
キオクシア株式会社
記憶装置
3日前
キオクシア株式会社
記憶装置
7日前
キオクシア株式会社
半導体装置
3日前
キオクシア株式会社
半導体装置
11日前
キオクシア株式会社
半導体装置
4日前
キオクシア株式会社
半導体装置
4日前
キオクシア株式会社
半導体装置
5日前
キオクシア株式会社
磁気記憶装置
4日前
キオクシア株式会社
通信システム
5日前
キオクシア株式会社
磁気記憶装置
7日前
キオクシア株式会社
基板ユニット
7日前
キオクシア株式会社
磁気記憶装置
7日前
キオクシア株式会社
磁気記憶装置
5日前
キオクシア株式会社
磁気記憶装置
5日前
キオクシア株式会社
半導体記憶装置
7日前
キオクシア株式会社
メモリシステム
4日前
キオクシア株式会社
半導体記憶装置
7日前
キオクシア株式会社
半導体記憶装置
7日前
キオクシア株式会社
半導体記憶装置
4日前
キオクシア株式会社
半導体記憶装置
5日前
キオクシア株式会社
メモリデバイス
10日前
キオクシア株式会社
半導体記憶装置
5日前
キオクシア株式会社
半導体記憶装置
5日前
キオクシア株式会社
メモリデバイス
5日前
キオクシア株式会社
半導体記憶装置
3日前
キオクシア株式会社
半導体記憶装置
17日前
キオクシア株式会社
半導体記憶装置
4日前
キオクシア株式会社
半導体記憶装置
3日前
キオクシア株式会社
メモリシステム
3日前
キオクシア株式会社
半導体記憶装置
3日前
キオクシア株式会社
半導体記憶装置
17日前
キオクシア株式会社
半導体記憶装置
3日前
キオクシア株式会社
半導体記憶装置
3日前
続きを見る
他の特許を見る