TOP
|
特許
|
意匠
|
商標
特許ウォッチ
Twitter
他の特許を見る
10個以上の画像は省略されています。
公開番号
2025145132
公報種別
公開特許公報(A)
公開日
2025-10-03
出願番号
2024045159
出願日
2024-03-21
発明の名称
半導体記憶装置
出願人
キオクシア株式会社
代理人
弁理士法人きさらぎ国際特許事務所
主分類
G11C
16/24 20060101AFI20250926BHJP(情報記憶)
要約
【課題】半導体記憶装置のインターフェース性能を改善する。
【解決手段】半導体記憶装置は、メモリセルと、メモリセルに電気的に接続されたビット線と、ビット線に電気的に接続されたセンスアンプ回路と、センスアンプ回路に電気的に接続された第1データ配線と、第1データ配線に電気的に接続されたデータラッチ回路と、データラッチ回路に電気的に接続され、互いに反転したデータ信号を転送可能な第2データ配線及び第3データ配線とを備える。データラッチ回路は、データを保持する第1ノードと、データの反転データを保持する第2ノードとを含む。第1ノードには第2データ配線が電気的に接続される。第2ノードには第1データ配線及び第3データ配線が電気的に接続される。
【選択図】図7
特許請求の範囲
【請求項1】
メモリセルと、
前記メモリセルに電気的に接続されたビット線と、
前記ビット線に電気的に接続されたセンスアンプ回路と、
前記センスアンプ回路に電気的に接続された第1データ配線と、
前記第1データ配線に電気的に接続されたデータラッチ回路と、
前記データラッチ回路に電気的に接続され、互いに反転したデータ信号を転送可能な第2データ配線及び第3データ配線と
を備え、
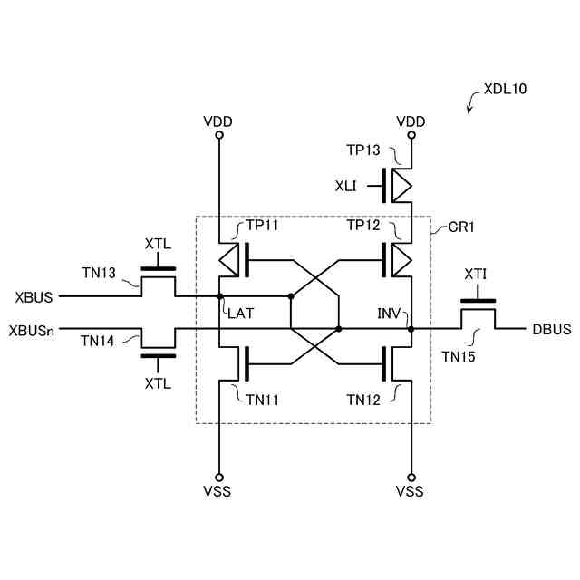
前記データラッチ回路は、データを保持する第1ノードと、前記データの反転データを保持する第2ノードと、を含み、
前記第1ノードには前記第2データ配線が電気的に接続され、
前記第2ノードには前記第1データ配線及び前記第3データ配線が電気的に接続される
半導体記憶装置。
続きを表示(約 1,800 文字)
【請求項2】
前記データラッチ回路は、
第1電圧ノードと、
前記第1電圧ノードよりも低い電圧を供給可能な第2電圧ノードと、
前記第1電圧ノードと前記第2電圧ノードとの間の第1電流経路に、前記第1ノードを介して、直列に接続された第1Pチャネル型MOSトランジスタ及び第1Nチャネル型MOSトランジスタと、
前記第1電圧ノードと前記第2電圧ノードとの間の前記第1電流経路とは異なる第2電流経路に、前記第2ノードを介して、直列に接続された第2Pチャネル型MOSトランジスタ及び第2Nチャネル型MOSトランジスタと
を備え、
前記第1Pチャネル型MOSトランジスタ及び前記第1Nチャネル型MOSトランジスタのゲート電極は前記第2ノードに接続され、
前記第2Pチャネル型MOSトランジスタ及び前記第2Nチャネル型MOSトランジスタのゲート電極は前記第1ノードに接続される
請求項1記載の半導体記憶装置。
【請求項3】
前記センスアンプ回路と前記データラッチ回路とに電気的に接続され、前記第1データ配線によって転送されるデータと反転したデータ信号を転送可能な第4データ配線を備え、
前記第1ノードには前記第4データ配線が電気的に接続される
請求項1記載の半導体記憶装置。
【請求項4】
前記第2データ配線と前記第1ノードとの間に接続された第1MOSトランジスタと、
前記第3データ配線と前記第2ノードとの間に接続された第2MOSトランジスタと
を備える
請求項1記載の半導体記憶装置。
【請求項5】
前記第2データ配線及び前記第3データ配線に電気的に接続されたマルチプレクサと、
前記マルチプレクサに電気的に接続された第5データ配線と
を備え、
前記マルチプレクサは、
前記第5データ配線と前記第2データ配線との間に電気的に接続された第1スイッチ回路と、
前記第5データ配線に電気的に接続された入力端子を備える第1インバータ回路と、
前記第1インバータ回路の出力端子と前記第3データ配線との間に電気的に接続された第2スイッチ回路と
を含む
請求項1記載の半導体記憶装置。
【請求項6】
前記マルチプレクサは、
第3電圧ノードと、
前記第3電圧ノードよりも低い電圧を供給可能な第4電圧ノードと、
前記第3電圧ノードと前記第4電圧ノードとの間の第3電流経路に直列に接続された第3MOSトランジスタ及び第2インバータ回路と、
前記第3電圧ノードと前記第4電圧ノードとの間の前記第3電流経路とは異なる第4電流経路に直列に接続された第4MOSトランジスタ及び第3インバータ回路と、
前記第2インバータ回路の出力端子及び前記第3インバータ回路の入力端子に電気的に接続されたゲート電極を備える第5MOSトランジスタと
を備え、
前記第3MOSトランジスタのゲート電極には前記第2データ配線が接続され、
前記第4MOSトランジスタのゲート電極には前記第3データ配線が接続され、
前記第2インバータ回路の入力端子は前記第3インバータ回路の出力端子に電気的に接続され、
前記第5MOSトランジスタは、前記第5データ配線と前記第4電圧ノードとの間に電気的に接続される
請求項5記載の半導体記憶装置。
【請求項7】
前記マルチプレクサは、
第5電圧ノードと、
前記第3データ配線に電気的に接続されたゲート電極を備える第6MOSトランジスタと
を備え、
前記第6MOSトランジスタは、前記第5データ配線と前記第5電圧ノードとの間に電気的に接続される
請求項5記載の半導体記憶装置。
【請求項8】
前記メモリセルは、
第1方向に延伸する半導体層と、
前記第1方向と交差する第2方向において前記半導体層と対向する導電層と、
前記半導体層と前記導電層との間に設けられた電荷蓄積層と、
前記半導体層と前記電荷蓄積層との間に設けられた絶縁層と
を備える請求項1記載の半導体記憶装置。
発明の詳細な説明
【技術分野】
【0001】
本実施形態は、半導体記憶装置に関する。
続きを表示(約 2,000 文字)
【背景技術】
【0002】
メモリセルと、メモリセルに電気的に接続されたビット線と、ビット線に電気的に接続されたセンスアンプ回路と、を備える半導体記憶装置が知られている。
【先行技術文献】
【特許文献】
【0003】
特開2015-176309号公報
【発明の概要】
【発明が解決しようとする課題】
【0004】
半導体記憶装置のインターフェース性能を改善する。
【課題を解決するための手段】
【0005】
一の実施形態に係る半導体記憶装置は、メモリセルと、メモリセルに電気的に接続されたビット線と、ビット線に電気的に接続されたセンスアンプ回路と、センスアンプ回路に電気的に接続された第1データ配線と、第1データ配線に電気的に接続されたデータラッチ回路と、データラッチ回路に電気的に接続され、互いに反転したデータ信号を転送可能な第2データ配線及び第3データ配線とを備える。データラッチ回路は、データを保持する第1ノードと、データの反転データを保持する第2ノードとを含む。第1ノードには第2データ配線が電気的に接続される。第2ノードには第1データ配線及び第3データ配線が電気的に接続される。
【図面の簡単な説明】
【0006】
第1実施形態に係るメモリシステム10の構成を示す模式的なブロック図である。
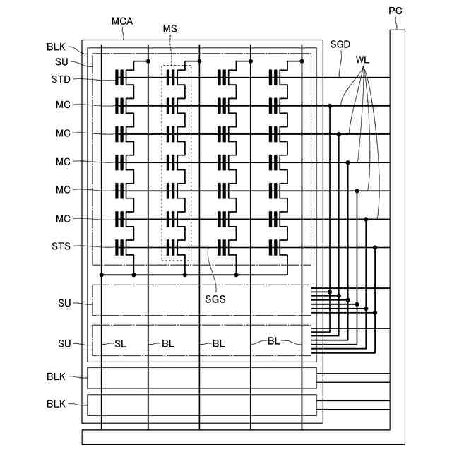
メモリダイMDの一部の構成を示す模式的なブロック図である。
メモリダイMDの一部の構成を示す模式的な回路図である。
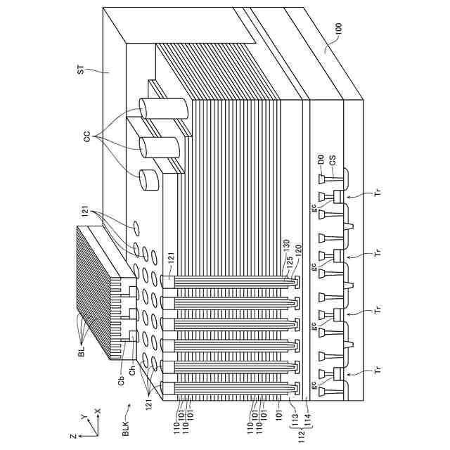
メモリダイMDの一部の構成を示す模式的な斜視図である。
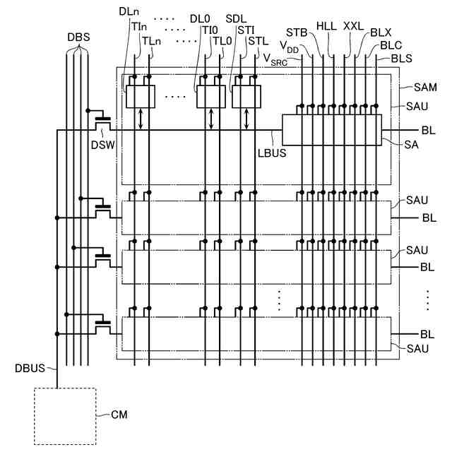
センスアンプモジュールSAMの構成を示す模式的なブロック図である。
キャッシュメモリCMの構成を示す模式的なブロック図である。
ラッチ回路XDL10の構成を示す模式的な回路図である。
データインの際のラッチ回路XDL10の動作について説明するためのタイミングチャートである。
データインの際のラッチ回路XDL10の動作について説明するためのタイミングチャートである。
データアウトの際のラッチ回路XDL10の動作について説明するためのタイミングチャートである。
データアウトの際のラッチ回路XDL10の動作について説明するためのタイミングチャートである。
比較例に係るラッチ回路の構成を示す模式的な回路図である。
比較例に係るラッチ回路の動作について説明するためのタイミングチャートである。
比較例に係るラッチ回路の動作について説明するためのタイミングチャートである。
第2実施形態に係るラッチ回路XDL20の構成を示す模式的な回路図である。
第3実施形態に係るマルチプレクサMUXの接続関係を示す模式的な回路図である。
マルチプレクサMUXの構成を示す模式的な回路図である。
データアウトの際のマルチプレクサMUXの動作について説明するためのタイミングチャートである。
第4実施形態に係るマルチプレクサMUX2の構成を示す模式的な回路図である。
【発明を実施するための形態】
【0007】
次に、実施形態に係る半導体記憶装置を、図面を参照して詳細に説明する。尚、以下の実施形態はあくまでも一例であり、本発明を限定する意図で示されるものではない。
【0008】
また、本明細書において「半導体記憶装置」と言った場合には、メモリダイを意味する事もあるし、メモリチップ、メモリカード、SSD等の、コントローラダイを含むメモリシステムを意味する事もある。更に、スマートホン、タブレット端末、パーソナルコンピュータ等の、ホストコンピュータを含む構成を意味する事もある。
【0009】
また、本明細書において、第1の構成が第2の構成に「電気的に接続されている」と言った場合、第1の構成は第2の構成に直接接続されていても良いし、第1の構成が第2の構成に配線、半導体部材又はトランジスタ等を介して接続されていても良い。例えば、3つのトランジスタを直列に接続した場合には、2つ目のトランジスタがOFF状態であったとしても、1つ目のトランジスタは3つ目のトランジスタに「電気的に接続」されている。
【0010】
また、本明細書において、第1の構成が第2の構成及び第3の構成の「間に接続されている」と言った場合、第1の構成、第2の構成及び第3の構成が直列に接続され、且つ、第1の構成が第2の構成及び第3の構成の電流経路に設けられていることを意味する場合がある。
(【0011】以降は省略されています)
この特許をJ-PlatPat(特許庁公式サイト)で参照する
関連特許
キオクシア株式会社
記憶装置
8日前
キオクシア株式会社
記憶装置
4日前
キオクシア株式会社
記憶装置
2日前
キオクシア株式会社
記憶装置
今日
キオクシア株式会社
記憶装置
2日前
キオクシア株式会社
半導体装置
1日前
キオクシア株式会社
半導体装置
今日
キオクシア株式会社
半導体装置
1日前
キオクシア株式会社
半導体装置
2日前
キオクシア株式会社
半導体装置
8日前
キオクシア株式会社
基板ユニット
4日前
キオクシア株式会社
磁気記憶装置
2日前
キオクシア株式会社
通信システム
2日前
キオクシア株式会社
磁気記憶装置
4日前
キオクシア株式会社
磁気記憶装置
2日前
キオクシア株式会社
磁気記憶装置
4日前
キオクシア株式会社
情報処理装置
16日前
キオクシア株式会社
磁気記憶装置
1日前
キオクシア株式会社
半導体記憶装置
2日前
キオクシア株式会社
半導体記憶装置
2日前
キオクシア株式会社
半導体記憶装置
1日前
キオクシア株式会社
半導体記憶装置
2日前
キオクシア株式会社
メモリシステム
24日前
キオクシア株式会社
半導体記憶装置
4日前
キオクシア株式会社
半導体記憶装置
4日前
キオクシア株式会社
半導体記憶装置
4日前
キオクシア株式会社
半導体記憶装置
1日前
キオクシア株式会社
半導体記憶装置
4日前
キオクシア株式会社
メモリデバイス
7日前
キオクシア株式会社
半導体記憶装置
14日前
キオクシア株式会社
半導体記憶装置
14日前
キオクシア株式会社
メモリシステム
14日前
キオクシア株式会社
半導体記憶装置
15日前
キオクシア株式会社
メモリデバイス
16日前
キオクシア株式会社
半導体記憶装置
16日前
キオクシア株式会社
半導体記憶装置
24日前
続きを見る
他の特許を見る