TOP
|
特許
|
意匠
|
商標
特許ウォッチ
Twitter
他の特許を見る
公開番号
2025140916
公報種別
公開特許公報(A)
公開日
2025-09-29
出願番号
2024040567
出願日
2024-03-14
発明の名称
CAD用のプログラム
出願人
OGI infotec株式会社
代理人
個人
主分類
G06F
30/12 20200101AFI20250919BHJP(計算;計数)
要約
【課題】従来、CADで作成した図面を所定の出力形式で出力した場合、当該出力形式が提出先の規定と異なっている場合には、規定に合うように、サイズや空白領域の設定等、修正する必要があった。このような修正が必要な場合、修正作業が煩雑で、修正作業時にミスが生じる恐れがあった。
【解決手段】本発明は、前述の事情に鑑みてなされたものであり、CADで作成した図面を、所望の出力形式で出力させるプログラム又は装置を提供する。
【選択図】図3
特許請求の範囲
【請求項1】
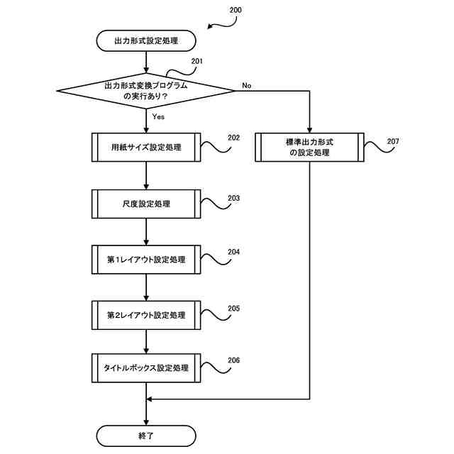
対象構造物の2次元図面の作成をコンピュータに実行させるCAD用のプログラムであって、
予め設定した特定用紙サイズと前記対象構造物の実寸とから、前記対象構造物の前記2次元図面の尺度を設定する第1手順と、
CADの有するデフォルト用紙サイズの図枠のビューラインを、前記特定用紙サイズの図枠の外枠ラインに設定する第2手順と、
前記特定用紙サイズの図枠の外枠ラインから内方周囲に、予め設定した特定幅の非描画領域を設定し、前記非描画領域の内方領域を描画領域に設定する第3手順と、
CADで作成した前記対象構造物の2次元図面を、前記特定用紙サイズの図枠の前記描画領域に、前記第1手順で設定した尺度で表示する第4手順と、
を実行させるためのプログラム。
続きを表示(約 740 文字)
【請求項2】
前記コンピュータは、前記対象構造物の3次元データを記憶するデータ記憶手段を有しており、
前記2次元図面は、前記3次元データの一部又は全体を示す平面図又は断面図であり、
前記第1乃至第4手順を経て出力された2次元図面は、前記3次元データとリンクされた状態で出力されることを特徴とする請求項1に記載のプログラム。
【請求項3】
前記描画領域の予め定められた位置に、前記描画領域に表示される2次元図面の情報を記載したタイトルボックスを表示する第5手順を実行させるための請求項1又は請求項2に記載のプログラム。
【請求項4】
対象構造物の3次元データを記憶するデータ記憶手段を有し、
前記対象構造物の3次元データの一部又は全部の平面図である2次元図面を作成するCADを有する装置であって、
予め設定した特定用紙サイズと前記対象構造物の実寸とから、前記対象構造物の前記2次元図面の尺度を設定する尺度設定手段と、
CADの有するデフォルト用紙サイズの図枠のビューラインを、前記特定用紙サイズの図枠の外枠ラインに設定する第1レイアウト設定手段と、
前記特定用紙サイズの図枠の外枠ラインから内方周囲に、予め設定した特定幅の非描画領域を設定し、前記非描画領域の内方領域を描画領域に設定する第2レイアウト設定手段と、
CADで作成した前記対象構造物の2次元図面を、前記特定用紙サイズの図枠の前記描画領域に、前記尺度設定手段で設定した尺度で表示する図面出力手段と、を備え、
前記図面出力手段は、前記2次元図面を、前記3次元データとリンクされた状態で出力する
ことを特徴とする装置。
発明の詳細な説明
【技術分野】
【0001】
本発明は、CADで作成する図面を、所望の出力形式で出力するCAD用プログラムに関するものである。
続きを表示(約 2,000 文字)
【背景技術】
【0002】
従来から、トンネル、道路等の構造物を設計開発する際に、CAD(コンピュータ支援設計)が用いられている。そして、CADを用いて作成した設計図面を発注者に提出し、発注者の要望があれば提出した設計図面の修正を行うといった手順を経て、設計図面を完成させていた。
【0003】
ところで、CADソフトウェア(単に、「CAD」ともいう)は世界中で何種類も販売されており、CADソフトウェアの種類によって操作性能や出力性能(出力形式)等が異なっている。また、近年CADソフトウェアの性能は年々向上しており、3次元データから当該3次元データにリンクする2次元図面を作成したり、構造物の実寸から最適な尺度や用紙サイズを決定して当該CADソフトウェアが最適と定める配置やサイズで図面を出力(表示)するといった機能を有している。尚、CADで作成した図面の出力サイズに関する従来の技術として、下記の先行技術がある。
【先行技術文献】
【特許文献】
【0004】
特開平6-210993
【発明の概要】
【発明が解決しようとする課題】
【0005】
あるCADソフトウェアが予め備える出力機能で図面を出力した場合、当該出力形式(用紙における表示位置、表示サイズ、尺度等)が発注者の指定する形式と異なることがある。この場合には、当該CADで作成した図面を、発注者の指定する形式に整えて提出する必要がある。また、構造物の3次元データから2次元図面を作成する場合には、当該3次元データと2次元図面とをリンクした状態で出力(表示)することが可能であるところ、3次元データから作成された2次元図面の形式を変更するためには、このリンクした状態を解除して(分解した状態で)行う必要があった。このように分解した状態では、その後に設計変更の指示があった場合に、3次元データを有効活用できず、図面の修正作業が煩雑となり、ミスの原因にもなり得るものであった。
【0006】
本発明は、前述の事情に鑑みてなされたものであり、CADで作成した図面を、所望の出力形式で出力させるプログラム又は装置を提供する。
【課題を解決するための手段】
【0007】
前述の課題を解決するための第1発明のプログラムは、
対象構造物の2次元図面の作成をコンピュータに実行させるCAD用のプログラムであって、
予め設定した特定用紙サイズと前記対象構造物の実寸とから、前記対象構造物の前記2次元図面の尺度を設定する第1手順と、
CADの有するデフォルト用紙サイズの図枠のビューラインを、前記特定用紙サイズの図枠の外枠ラインに設定する第2手順と、
前記特定用紙サイズの図枠の外枠ラインから内方周囲に、予め設定した特定幅の非描画領域を設定し、前記非描画領域の内方領域を描画領域に設定する第3手順と、
CADで作成した前記対象構造物の2次元図面を、前記特定用紙サイズの図枠の前記描画領域に、前記第1手順で設定した尺度で表示する第4手順と、
を実行させることを特徴とする。
【0008】
このようなプログラムによれば、構造物の図面上の尺度や、図面の用紙サイズや、設定した用紙上における図面の描画範囲を、予め所望の形式に設定して出力することを可能にする。これにより、一旦出力された図面を発注者の指示にあった形式に調整するといった煩雑な作業を、極力省略することが可能となる。また、図面を調整する際に生じ得るミスの発生を、極力防止することが可能となる。
【0009】
また、第2発明のプログラムは、第1発明のプログラムにおいて、
前記コンピュータは、前記対象構造物の3次元データを記憶するデータ記憶手段を有しており、
前記2次元図面は、前記3次元データの一部又は全体を示す平面図又は断面図であり、
前記第1乃至第4手順を経て出力された2次元図面は、前記3次元データとリンクされた状態で出力されることを特徴とする。
【0010】
このようなプログラムによれば、コンピュータが対象構造物の3次元データを記憶しており、当該3次元データに基づいて、当該3次元データの一部又は全体を示す平面図又は断面図の2次元図面を作成する。そして、第1乃至第4手順を経て作成された2次元図面は、3次元データとリンクされた状態で所望の形式で出力される。これにより、対象構造物の設計変更を行う際は、3次元データを修正すれば自動的に2次元データが修正されるため、設計変更の際の2次元図面の修正の手間を極力省略し、修正ミスの発生を低減することが可能となる。
(【0011】以降は省略されています)
この特許をJ-PlatPat(特許庁公式サイト)で参照する
関連特許
個人
地球保全システム
4日前
個人
フラワーコートA
1か月前
個人
工程設計支援装置
1か月前
個人
冷凍食品輸出支援構造
1か月前
個人
為替ポイント伊達夢貯
1か月前
個人
介護情報提供システム
2か月前
個人
表変換編集支援システム
24日前
個人
携帯情報端末装置
1か月前
個人
結婚相手紹介支援システム
1か月前
個人
知財出願支援AIシステム
1か月前
個人
AIによる情報の売買の仲介
1か月前
個人
行動時間管理システム
26日前
個人
パスワード管理支援システム
24日前
株式会社キーエンス
受発注システム
3日前
株式会社キーエンス
受発注システム
3日前
個人
AIキャラクター制御システム
24日前
個人
食品レシピ生成システム
3日前
個人
パスポートレス入出国システム
1か月前
日本精機株式会社
施工管理システム
1か月前
株式会社キーエンス
受発注システム
3日前
個人
アンケート支援システム
2か月前
個人
システム及びプログラム
17日前
個人
海外支援型農作物活用システム
16日前
株式会社アジラ
進入判定装置
1か月前
大同特殊鋼株式会社
疵判定方法
10日前
個人
社会還元・施設向け供給支援構造
24日前
個人
SaaS型勤務調整支援システム
24日前
サクサ株式会社
中継装置
2か月前
大阪瓦斯株式会社
住宅設備機器
1か月前
個人
食事受注会計処理システム
1か月前
個人
人格進化型対話応答制御システム
24日前
個人
冷凍加工連携型農場運用システム
1か月前
キヤノン株式会社
表示システム
3日前
個人
ジェスチャーパッドのガイド部材
2か月前
サクサ株式会社
中継装置
24日前
個人
未来型家系図構築システム
16日前
続きを見る
他の特許を見る