TOP
|
特許
|
意匠
|
商標
特許ウォッチ
Twitter
他の特許を見る
10個以上の画像は省略されています。
公開番号
2025141078
公報種別
公開特許公報(A)
公開日
2025-09-29
出願番号
2024040828
出願日
2024-03-15
発明の名称
配線部材組付体及び追加配線部材組付モジュール
出願人
株式会社オートネットワーク技術研究所
,
住友電装株式会社
,
住友電気工業株式会社
代理人
個人
,
個人
,
個人
,
個人
主分類
B60R
16/02 20060101AFI20250919BHJP(車両一般)
要約
【課題】配線部材が内装部材によって保持されている場合において、内装部材の内側に配置されたエアバッグが円滑に展開できるようにすることを目的とする。
【解決手段】配線部材組付体20は、車室側を向く内装部材30と、内装部材に沿うように内装部材によって保持される配線部材38と、を備え、配線部材は、内装部材によって覆われる内側区間42と、内装部材から延出する外側区間44、46とを含み、内側区間は、内装部材における配線経路長よりも長い。
【選択図】図2
特許請求の範囲
【請求項1】
車室側を向く内装部材と、
前記内装部材に沿うように前記内装部材によって保持される配線部材と、
を備え、
前記配線部材は、前記内装部材によって覆われる内側区間と、前記内装部材から延出する外側区間とを含み、
前記内側区間は、前記内装部材における配線経路長よりも長い、配線部材組付体。
続きを表示(約 1,200 文字)
【請求項2】
請求項1に記載の配線部材組付体であって、
前記内装部材は、ピラー本体を車室側から覆う長尺形状のピラー用内装部材であり、
前記内側区間が前記ピラー用内装部材の長手方向に沿うように、前記配線部材が前記ピラー用内装部材によって保持され、
前記外側区間は、前記ピラー用内装部材の一端から延出する第1外側区間と、前記ピラー用内装部材の他端から延出する第2外側区間とを有し、
前記内側区間は、前記ピラー用内装部材よりも長い、配線部材組付体。
【請求項3】
請求項1又は請求項2に記載の配線部材組付体であって、
前記内装部材は、主内装部材と、前記主内装部材を前記車室側から覆う追加内装部材と、
を含み、
前記内側区間の少なくとも一部が前記主内装部材と前記追加内装部材との間に位置する、配線部材組付体。
【請求項4】
請求項3に記載の配線部材組付体であって、
前記内側区間は、前記配線経路長よりも長い余長を吸収するように曲っている余長吸収部を有し、
前記余長吸収部が、前記主内装部材によって覆われている、配線部材組付体。
【請求項5】
請求項4に記載の配線部材組付体であって、
前記主内装部材は、車室側に開口する開口を有し、
前記内側区間は、前記開口を通って前記主内装部材と前記追加内装部材との間の領域から前記主内装部材によって覆われる領域に向う、配線部材組付体。
【請求項6】
請求項5に記載の配線部材組付体であって、
前記開口は、前記主内装部材の側縁に開口する凹みである、配線部材組付体。
【請求項7】
請求項3に記載の配線部材組付体であって、
前記追加内装部材は、前記主内装部材の表面に沿って変形した状態で、前記主内装部材の表面に接合されたフィルムである、配線部材組付体。
【請求項8】
請求項7に記載の配線部材組付体であって、
前記内側区間の少なくとも一部が前記主内装部材の側縁に沿っている、配線部材組付体。
【請求項9】
請求項1又は請求項2に記載の配線部材組付体であって、
前記内側区間は、波状、環状又は螺旋状に曲げられた余長吸収部を有する、配線部材組付体。
【請求項10】
車室側を向く主内装部材に取付けられる追加配線部材組付モジュールであって、
前記主内装部材を覆うように前記主内装部材に取付けられる追加内装部材と、
少なくとも一部が前記主内装部材と前記追加内装部材との間に位置するように、前記主内装部材に沿って配置される配線部材と、
を備え、
前記配線部材が、前記主内装部材又は前記追加内装部材によって覆われる区間で、曲る形状に形成されている余長吸収部を含む、追加配線部材組付モジュール。
(【請求項11】以降は省略されています)
発明の詳細な説明
【技術分野】
【0001】
本開示は、配線部材組付体及び追加配線部材組付モジュールに関する。
続きを表示(約 1,300 文字)
【背景技術】
【0002】
特許文献1には、車両のルーフに設けられた機器とルーフよりも下方に設けられた機器とが中継伝送部材を介して電気的に接続されること、当該中継接続部がピラーに沿って配設されることとが開示されている。
【先行技術文献】
【特許文献】
【0003】
国際公開第2021/220573号
【発明の概要】
【発明が解決しようとする課題】
【0004】
配線部材がピラー等の内装部材に保持されることが想定される。また、内装部材の内側にエアバッグが配置されることがある。このような場合においても、エアバッグが円滑に展開できることが望まれている。
【0005】
そこで、本開示は、配線部材が内装部材によって保持されている場合において、内装部材の内側に配置されたエアバッグが円滑に展開できるようにすることを目的とする。
【課題を解決するための手段】
【0006】
本開示の配線部材組付体は、車室側を向く内装部材と、前記内装部材に沿うように前記内装部材によって保持される配線部材と、を備え、前記配線部材は、前記内装部材によって覆われる内側区間と、前記内装部材から延出する外側区間とを含み、前記内側区間は、前記内装部材における配線経路長よりも長い、配線部材組付体である。
【0007】
また、本開示の追加配線部材組付モジュールは、車室側を向く主内装部材に取付けられる追加配線部材組付モジュールであって、前記主内装部材を覆うように前記主内装部材に取付けられる追加内装部材と、少なくとも一部が前記主内装部材と前記追加内装部材との間に位置するように、前記主内装部材に沿って配置される配線部材と、を備え、前記配線部材が、前記主内装部材又は前記追加内装部材によって覆われる区間で、曲る形状に形成されている余長吸収部を含む、追加配線部材組付モジュールである。
【発明の効果】
【0008】
本開示によれば、配線部材が内装部材によって保持されている場合において、内装部材の内側に配置されたエアバッグが円滑に展開できる。
【図面の簡単な説明】
【0009】
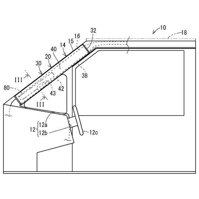
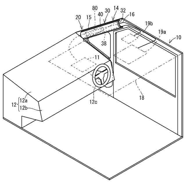
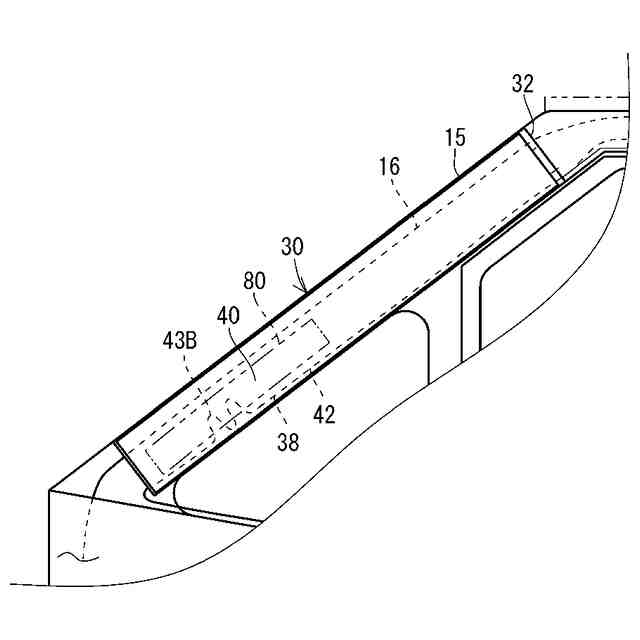
図1は実施形態1に係る配線部材組付体を備える車両の一部を示す概略斜視図である。
図2は同上の車両の一部を示す概略側面図である。
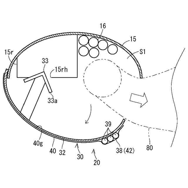
図3は図2のIII-III線における概略断面図である。
図4は配線部材組付体の組付作業例を示す説明図である。
図5はエアバッグの展開動作例を示す説明図である。
図6はエアバッグの展開動作例を示す説明図である。
図7は変形例に係る余長吸収部を示す図である。
図8は実施形態2に係る配線部材組付体を示す概略側面図である。
図9は図8のIX-IX線断面図である。
図10は変形例に係る余長吸収部を示す図である。
図11は変形例に係る余長吸収部を示す図である。
【発明を実施するための形態】
【0010】
[本開示の実施形態の説明]
最初に本開示の実施態様を列記して説明する。
(【0011】以降は省略されています)
この特許をJ-PlatPat(特許庁公式サイト)で参照する
関連特許
個人
カーテント
4か月前
個人
タイヤレバー
2か月前
個人
前輪キャスター
1か月前
個人
車窓用防虫網戸
4か月前
個人
ルーフ付きトライク
1か月前
個人
車輪清掃装置
4か月前
個人
タイヤ脱落防止構造
1か月前
個人
ホイルのボルト締結
3か月前
個人
キャンピングトライク
3か月前
井関農機株式会社
作業車両
3か月前
日本精機株式会社
表示装置
1か月前
日本精機株式会社
表示装置
2か月前
日本精機株式会社
表示装置
2か月前
井関農機株式会社
作業車両
3か月前
日本精機株式会社
表示装置
2か月前
個人
車両通過構造物
2か月前
個人
マスタシリンダ
6日前
個人
ワイパーゴム性能保持具
4か月前
個人
車両用スリップ防止装置
3か月前
個人
キャンピングトレーラー
3か月前
個人
アクセルのソフトウェア
3か月前
個人
乗合路線バスの客室装置
2か月前
日本精機株式会社
車載表示装置
3か月前
個人
音声ガイド、音声サービス
2か月前
日本精機株式会社
車載表示装置
14日前
株式会社クラベ
ヒータユニット
4か月前
日本精機株式会社
車室演出装置
1か月前
個人
円湾曲ホイール及び球体輪
2か月前
株式会社豊田自動織機
産業車両
1か月前
株式会社ニフコ
保持装置
3か月前
株式会社ニフコ
照明装置
1か月前
株式会社ニフコ
収納装置
23日前
井関農機株式会社
収穫作業車両
4か月前
個人
車載小物入れ兼雨傘収納具
3か月前
井関農機株式会社
作業車両
3か月前
日本精機株式会社
車両用投影装置
13日前
続きを見る
他の特許を見る