TOP
|
特許
|
意匠
|
商標
特許ウォッチ
Twitter
他の特許を見る
公開番号
2025141344
公報種別
公開特許公報(A)
公開日
2025-09-29
出願番号
2024041237
出願日
2024-03-15
発明の名称
コンソールボックス構造
出願人
本田技研工業株式会社
代理人
弁理士法人桐朋
主分類
B60R
7/04 20060101AFI20250919BHJP(車両一般)
要約
【課題】側突荷重に対する吸収能力を改善する。
【解決手段】コンソールボックス構造10は、車両100において車幅方向に並んだ第1座席S1と第2座席S2との間に設けられる。コンソールボックス構造10は、コンソールボックス12と、コンソールボックス12内に配置され、車体フロアから上方に延在するコンソールブラケット14と、コンソールボックス12内に配置され、コンソールブラケット14の上部に固定され、軸方向が車幅方向に沿った筒状部材17からなるロードパス部材16とを備える。
【選択図】図5
特許請求の範囲
【請求項1】
車両において車幅方向に並んだ第1座席と第2座席との間に設けられたコンソールボックス構造であって、
コンソールボックスと、
前記コンソールボックス内に配置され、車体フロアから上方に延在するコンソールブラケットと、
前記コンソールボックス内に配置され、前記コンソールブラケットの上部に固定され、軸方向が前記車幅方向に沿った筒状部材からなるロードパス部材と、を備える、コンソールボックス構造。
続きを表示(約 880 文字)
【請求項2】
請求項1に記載のコンソールボックス構造において、
前記ロードパス部材は、前記車幅方向から見て多角形状である、コンソールボックス構造。
【請求項3】
請求項1に記載のコンソールボックス構造において、
前記コンソールボックスに対する前記コンソールブラケットの固定方向は、鉛直方向又は前記鉛直方向に対して傾斜する方向である、コンソールボックス構造。
【請求項4】
請求項3に記載のコンソールボックス構造において、
前記コンソールブラケットは、クリップによって前記コンソールボックスに固定されている、コンソールボックス構造。
【請求項5】
請求項1~4のいずれか1項に記載のコンソールボックス構造において、
前記ロードパス部材の前記軸方向の一端と他端は、前記車幅方向における前記コンソールボックスの側壁又は前記側壁に固定された他の部材に接触する、コンソールボックス構造。
【請求項6】
請求項1~4のいずれか1項に記載のコンソールボックス構造において、
前記車幅方向における前記ロードパス部材の両端部には、前記ロードパス部材の本体に対して折れ曲がり、前記車幅方向に対して垂直な平面を有する突出部が設けられている、コンソールボックス構造。
【請求項7】
請求項1~4のいずれか1項に記載のコンソールボックス構造において、
前記コンソールブラケットは、前記コンソールブラケットの厚み方向に膨出し且つ前記コンソールブラケットの長手方向に延在するビード部を有する、コンソールボックス構造。
【請求項8】
請求項1~4のいずれか1項に記載のコンソールボックス構造において、
前記ロードパス部材は、板状部材を筒状に変形させて形成されたものであり、前記板状部材の一端部と他端部とが互いに重なる重複部を有し、
前記重複部と前記コンソールブラケットとが互いに接合されている、コンソールボックス構造。
発明の詳細な説明
【技術分野】
【0001】
本発明は、コンソールボックス構造に関する。
続きを表示(約 1,700 文字)
【背景技術】
【0002】
近年、交通参加者の中でも高齢者や障がい者や子供といった脆弱な立場にある人々にも配慮した持続可能な輸送システムへのアクセスを提供する取り組みが活発化している。この実現に向けて、衝突安全性能に関する開発を通して交通の安全性や利便性をより一層改善する研究開発が進められている。
【0003】
特許文献1には、車両の側突性能を高めるための構造が開示されている。この構造では、車内のセンターコンソールボックス内に平板状の補強部材が配置されている。補強部材は、センターコンソールボックス内を車両前後方向に仕切る壁として機能する部材である。この構造によれば、荷重入力方向に対して補強部材が縦壁状に突っ張った状態で位置する。このため、車両に側突荷重が入力され、運転手側又は助手席側から側突荷重が伝達された場合でも、側突荷重を吸収することができる。
【先行技術文献】
【特許文献】
【0004】
特許第6895236号公報
【発明の概要】
【発明が解決しようとする課題】
【0005】
上述したように、特許文献1では、補強部材を備える構造が開示されている。しかしながら、側突荷重に対する吸収能力については改善の余地がある。このような改善は、持続可能な輸送システムの発展に寄与するものである。
【0006】
本発明は、上述した課題を解決することを目的とする。
【課題を解決するための手段】
【0007】
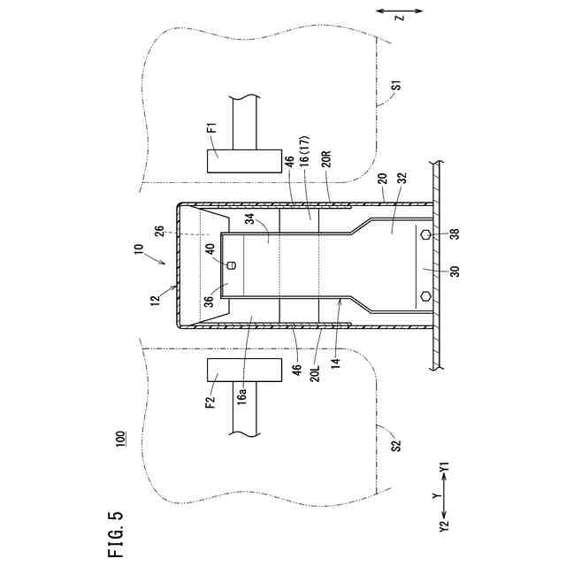
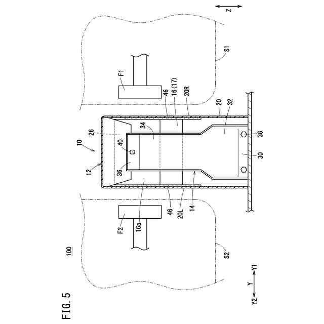
本発明の態様は、車両において車幅方向に並んだ第1座席と第2座席との間に設けられたコンソールボックス構造であって、コンソールボックスと、前記コンソールボックス内に配置され、車体フロアから上方に延在するコンソールブラケットと、前記コンソールボックス内に配置され、前記コンソールブラケットの上部に固定され、軸方向が前記車幅方向に沿った筒状部材からなるロードパス部材と、を備える、コンソールボックス構造である。
【発明の効果】
【0008】
本発明によれば、ロードパス部材が筒状部材からなるため、車両に側突荷重が入力された際に、ロードパス部材が第1座席又は第2座席からの側突荷重をしっかり吸収するとともに、第1座席及び第2座席の一方側から他方側に側突荷重を効果的に伝達することができる。これにより、側突性能を向上させることができる。
【図面の簡単な説明】
【0009】
図1は、本発明の実施形態に係るコンソールボックス構造が配置された車内の斜視図である。
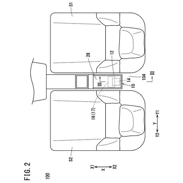
図2は、コンソールボックス構造及びその周辺の車内の平面図である。
図3は、図2におけるIII-III線に沿ったコンソールボックス構造の断面図である。
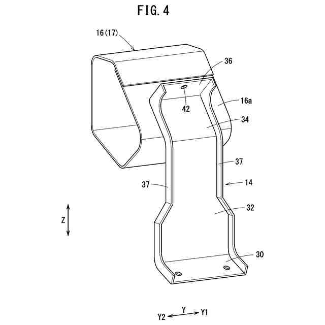
図4は、コンソールブラケット及びロードパス部材の斜視図である。
図5は、図3におけるV-V線に沿った断面図である。
図6は、変形例に係るコンソールボックス構造の断面図である。
図7は、変形例に係るコンソールボックス構造のコンソールブラケット及びロードパス部材の斜視図である。
【発明を実施するための形態】
【0010】
図1に示すように、本実施形態に係るコンソールボックス構造10は、車両100の車室内において、ダッシュボード102の下方且つ後方に配置されている。車両100の動力源は特に限定されず、車両100は内燃機関車又は電気自動車のいずれでもよい。以下の説明において、「前方」は、車両前後方向(X方向)における前方(X1方向)を意味する。「後方」は、車両前後方向における後方(X2方向)を意味する。「上方」は、鉛直方向(Z方向)における上方を意味する。「下方」は、鉛直方向における下方を意味する。車幅方向(Y方向)は、車両100の左右方向である。車幅方向のうち、Y1方向は右方向であり、Y2方向は左方向である。
(【0011】以降は省略されています)
この特許をJ-PlatPat(特許庁公式サイト)で参照する
関連特許
本田技研工業株式会社
車両
1か月前
本田技研工業株式会社
車両
7日前
本田技研工業株式会社
装置
6日前
本田技研工業株式会社
モータ
3日前
本田技研工業株式会社
保持装置
今日
本田技研工業株式会社
バッテリ
今日
本田技研工業株式会社
バッテリ
今日
本田技研工業株式会社
固体電池
1日前
本田技研工業株式会社
断続装置
1日前
本田技研工業株式会社
送電装置
1日前
本田技研工業株式会社
受電装置
1日前
本田技研工業株式会社
車両構造
3日前
本田技研工業株式会社
車両構造
3日前
本田技研工業株式会社
内燃機関
6日前
本田技研工業株式会社
内燃機関
6日前
本田技研工業株式会社
保管装置
1日前
本田技研工業株式会社
通知装置
6日前
本田技研工業株式会社
電解装置
14日前
本田技研工業株式会社
ロボット
29日前
本田技研工業株式会社
回転機械
1か月前
本田技研工業株式会社
保管装置
1日前
本田技研工業株式会社
鞍乗型車両
13日前
本田技研工業株式会社
触媒インク
1か月前
本田技研工業株式会社
触媒インク
1か月前
本田技研工業株式会社
リアクトル
6日前
本田技研工業株式会社
運転制御装置
3日前
本田技研工業株式会社
クラッチ装置
22日前
本田技研工業株式会社
鞍乗り型車両
23日前
本田技研工業株式会社
車両制御装置
15日前
本田技研工業株式会社
動力伝達装置
28日前
本田技研工業株式会社
潤滑システム
1日前
本田技研工業株式会社
電源システム
1日前
本田技研工業株式会社
鞍乗り型車両
1か月前
本田技研工業株式会社
潤滑システム
13日前
本田技研工業株式会社
車両制御装置
13日前
本田技研工業株式会社
放電処理方法
1日前
続きを見る
他の特許を見る