TOP
|
特許
|
意匠
|
商標
特許ウォッチ
Twitter
他の特許を見る
10個以上の画像は省略されています。
公開番号
2025142098
公報種別
公開特許公報(A)
公開日
2025-09-29
出願番号
2025120852,2025018783
出願日
2025-07-17,2017-09-13
発明の名称
通信管理システム、通信システム、通信管理方法、及びプログラム
出願人
株式会社リコー
代理人
弁理士法人酒井国際特許事務所
主分類
H04N
7/15 20060101AFI20250919BHJP(電気通信技術)
要約
【課題】特殊な撮影装置から取得された画像データを受信した通信端末が、平面画像に合わせて表示すると、全天球パノラマ画像の元になる2つの半球画像を表示することになり、非常に見え難い画像となる。一般の撮影装置から取得された画像データを受信した通信端末が、全天球パノラマ画像を作成する処理をしてしまうと、画像が壊れてしまい非常に見え難い画像になる。
【解決手段】第1の通信端末から、画像の種類を示す画像種類情報を受信し(S54)、画像種類情報の受信に基づき、第1の通信端末から第2の通信端末に送信する画像データを識別するための画像データ識別情報を生成し(S56)、第1の通信端末に上記の生成された画像データ識別情報を送信し(S58)、第2の通信端末に上記の生成された画像データ識別情報及び上記の受信された画像種類情報を送信する(S60)。
【選択図】図20
特許請求の範囲
【請求項1】
第1の通信端末から、画像の種類を示す画像種類情報を受信する受信手段と、
前記画像種類情報の受信に基づき、前記第1の通信端末から第2の通信端末に送信する画像データを識別するための画像データ識別情報を生成する生成手段と、
前記第1の通信端末に前記生成された画像データ識別情報を送信し、前記第2の通信端末に前記生成された画像データ識別情報及び前記受信された画像種類情報を送信する送信手段と、
を有することを特徴とする通信管理システム。
続きを表示(約 1,200 文字)
【請求項2】
請求項1に記載の通信管理システムであって、
所定の映像通話の通信セッションを識別するための所定のセッション識別情報、及び所定の複数の通信端末の各宛先を関連付けて管理するセッション管理手段を有し、
前記送信手段は、前記セッション管理手段において、特定のセッション識別情報に前記第1の通信端末の宛先と共に関連付けられている前記第2の通信端末の宛先に対して、前記画像データ識別情報及び前記画像種類情報を送信することを特徴とする通信管理システム。
【請求項3】
画像種類は、平面画像、及び全天球パノラマ画像であることを特徴とする請求項1又は2に記載の通信管理システム。
【請求項4】
請求項1乃至3のいずれか一項に記載の通信管理システムと、
前記第1の通信端末と、
を有することを特徴とする通信システム。
【請求項5】
前記第1の通信端末は、全天球パノラマ画像データを得る撮像装置から取得したGUIDに基づいて画像種類の判断を行い、当該判断の結果を示す前記画像種類情報を前記通信管理システムに送信することを特徴とする請求項4に記載の通信システム。
【請求項6】
請求項1乃至3のいずれか一項に記載の通信管理システムと、
前記第2の通信端末と、
を有することを特徴とする通信システム。
【請求項7】
前記第2の通信端末は、前記画像種類情報が全天球パノラマ画像である旨を示す場合には、前記第1の通信端末が送信した画像データに基づき、全天球パノラマ画像データを作成することを特徴とする請求項6に記載の通信システム。
【請求項8】
前記第1の通信端末及び前記第2の通信端末は、ビデオ会議端末、パーソナルコンピュータ、スマートフォン、デジタルテレビ、スマートウオッチ、又はカーナビゲーション装置であることを特徴とする請求項1乃至3のいずれか一項に記載の通信システム。
【請求項9】
第1及び第2の通信端末の通信を管理する通信管理システムが実行する通信管理方法であって、
前記通信管理システムは、
第1の通信端末から、画像の種類を示す画像種類情報を受信する受信ステップと、
前記画像種類情報の受信に基づき、前記第1の通信端末から第2の通信端末に送信する画像データを識別するための画像データ識別情報を生成する生成ステップと、
前記第1の通信端末に前記生成された画像データ識別情報を送信し、前記第2の通信端末に前記生成された画像データ識別情報及び前記受信された画像種類情報を送信する送信ステップと、
を実行することを特徴とする通信管理方法。
【請求項10】
コンピュータに、請求項9に記載の方法を実行させるためのプログラム。
発明の詳細な説明
【技術分野】
【0001】
本発明は、通信管理システム、通信システム、通信管理方法、及びプログラムに関するものである。
続きを表示(約 2,500 文字)
【背景技術】
【0002】
インターネット等の通信ネットワークを介して、遠隔地との間で遠隔会議を行う会議システムが普及している。この会議システムにおいては、遠隔会議を行う出席者等の当事者の一方がいる会議室において、遠隔会議システムの通信端末を用いて会議の当事者などの会議室の画像および発言などの音声を撮影および収集し、これらをデジタルデータに変換して相手方の通信端末に送信している。これにより、相手方の会議室のディスプレイに画像表示およびスピーカにより音声出力して、映像通話(ビデオ通話)を行なうことができるため、実際の会議に近い状態で遠隔地間の会議を行う技術が知られている(特許文献1参照)。
【0003】
一方、通信端末に全天球パノラマ画像をリアルタイムに取得可能な撮影装置を接続し、この撮影装置から取得された全天球パノラマ画像を相手方の各通信端末に配信し、相手方の各通信端末において、全天球パノラマ画像から矩形の平面画像に逐次画像変換処理を行ってディスプレイ等に表示する技術が知られている(特許文献2参照)。
【発明の概要】
【発明が解決しようとする課題】
【0004】
しかしながら、各拠点で利用されている撮影装置が、矩形の平面画像を得る一般の撮影装置と、全天球パノラマ画像の元になる2つの半球画像を得る特殊な撮影装置のように、種類が異なっている場合には、画像データを受信した通信端末側では、以下のような課題が生じる。
【0005】
即ち、特殊な撮影装置から取得された画像データを受信した通信端末が、平面画像に合わせて表示すると、全天球パノラマ画像の元になる2つの半球画像を表示することになり、図23(a)に示されているように、利用者A1等が球面画像の中で下向きに表示されるため、非常に見え難い画像となる。一方、一般の撮影装置から取得された画像データを受信した通信端末が、全天球パノラマ画像を作成する処理をしてしまうと、画像が壊れてしまい非常に見え難い画像になってしまう。
【課題を解決するための手段】
【0006】
請求項1に係る発明は、第1の通信端末から、画像の種類を示す画像種類情報を受信する受信手段と、前記画像種類情報の受信に基づき、前記第1の通信端末から第2の通信端末に送信する画像データを識別するための画像データ識別情報を生成する生成手段と、前記第1の通信端末に前記生成された画像データ識別情報を送信し、前記第2の通信端末に前記生成された画像データ識別情報及び前記受信された画像種類情報を送信する送信手段と、を有することを特徴とする通信管理システムである。
【発明の効果】
【0007】
本発明によれば、画像データを受信した第2の通信端末側では、画像種類情報に応じて画像処理を行なうことができるため、見え易い画像を表示することができるという効果を奏する。
【図面の簡単な説明】
【0008】
図1(a)は撮影装置の左側面図であり、図1(b)は撮影装置の正面図であり、図1(c)は撮影装置の平面図である。
図2は、撮影装置の使用イメージ図である。
図3(a)は撮影装置で撮影された半球画像(前)、図3(b)は撮影装置で撮影された半球画像(後)、図3(c)はメルカトル図法により表された画像を示した図である。
図4(a)はメルカトル画像で球を被う状態を示した概念図、図4(b)は全天球パノラマ画像を示した図である。
図5は、全天球パノラマ画像を3次元の立体球とした場合の仮想カメラ及び所定領域の位置を示した図である。
図6(a)は図5の立体斜視図、図6(b)は通信端末のディスプレイに所定領域の画像が表示されたている状態を示す図である。
図7は、所定領域情報と所定領域の画像との関係を示した図である。
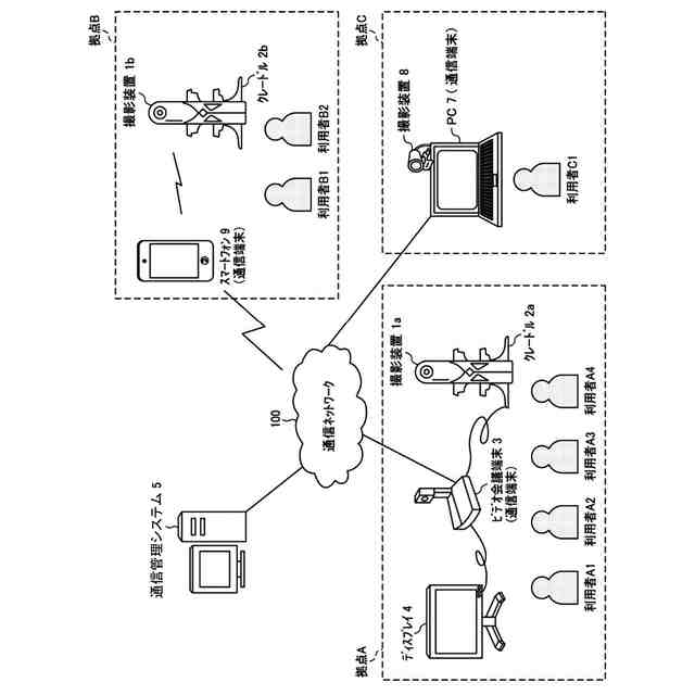
図8は、本発明の実施形態に係る画像通信システムの概略図である。
図9は、撮影装置のハードウェア構成図である。
図10は、ビデオ会議端末のハードウェア構成図である。
図11は、通信管理システム及びPCのハードウェア構成図である。
図12は、スマートフォンのハードウェア構成図である。
図13は、画像通信システムの機能ブロック図である。
図14は、画像種類管理テーブルを示す概念図である。
図15は、撮影装置管理テーブルを示す概念図である。
図16は、セッション管理テーブルを示す概念図である。
図17は、画像種類管理テーブルを示す概念図である。
図18は、特定の通信セッションへの参加処理を示したシーケンス図である。
図19は、通信セッション(仮想の会議室)の選択画面を示した図である。
図20は、画像種類情報の管理処理を示すシーケンス図である。
図21は、映像通話における画像データの通信処理を示すシーケンス図である。
図22(a)は撮影装置を利用しない場合を示した図であり、図22(b)は撮影装置を利用する場合を示した図である。
図23は、拠点Bにおけるディスプレイの表示例を示した図であり、図23(a)は、撮影装置1a,1bから送られて来た画像データから、全天球パノラマ画像の作成及び所定領域画像の作成をせずに、そのまま表示する場合を示した図であり、図23(b)は、撮影装置1a,1bから送られて来た画像データから、全天球パノラマ画像の作成及び所定領域画像の作成をした場合を示した図である。
図24は、画像種類情報の管理処理のその他の例を示したシーケンス図である。
【発明を実施するための形態】
【0009】
以下、図面を用いて、本発明の実施形態について説明する。
【0010】
<<実施形態の概略>>
<全天球パノラマ画像の生成方法>
図1乃至図7を用いて、全天球パノラマ画像の生成方法について説明する。
(【0011】以降は省略されています)
この特許をJ-PlatPat(特許庁公式サイト)で参照する
関連特許
株式会社リコー
綴じ装置
1か月前
株式会社リコー
画像形成装置
26日前
株式会社リコー
画像形成装置
7日前
株式会社リコー
履帯式走行体
1か月前
株式会社リコー
画像形成装置
3日前
株式会社リコー
画像形成装置
7日前
株式会社リコー
画像形成装置
10日前
株式会社リコー
液体吐出装置
1か月前
株式会社リコー
画像形成装置
25日前
株式会社リコー
画像形成装置
18日前
株式会社リコー
印刷システム
7日前
株式会社リコー
画像形成装置
1か月前
株式会社リコー
画像形成装置
7日前
株式会社リコー
画像形成装置
1か月前
株式会社リコー
画像形成装置
1か月前
株式会社リコー
液体塗布装置
11日前
株式会社リコー
画像形成装置
1か月前
株式会社リコー
映像表示装置
28日前
株式会社リコー
感熱記録媒体
4日前
株式会社リコー
印刷応答補償機構
11日前
株式会社リコー
画像形成システム
3日前
株式会社リコー
情報処理システム
28日前
株式会社リコー
画像投射システム
18日前
株式会社リコー
投薬管理システム
26日前
株式会社リコー
拡張アンテナ装置
10日前
株式会社リコー
生体情報測定装置
4日前
株式会社リコー
液体を吐出する装置
4日前
株式会社リコー
マーキングシステム
10日前
株式会社リコー
カラー画像形成装置
1か月前
株式会社リコー
電極及びその製造方法
7日前
株式会社リコー
電極及びその製造方法
5日前
株式会社リコー
測定装置および測定方法
27日前
株式会社リコー
多孔質構造体の製造方法
7日前
株式会社リコー
測定装置および測定方法
27日前
株式会社リコー
測定装置および測定方法
27日前
株式会社リコー
定着装置及び画像形成装置
11日前
続きを見る
他の特許を見る