TOP
|
特許
|
意匠
|
商標
特許ウォッチ
Twitter
他の特許を見る
公開番号
2025142309
公報種別
公開特許公報(A)
公開日
2025-09-30
出願番号
2025126705,2022044038
出願日
2025-07-29,2022-03-18
発明の名称
二次電池
出願人
トヨタ自動車株式会社
代理人
個人
,
個人
,
個人
主分類
H01M
10/0585 20100101AFI20250919BHJP(基本的電気素子)
要約
【課題】切断時のバリによる短絡を抑制することができる二次電池を提供する。
【解決手段】正極集電体層、正極活物質層、電解質層、負極活物質層、及び負極集電体層をこの順で積層した電極積層体を有する二次電池であって、正極集電体層と正極活物質層との積層面又は負極集電体層と負極活物質層との積層面において、正極活物質層又は負極活物質層は表面が露出する露出部を有する、二次電池である。
【選択図】図2
特許請求の範囲
【請求項1】
正極集電体層、正極活物質層、電解質層、負極活物質層、及び負極集電体層をこの順で積層した電極積層体を有する二次電池であって、
前記正極集電体層と前記正極活物質層との積層面又は前記負極集電体層と前記負極活物質層との積層面において、前記正極活物質層又は前記負極活物質層は表面が露出する露出部を有し、
前記露出部において前記積層面に沿う幅方向の長さが、0μmより大きく50μm以下である、
二次電池。
発明の詳細な説明
【技術分野】
【0001】
本願は二次電池に関する。
続きを表示(約 1,000 文字)
【背景技術】
【0002】
特許文献1には、一対の電極材料層間に電解質材料層を設けて積層体を作製する工程と、前記積層体を一括で切断する工程と、を備える二次電池用電池部材の製造方法が開示されている。また、特許文献1には、上記の切断工程を備えることにより、積層体側面に略連続面が形成されることが記載されている。
【先行技術文献】
【特許文献】
【0003】
国際公開第2019/221010号
【発明の概要】
【発明が解決しようとする課題】
【0004】
特許文献1に記載されているように積層体を一括で切断すると、集電体層に箔ダレが発生し、活物質層にバリが発生する虞がある。そして、箔ダレやバリが他の電極層に接触すると短絡が生じる問題がある。
【0005】
そこで、本開示の主な目的は、上記実情を鑑み、切断時のバリ等による短絡を抑制することができる二次電池を提供することである。
【課題を解決するための手段】
【0006】
本開示は上記課題を解決するための一つの態様として、正極集電体層、正極活物質層、電解質層、負極活物質層、及び負極集電体層をこの順で積層した電極積層体を有する二次電池であって、正極集電体層と正極活物質層との積層面又は負極集電体層と負極活物質層との積層面において、正極活物質層又は負極活物質層は表面が露出する露出部を有する、二次電池を提供する。
【発明の効果】
【0007】
本開示の二次電池によれば、切断時にバリ等が生じたとしても短絡を抑制することができる。
【図面の簡単な説明】
【0008】
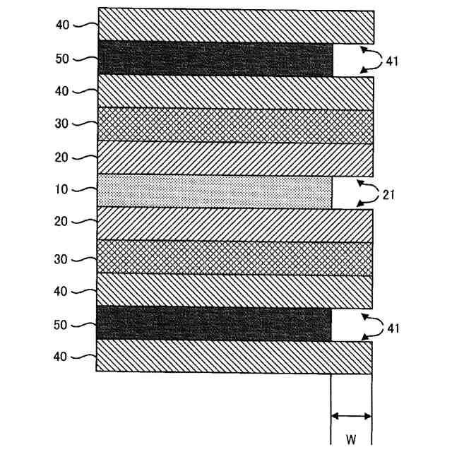
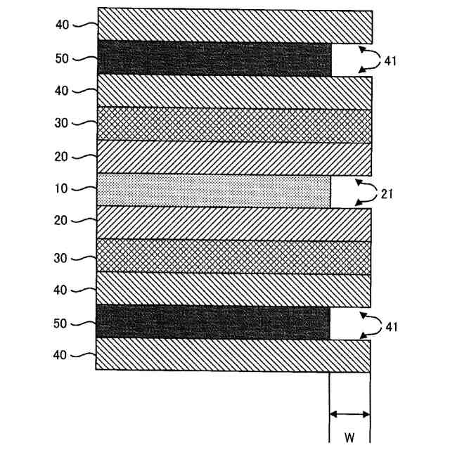
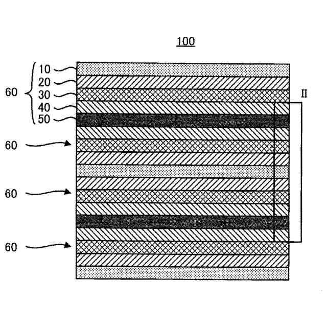
二次電池100の断面概略図である。
図1のIIで示した範囲を拡大した拡大断面概略図である。
試験例における積層体電極の端部を切断する様子を示した図である。
試験例の積層体電極の切断面の3D断面解析画像である。
【発明を実施するための形態】
【0009】
本開示の二次電池について、一実施形態である二次電池100を参照しつつ説明する。
【0010】
[二次電池100]
図1に二次電池100の断面概略図を示した。以下、図1の上下方向を積層方向、左右方向を幅方向ということがある。
(【0011】以降は省略されています)
この特許をJ-PlatPat(特許庁公式サイト)で参照する
関連特許
トヨタ自動車株式会社
車両
21日前
トヨタ自動車株式会社
車両
23日前
トヨタ自動車株式会社
車両
12日前
トヨタ自動車株式会社
装置
22日前
トヨタ自動車株式会社
装置
22日前
トヨタ自動車株式会社
車両
2日前
トヨタ自動車株式会社
電池
2日前
トヨタ自動車株式会社
ロータ
今日
トヨタ自動車株式会社
回転子
13日前
トヨタ自動車株式会社
電動車
12日前
トヨタ自動車株式会社
電動車
今日
トヨタ自動車株式会社
サーバ
6日前
トヨタ自動車株式会社
モータ
13日前
トヨタ自動車株式会社
蓄電装置
6日前
トヨタ自動車株式会社
蓄電装置
12日前
トヨタ自動車株式会社
加熱装置
12日前
トヨタ自動車株式会社
冷却構造
5日前
トヨタ自動車株式会社
制御装置
26日前
トヨタ自動車株式会社
二次電池
2日前
トヨタ自動車株式会社
蓄電装置
2日前
トヨタ自動車株式会社
蓄電装置
2日前
トヨタ自動車株式会社
蓄電装置
2日前
トヨタ自動車株式会社
制御装置
2日前
トヨタ自動車株式会社
蓄電装置
2日前
トヨタ自動車株式会社
検査装置
2日前
トヨタ自動車株式会社
制御装置
2日前
トヨタ自動車株式会社
電動車両
12日前
トヨタ自動車株式会社
制御装置
12日前
トヨタ自動車株式会社
水系電池
20日前
トヨタ自動車株式会社
蓄電装置
26日前
トヨタ自動車株式会社
電源装置
23日前
トヨタ自動車株式会社
電動車両
21日前
トヨタ自動車株式会社
電動車両
21日前
トヨタ自動車株式会社
電動車両
21日前
トヨタ自動車株式会社
駆動装置
20日前
トヨタ自動車株式会社
蓄電装置
14日前
続きを見る
他の特許を見る