TOP
|
特許
|
意匠
|
商標
特許ウォッチ
Twitter
他の特許を見る
10個以上の画像は省略されています。
公開番号
2025142319
公報種別
公開特許公報(A)
公開日
2025-09-30
出願番号
2025127177,2024150572
出願日
2025-07-30,2022-01-31
発明の名称
物品仕分け設備
出願人
株式会社ダイフク
代理人
弁理士法人R&C
主分類
B65G
1/137 20060101AFI20250919BHJP(運搬;包装;貯蔵;薄板状または線条材料の取扱い)
要約
【課題】大型化を抑制しつつ、搬送車による物品の搬送効率を高めることが可能な物品仕分け設備の実現。
【解決手段】物品仕分け設備1は、第1走行経路4が複数設定された第1フロア11と、第1フロア11とは上下方向の異なる高さに設置され、第2走行経路5が複数設定された第2フロア21と、第1走行経路4の終端部42と第2走行経路5の始端部51とを接続するように設けられた複数の第1昇降機構6と、第2走行経路5の終端部52と第1走行経路4の始端部41とを接続するように設けられた複数の第2昇降機構7と、それぞれが搬送車3から物品を受け入れるように構成された複数の受入部8と、搬送車3に物品を供給する供給部9と、を備え、複数の第2走行経路5のそれぞれは、少なくとも一部の区間において第1走行経路4又は受入部8と上下方向視で重複するように配置されている。
【選択図】図1
特許請求の範囲
【請求項1】
複数の搬送車のそれぞれが物品を搬送することにより前記物品の仕分けを行う物品仕分け設備であって、
前記搬送車が走行する第1走行経路が複数設定された第1フロアと、
前記第1フロアとは上下方向の異なる高さに設置され、前記搬送車が走行する第2走行経路が複数設定された第2フロアと、
前記第1走行経路の終端部と前記第2走行経路の始端部とを接続するように設けられ、それぞれが前記搬送車を昇降させる複数の第1昇降機構と、
前記第2走行経路の終端部と前記第1走行経路の始端部とを接続するように設けられ、それぞれが前記搬送車を昇降させる複数の第2昇降機構と、
複数の前記第1走行経路のそれぞれに沿って複数並ぶように配置され、それぞれが前記搬送車から前記物品を受け入れるように構成された複数の受入部と、
それぞれの前記第1走行経路に沿って配置された複数の前記受入部の群を受入部群として、前記第1走行経路の前記受入部群よりも始端側の区間又は前記第2走行経路において、前記搬送車に前記物品を供給する供給部と、を備え、
複数の前記第2走行経路のそれぞれは、少なくとも一部の区間において前記第1走行経路又は前記受入部と上下方向視で重複するように配置されている、物品仕分け設備。
続きを表示(約 1,000 文字)
【請求項2】
複数の前記第1走行経路のそれぞれの終端部に対応して、M(Mは自然数)個の前記第1昇降機構が設けられ、
複数の前記第1走行経路のそれぞれの始端部に対応して、N(Nは自然数)個の前記第2昇降機構が設けられている、請求項1に記載の物品仕分け設備。
【請求項3】
前記第2フロアには、前記第1走行経路の数以上の数の前記第2走行経路が設定されている、請求項1又は2に記載の物品仕分け設備。
【請求項4】
前記第1走行経路における、前記受入部群が配置された区間を仕分け区間として、
複数の前記第1走行経路のそれぞれの前記仕分け区間が、互いに平行に配置されている、請求項1から3のいずれか一項に記載の物品仕分け設備。
【請求項5】
複数の前記第1走行経路における、それぞれの前記仕分け区間の延在方向を第1方向とし、上下方向視で前記第1方向に直交する方向を第2方向として、
複数の前記仕分け区間が前記第2方向に並ぶように配置されていると共に、複数の前記供給部が前記第2方向に並ぶように配置されている、請求項4に記載の物品仕分け設備。
【請求項6】
複数の前記搬送車を制御する制御装置と、複数の前記供給部と、を備え、
複数の前記供給部のそれぞれは、
複数の前記搬送車が並ぶことができるバッファエリアと、
前記バッファエリアにある前記搬送車に前記物品を供給する供給作業を行う供給装置、又は、前記供給作業を行う作業者が配置される作業エリアと、を備え、
前記制御装置は、複数の前記供給部のそれぞれの前記バッファエリアに並んでいる前記搬送車の数が、複数の前記供給部同士で互いに同等に近づくように、複数の前記搬送車の走行を制御する、請求項1から5のいずれか一項に記載の物品仕分け設備。
【請求項7】
前記第1走行経路の途中の位置と前記第2走行経路の途中の位置とを接続するように設けられ、前記搬送車を昇降させる第3昇降機構を更に備える、請求項1から6のいずれか一項に記載の物品仕分け設備。
【請求項8】
前記搬送車は、蓄電装置を備えると共に、当該蓄電装置からの電力によって走行するよ
うに構成され、
前記搬送車の前記蓄電装置を充電するための充電部が、前記第2フロアに設置されている、請求項1から7のいずれか一項に記載の物品仕分け設備。
発明の詳細な説明
【技術分野】
【0001】
本発明は、複数の搬送車のそれぞれが物品を搬送することにより前記物品の仕分けを行う物品仕分け設備に関する。
続きを表示(約 2,500 文字)
【背景技術】
【0002】
上記のような物品仕分け設備の一例が、特開2016-113291号公報(特許文献1)に開示されている。以下、背景技術の説明において括弧内に示す符号は特許文献1のものである。
【0003】
特許文献1の物品仕分け設備(仕分け装置10)は、複数の搬送車(無人搬送車12)が走行する第1フロア(上位のエリアA)と、コンテナを搬送する複数の搬送コンベヤ18が設けられた第2フロア(下位のエリアB)とを備えている。第1フロアは、第2フロアよりも上側に設けられている。第1フロアには、搬送車に物品を引き渡す供給部(物品供給部6)と、物品が投入される複数の受入部(開口8a)とが設けられている。供給部から物品を受け取った搬送車は、複数の受入部のうちの1つの受入部に当該物品を搬送して投入する。第2フロアには、複数の受入部に対応するそれぞれの位置にコンテナ(20)が配置されている。従って、受入部に投入された物品はコンテナ(20)に受け取られ、当該コンテナ(20)は、複数の搬送コンベヤ18により搬送されて、梱包作業者に引き渡される。
【先行技術文献】
【特許文献】
【0004】
特開2016-113291号公報
【発明の概要】
【発明が解決しようとする課題】
【0005】
特許文献1の物品仕分け設備では、第1フロアに、搬送車が走行するための複数の通路が形成されている。それら複数の通路には、互いに交差する方向に延在する通路が含まれており、複数箇所において互いに交差するように形成されている。そのため、搬送車は、供給部と受入部との間を走行する際に、複数の交差点を通過する必要がある。このような構成では、物品の搬送効率を高めるために搬送車の数を増やすと、交差点において搬送車同士が衝突することを回避するために搬送車が交差点の手前で一時停止する回数が増加する等の事象が生じ易く、物品の搬送効率を効果的に高めることが難しいという課題があった。また、物品の搬送効率を高めるために、例えば、1つの通路における車線の数や、通路自体の数を増やすことも考えられる。しかしそのような構成とすると、通路の面積が大きくなるために、設備全体の上下方向視での設置面積が大型化し易いという課題もあった。
【0006】
そこで、大型化を抑制しつつ、搬送車による物品の搬送効率を高めることが可能な物品仕分け設備の実現が望まれる。
【課題を解決するための手段】
【0007】
本開示に係る物品仕分け設備は、複数の搬送車のそれぞれが物品を搬送することにより前記物品の仕分けを行う物品仕分け設備であって、
前記搬送車が走行する第1走行経路が複数設定された第1フロアと、
前記第1フロアとは上下方向の異なる高さに設置され、前記搬送車が走行する第2走行経路が複数設定された第2フロアと、
前記第1走行経路の終端部と前記第2走行経路の始端部とを接続するように設けられ、それぞれが前記搬送車を昇降させる複数の第1昇降機構と、
前記第2走行経路の終端部と前記第1走行経路の始端部とを接続するように設けられ、それぞれが前記搬送車を昇降させる複数の第2昇降機構と、
複数の前記第1走行経路のそれぞれに沿って複数並ぶように配置され、それぞれが前記搬送車から前記物品を受け入れるように構成された複数の受入部と、
それぞれの前記第1走行経路に沿って配置された複数の前記受入部の群を受入部群として、前記第1走行経路の前記受入部群よりも始端側の区間又は前記第2走行経路において、前記搬送車に前記物品を供給する供給部と、を備え、
複数の前記第2走行経路のそれぞれは、少なくとも一部の区間において前記第1走行経路又は前記受入部と上下方向視で重複するように配置されている。
【0008】
ここで、供給部から物品を供給された搬送車は、第1走行経路を走行して、当該物品を複数の受入部のうちの任意の受入部に搬送する。また、任意の受入部に物品を引き渡した搬送車は、その後、第2走行経路を走行して、供給部に帰還する。本構成によれば、このような、仕分け搬送用の経路となる第1走行経路と、搬送車の帰還用の経路となる第2走行経路とを上下に異なる高さのフロアに分けて配置することができる。更に、第1走行経路と第2走行経路との端部同士が、昇降機構により接続されている。これにより、搬送車の走行経路が多数設定されている場合であっても、これらの走行経路が交差する箇所を少なく抑えることができる。従って、搬送車による物品の搬送効率を高め易い。
また、本構成によれば、複数の第2走行経路のそれぞれは、少なくとも一部の区間において、第1走行経路又は受入部と上下方向視で重複するように配置されている。そのため、複数の第1走行経路、複数の受入部、及び複数の第2走行経路を備える構成であっても、上下方向視における、物品仕分け設備の設置面積を小さく抑えることができる。
このように、本構成によれば、大型化を抑制しつつ、搬送車による物品の搬送効率を高めることができる。
【0009】
物品仕分け設備のさらなる特徴と利点は、図面を参照して説明する例示的且つ非限定的な実施形態についての以下の記載から明確となる。
【図面の簡単な説明】
【0010】
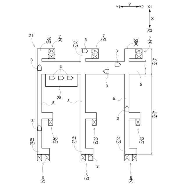
物品仕分け設備の斜視図
第1フロアの平面図
第2フロアの平面図
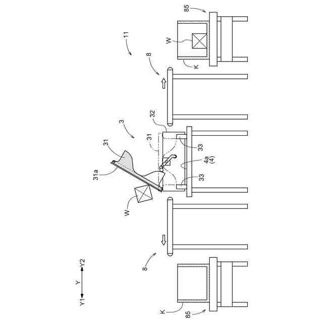
搬送車、第1走行経路、受入部、搬送装置の正面図
第1フロアの拡大平面図
制御ブロック図
制御装置と搬送車との状態遷移図
制御装置による制御を示すフローチャート
制御装置による制御を示すフローチャート
別実施形態における第2フロアの平面図
別実施形態における第1フロアの平面図
【発明を実施するための形態】
(【0011】以降は省略されています)
この特許をJ-PlatPat(特許庁公式サイト)で参照する
関連特許
株式会社ダイフク
搬送車
6日前
株式会社ダイフク
洗浄装置
1か月前
株式会社ダイフク
搬送設備
16日前
株式会社ダイフク
作業設備
6日前
株式会社ダイフク
作業設備
6日前
株式会社ダイフク
作業設備
6日前
株式会社ダイフク
作業設備
6日前
株式会社ダイフク
作業設備
6日前
株式会社ダイフク
作業設備
6日前
株式会社ダイフク
洗浄装置
1か月前
株式会社ダイフク
作業設備
1か月前
株式会社ダイフク
搬送設備
1か月前
株式会社ダイフク
搬送設備
1か月前
株式会社ダイフク
物品搬送設備
26日前
株式会社ダイフク
搬送システム
10日前
株式会社ダイフク
物品搬送設備
16日前
株式会社ダイフク
物品搬送設備
16日前
株式会社ダイフク
自動倉庫システム
6日前
株式会社ダイフク
移動体清掃システム
24日前
株式会社ダイフク
手荷物保管システム
1か月前
株式会社ダイフク
治具、および交換補助具
16日前
株式会社ダイフク
開閉機構およびカバー構造
1か月前
株式会社ダイフク
搬送車、及び、搬送車を備えた搬送設備
1か月前
台湾大福高科技設備股分有限公司
物体搬送システム
6日前
台湾大福高科技設備股分有限公司
物体搬送システム
10日前
株式会社ダイフク
物品仕分け設備
5日前
個人
箱
11か月前
個人
ゴミ箱
11か月前
個人
収容箱
2か月前
個人
コンベア
4か月前
個人
ゴミ収集器
6か月前
個人
段ボール箱
6か月前
個人
容器
8か月前
個人
段ボール箱
6か月前
個人
土嚢運搬器具
7か月前
個人
楽ちんハンド
4か月前
続きを見る
他の特許を見る