TOP
|
特許
|
意匠
|
商標
特許ウォッチ
Twitter
他の特許を見る
公開番号
2025136315
公報種別
公開特許公報(A)
公開日
2025-09-19
出願番号
2024034786
出願日
2024-03-07
発明の名称
搬送設備
出願人
株式会社ダイフク
代理人
弁理士法人R&C
主分類
G05D
1/617 20240101AFI20250911BHJP(制御;調整)
要約
【課題】異常が発生した搬送車の状況を適切に把握する。
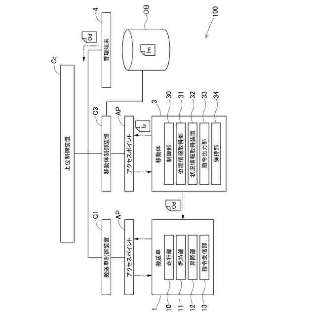
【解決手段】搬送設備100は、搬送車1とは別に移動する移動体3と、移動体3を制御する移動体制御システムC3と、管理者用の管理端末4と、を備えている。移動体制御システムC3は、搬送車1の異常が発生した場合に、移動体3が状況情報取得装置32により搬送車1の状況を含む状況情報Isを取得できる状態で、状況情報取得装置32により状況情報Isを逐次取得し、取得した状況情報Isを管理端末4へ逐次送信する異常対応処理を実行する。
【選択図】図3
特許請求の範囲
【請求項1】
搬送物を搬送する搬送車を備えた搬送設備であって、
前記搬送車とは別に移動する移動体と、
前記移動体を制御する移動体制御システムと、
管理者用の管理端末と、
を備え、
前記移動体は、当該移動体の周辺の状況を示す状況情報を取得する状況情報取得装置を備え、
前記移動体制御システムは、前記搬送車の異常が発生した場合に、前記状況情報取得装置により前記状況情報を逐次取得し、取得した前記状況情報を前記管理端末へ逐次送信する異常対応処理を実行する、搬送設備。
続きを表示(約 1,000 文字)
【請求項2】
前記移動体は、前記搬送車と通信可能であり、
前記移動体は、前記搬送車に対する動作指令を出力する指令出力部を更に備え、
前記動作指令は、前記搬送車を異常から復旧させるための復旧動作指令を含む、請求項1に記載の搬送設備。
【請求項3】
前記動作指令は、前記管理端末からの指令を含む、請求項2に記載の搬送設備。
【請求項4】
前記指令出力部は、前記状況情報取得装置により取得した前記状況情報に基づいて前記復旧動作指令を生成する自動復旧プログラムを備えている、請求項2に記載の搬送設備。
【請求項5】
前記移動体は、前記搬送物を保持する保持部を備え、
前記移動体制御システムは、前記搬送車が前記搬送物を搬送中であった場合には、前記搬送車から前記移動体の前記保持部に前記搬送物を受け取らせる搬送物受取処理を実行可能に構成されている、請求項1に記載の搬送設備。
【請求項6】
前記移動体制御システムは、予め定められたメンテナンス場所まで前記搬送車を移動させると共に前記移動体を前記搬送車と共に移動させる事前移動処理を実行する、請求項2に記載の搬送設備。
【請求項7】
前記移動体は、前記搬送車に対する動作指令を出力する指令出力部と、自身の位置を示す位置情報を取得する位置情報取得部と、を備え、
前記移動体制御システムは、異常が発生した前記搬送車を移動させる場合に、前記移動体の前記位置情報に基づいて前記搬送車の位置を推測し、当該推測した位置に基づいて前記搬送車の進路を指示する進路指示指令を前記動作指令として生成し、前記進路指示指令を前記指令出力部から出力する、請求項2から6のいずれか一項に記載の搬送設備。
【請求項8】
前記搬送車を複数備え、
前記移動体制御システムは、異常が発生した前記搬送車である対象搬送車を移動させる場合に、前記対象搬送車の移動経路に他の前記搬送車が存在する場合には、前記移動経路に存在する前記搬送車に対して、前記移動経路の外へ退避させる退避指令を出力する、請求項1から6のいずれか一項に記載の搬送設備。
【請求項9】
前記状況情報取得装置は、カメラ、及び、マイクの少なくとも一方を備え、
前記移動体は、前記状況情報取得装置の位置及び向きの少なくとも一方を変更する可動機構を備える、請求項1から6のいずれか一項に記載の搬送設備。
発明の詳細な説明
【技術分野】
【0001】
本発明は、搬送物を搬送する搬送車を備えた搬送設備に関する。
続きを表示(約 1,500 文字)
【背景技術】
【0002】
このような搬送設備の一例として、特許第6504266号公報(特許文献1)に開示された発明がある。特許文献1に開示された発明では、コントローラ(50)が搬送車(20)と通信することによって、搬送車(20)に搬送物(90)の搬送を行わせている。一般的に、このような搬送設備では、コントローラと搬送車との通信によって、各種情報のやり取りが行われる。
【先行技術文献】
【特許文献】
【0003】
特許第6504266号公報
【発明の概要】
【発明が解決しようとする課題】
【0004】
コントローラと搬送車との間で送受信される情報には、搬送車に発生した異常に関する異常情報が含まれることがある。しかしながら、搬送車に発生する異常の種類は様々であり、また、搬送車自身が異常の発生を把握できないこともあるため、コントローラは、搬送車と情報の送受信を行うだけでは、搬送車の異常を適切に把握できない場合がある。さらには、コントローラと搬送車との通信系に異常が発生している場合では、搬送車自身が異常の発生を把握できていたとしても、その異常に関する情報をコントローラは受信することができない。このように、従来の搬送設備では、異常が発生した搬送車の状況を適切に把握することが困難な場合があった。
【0005】
上記実状に鑑みて、異常が発生した搬送車の状況を適切に把握可能な技術の実現が望まれている。
【課題を解決するための手段】
【0006】
搬送物を搬送する搬送車を備えた搬送設備であって、
前記搬送車とは別に移動する移動体と、
前記移動体を制御する移動体制御システムと、
管理者用の管理端末と、
を備え、
前記移動体は、当該移動体の周辺の状況を示す状況情報を取得する状況情報取得装置を備え、
前記移動体制御システムは、前記搬送車の異常が発生した場合に、前記状況情報取得装置により前記状況情報を逐次取得し、取得した前記状況情報を前記管理端末へ逐次送信する異常対応処理を実行する。
【0007】
本構成によれば、移動体は、状況情報取得装置によって、搬送車の状況を含む状況情報を取得することができる。そして、搬送車の異常が発生した場合には、移動体制御システムによって異常対応処理が実行され、移動体によって取得された搬送車の状況を含む状況情報が、移動体制御システムによって逐次取得されると共に管理端末へ逐次送信される。これにより、管理者は、異常が発生した搬送車がある現場に向かうことを要することなく、当該搬送車の状況を適切に把握することが可能となる。
【0008】
本開示に係る技術のさらなる特徴と利点は、図面を参照して記述する以下の例示的かつ非限定的な実施形態の説明によってより明確になるであろう。
【図面の簡単な説明】
【0009】
搬送設備の概略図
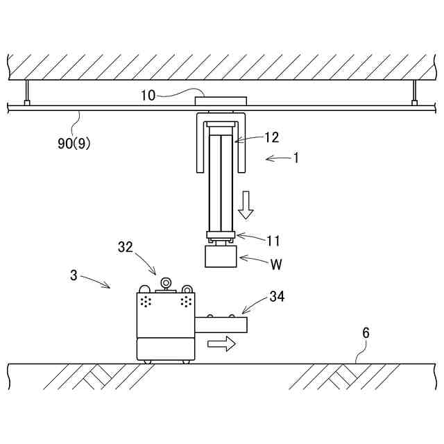
搬送車と移動体とを示す図
搬送設備のシステム構成図
事前移動処理の説明図
搬送物受取処理の説明図
停電から復旧した後の処理を示す図
状況情報取得装置が変形する様子を示す図
【発明を実施するための形態】
【0010】
搬送設備は、搬送物を搬送する搬送車を備えた設備である。以下、図面を参照して、搬送設備の実施形態について説明する。
(【0011】以降は省略されています)
この特許をJ-PlatPat(特許庁公式サイト)で参照する
関連特許
株式会社ダイフク
搬送車
7日前
株式会社ダイフク
作業設備
7日前
株式会社ダイフク
作業設備
7日前
株式会社ダイフク
作業設備
7日前
株式会社ダイフク
作業設備
7日前
株式会社ダイフク
作業設備
7日前
株式会社ダイフク
作業設備
7日前
株式会社ダイフク
搬送設備
17日前
株式会社ダイフク
搬送システム
11日前
株式会社ダイフク
物品搬送設備
17日前
株式会社ダイフク
物品搬送設備
17日前
株式会社ダイフク
自動倉庫システム
7日前
株式会社ダイフク
治具、および交換補助具
17日前
台湾大福高科技設備股分有限公司
物体搬送システム
7日前
台湾大福高科技設備股分有限公司
物体搬送システム
11日前
株式会社ダイフク
物品仕分け設備
6日前
個人
生産早送り装置
1か月前
株式会社豊田自動織機
産業車両
1か月前
株式会社FUJI
工作機械
3か月前
株式会社カネカ
製造システム
1か月前
株式会社ダイヘン
移動体
3か月前
オムロン株式会社
スレーブ装置
7日前
愛知製鋼株式会社
車両用システム
1か月前
株式会社FUJI
加工機械ライン
2か月前
ローム株式会社
基準電圧源
28日前
個人
作業車両自動化システム
2か月前
ローム株式会社
半導体集積回路
3か月前
豊田合成株式会社
機器制御装置
3日前
愛知製鋼株式会社
目標軌跡の設定方法
2か月前
株式会社ダイフク
搬送設備
17日前
株式会社ダイフク
搬送設備
1か月前
株式会社ダイフク
搬送設備
1か月前
トヨタ自動車株式会社
生産管理システム
2か月前
トヨタ自動車株式会社
移動制御システム
1か月前
株式会社ダイフク
搬送設備
3か月前
三栄ハイテックス株式会社
基準電圧回路
4か月前
続きを見る
他の特許を見る