TOP
|
特許
|
意匠
|
商標
特許ウォッチ
Twitter
他の特許を見る
10個以上の画像は省略されています。
公開番号
2025142456
公報種別
公開特許公報(A)
公開日
2025-10-01
出願番号
2024041812
出願日
2024-03-18
発明の名称
再生装置及び再生方法
出願人
株式会社JVCケンウッド
代理人
個人
主分類
G06T
13/40 20110101AFI20250924BHJP(計算;計数)
要約
【課題】仮想空間でのユーザの満足度のさらなる向上を図ること。
【解決手段】本発明の再生装置20は、仮想空間において、アバターが会話した回数または時間に基づいて会話の度合を会話度として算出し、算出された会話度を示す会話度情報を、アバターの動作ログと共に記録部23に記録する記録制御部21と、仮想空間において、アバターの動作を再生する際に、会話度情報が示す会話度が第1閾値以上の動作ログを選択し、選択された動作ログに基づいて、アバターの動作を再生する再生部22と、を備える。
【選択図】図7
特許請求の範囲
【請求項1】
仮想空間において、アバターが会話した回数または時間に基づいてアバターの会話の度合を会話度として算出し、算出された会話度を示す会話度情報を、アバターの動作ログと共に記録部に記録する記録制御部と、
前記仮想空間において、アバターの動作を再生する際に、前記会話度情報が示す会話度が第1閾値以上の前記動作ログを選択し、選択された前記動作ログに基づいて、アバターの動作を再生する再生部と、を備える、
再生装置。
続きを表示(約 940 文字)
【請求項2】
前記記録制御部は、前記仮想空間において、アバターを操作した時の操作情報に基づいてアバターの操作情報量を算出し、算出された操作情報量を示す情報量情報を、アバターの前記動作ログと共に前記記録部にさらに記録し、
前記再生部は、前記仮想空間においてアバターの動作を再生する際に、前記会話度情報が示す会話度が前記第1閾値以上で、かつ、前記情報量情報が示す操作情報量が第2閾値未満の前記動作ログを選択し、選択された前記動作ログに基づいて、アバターの動作を再生する、
請求項1に記載の再生装置。
【請求項3】
前記記録制御部は、前記仮想空間において、アバターを操作した時の操作情報に基づいてアバターの操作情報量を算出し、算出された操作情報量を示す情報量情報を、アバターの前記動作ログと共に前記記録部にさらに記録し、
前記再生部は、前記仮想空間においてアバターの動作を再生する際に、ユーザが操作するアバターから所定の範囲内に位置するアバターの前記動作ログを抽出し、抽出された前記動作ログの中から、前記会話度情報が示す会話度が前記第1閾値以上で、かつ、前記情報量情報が示す操作情報量が第3閾値以上の前記動作ログを選択し、選択された前記動作ログに基づいて、アバターの動作を再生する、
請求項1に記載の再生装置。
【請求項4】
前記再生部は、前記動作ログに基づいて、アバターの動作を再生した場合、アバターを操作したユーザに対し、報酬を付与する、
請求項1から3のいずれか1項に記載の再生装置。
【請求項5】
再生装置により実行される再生方法であって、
仮想空間において、アバターが会話した回数または時間に基づいてアバターの会話の度合を会話度として算出し、算出された会話度を示す会話度情報を、アバターの動作ログと共に記録部に記録する記録制御ステップと、
前記仮想空間において、アバターの動作を再生する際に、前記会話度情報が示す会話度が第1閾値以上の前記動作ログを選択し、選択された前記動作ログに基づいて、アバターの動作を再生する再生ステップと、を含む、
再生方法。
発明の詳細な説明
【技術分野】
【0001】
本発明は、再生装置及び再生方法に関する。
続きを表示(約 2,000 文字)
【背景技術】
【0002】
近年、仮想空間、特に、メタバース空間と呼ばれるような、不特定多数のユーザが、世界中の様々な場所から、ログインすることができ、かつ、互いに交流することができるサービスが進化を遂げ、注目を集めている。しかし、メタバース空間は、ユーザのログイン時間に自由度があることなどが影響し、ごく少数のユーザしかログインしていない時間帯が発生し得る。そのような時間帯にメタバース空間にログインしたユーザには、メタバース空間は、活気がなくつまらなそうな空間という印象を与えてしまうため、メタバース空間でのユーザの満足度が低下してしまうことが懸念される。
【0003】
そのため、最近は、メタバース空間などの仮想空間でのユーザの満足度の向上を図るべく、仮想空間を活気があるように演出するための技術も提案されている。例えば、特許文献1に記載された技術によれば、第1ユーザがコンテンツを視聴している間に操作した第1アバターの動作ログを生成し、第1ユーザがコンテンツを視聴した後に第2ユーザがコンテンツを視聴する際に、コンテンツを再生すると共に、動作ログに基づいて第1アバターの動作を再生する。これにより、仮想空間において、第2ユーザが第1ユーザと一緒にコンテンツを視聴している状態を演出することができる。
【先行技術文献】
【特許文献】
【0004】
特開2022-184724号公報
【発明の概要】
【発明が解決しようとする課題】
【0005】
メタバース空間などの仮想空間において、上述した特許文献1に記載された技術を適用することにより、過去のアバターを再生することが可能である。 このとき、アバター同士が活発に交流していれば、ユーザには、メタバース空間は、より活気がある空間という印象を与えることができ、その結果、仮想空間でのユーザの満足度のさらなる向上を図れると考えられる。
【0006】
本発明の目的は、上述した課題に鑑みてなされたものであって、仮想空間でのユーザの満足度のさらなる向上を図ることが可能な再生装置及び再生方法を提供することにある。
【課題を解決するための手段】
【0007】
一態様による再生装置は、
仮想空間において、アバターが会話した回数または時間に基づいてアバターの会話の度合を会話度として算出し、算出された会話度を示す会話度情報を、アバターの動作ログと共に記録部に記録する記録制御部と、
前記仮想空間において、アバターの動作を再生する際に、前記会話度情報が示す会話度が第1閾値以上の前記動作ログを選択し、選択された前記動作ログに基づいて、アバターの動作を再生する再生部と、を備える。
【0008】
一態様による再生方法は、
再生装置により実行される再生方法であって、
仮想空間において、アバターが会話した回数または時間に基づいてアバターの会話の度合を会話度として算出し、算出された会話度を示す会話度情報を、アバターの動作ログと共に記録部に記録する記録制御ステップと、
前記仮想空間において、アバターの動作を再生する際に、前記会話度情報が示す会話度が第1閾値以上の前記動作ログを選択し、選択された前記動作ログに基づいて、アバターの動作を再生する再生ステップと、を含む。
【発明の効果】
【0009】
上述の態様によれば、仮想空間でのユーザの満足度のさらなる向上を図ることが可能な再生装置及び再生方法を提供できるという効果が得られる。
【図面の簡単な説明】
【0010】
ログインしているユーザ数が多い時のメタバース空間のイメージ例を示す図である。
ログインしているユーザ数が極端に少ない時のメタバース空間のイメージ例を示す図である。
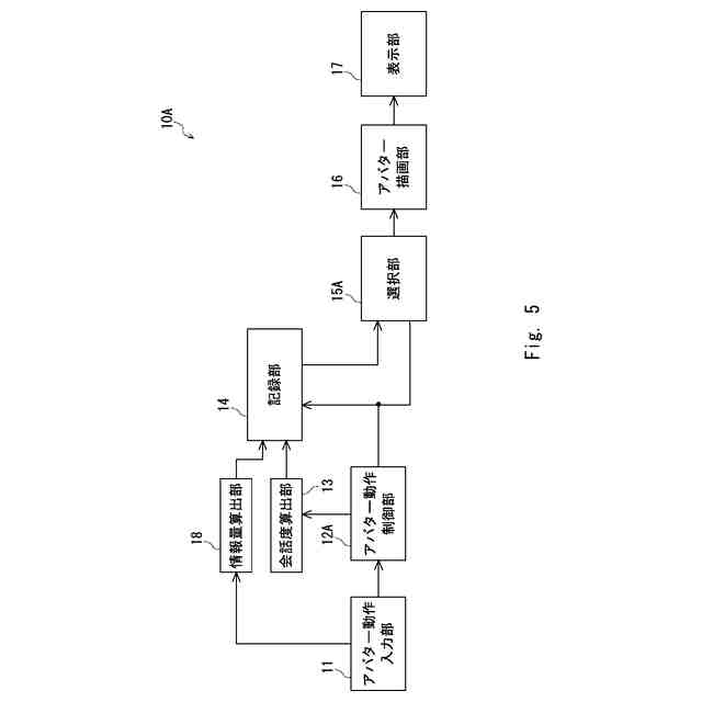
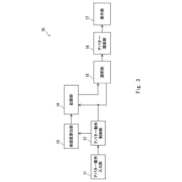
実施の形態1に係る再生装置の構成例を示すブロック図である。
実施の形態1に係る再生装置において、アバターの動作を再生する際の概略的な動作の流れの例を説明するフロー図である。
実施の形態2に係る再生装置の構成例を示すブロック図である。
実施の形態2に係る再生装置において、アバターの動作を再生する際の概略的な動作の流れの例を説明するフロー図である。
実施の形態3に係る再生装置の構成例を示すブロック図である。
実施の形態3に係る再生装置において、アバターの動作を再生する際の概略的な動作の流れの例を説明するフロー図である。
実施の形態1,2,3に係る再生装置の全部又は一部の機能を実現するコンピュータのハードウェア構成例を示すブロック図である。
【発明を実施するための形態】
(【0011】以降は省略されています)
この特許をJ-PlatPat(特許庁公式サイト)で参照する
関連特許
個人
裁判のAI化
2か月前
個人
地球保全システム
1日前
個人
フラワーコートA
1か月前
個人
情報処理システム
2か月前
個人
工程設計支援装置
1か月前
個人
冷凍食品輸出支援構造
28日前
個人
為替ポイント伊達夢貯
28日前
個人
介護情報提供システム
2か月前
個人
設計支援システム
2か月前
個人
表変換編集支援システム
21日前
個人
設計支援システム
2か月前
個人
携帯情報端末装置
1か月前
個人
知財出願支援AIシステム
28日前
個人
結婚相手紹介支援システム
1か月前
個人
パスワード管理支援システム
21日前
株式会社カクシン
支援装置
2か月前
個人
行動時間管理システム
23日前
個人
AIによる情報の売買の仲介
1か月前
株式会社キーエンス
受発注システム
今日
個人
海外支援型農作物活用システム
13日前
個人
AIキャラクター制御システム
21日前
株式会社アジラ
進入判定装置
1か月前
日本精機株式会社
施工管理システム
1か月前
株式会社キーエンス
受発注システム
今日
個人
食品レシピ生成システム
今日
個人
パスポートレス入出国システム
1か月前
株式会社キーエンス
受発注システム
今日
個人
アンケート支援システム
1か月前
個人
システム及びプログラム
14日前
個人
人格進化型対話応答制御システム
21日前
個人
冷凍加工連携型農場運用システム
28日前
個人
未来型家系図構築システム
13日前
キヤノン株式会社
表示システム
今日
サクサ株式会社
中継装置
21日前
個人
食事受注会計処理システム
1か月前
大同特殊鋼株式会社
疵判定方法
7日前
続きを見る
他の特許を見る