TOP
|
特許
|
意匠
|
商標
特許ウォッチ
Twitter
他の特許を見る
10個以上の画像は省略されています。
公開番号
2025139124
公報種別
公開特許公報(A)
公開日
2025-09-26
出願番号
2024037898
出願日
2024-03-12
発明の名称
撮影制御装置、方法およびプログラム
出願人
富士フイルム株式会社
代理人
弁理士法人太陽国際特許事務所
主分類
A61B
6/42 20240101AFI20250918BHJP(医学または獣医学;衛生学)
要約
【課題】撮影制御装置、方法およびプログラムにおいて、複数の透視撮影装置を用いて相互に異なるタイミングで透視撮影を行う際に、他の透視撮影装置において出射された放射線の影響を低減する。
【解決手段】プロセッサは、自身が透視撮影を制御する透視撮影装置以外の他の透視撮影装置を相互に登録し、自身が透視撮影を制御する透視撮影装置において、放射線の出射開始の指示が行われると、パルス状の放射線による撮影条件を他の透視撮影装置に通知し、自身が透視撮影を制御する透視撮影装置において、放射線の出射開始の指示が行われていない場合に他の透視撮影装置から撮影条件が通知され、その後放射線の出射開始の指示が行われると、撮影条件に基づいて他の透視撮影装置においてパルス状の放射線の出射が停止されているタイミングにおいて、パルス状の放射線を出射するように透視撮影を制御する。
【選択図】図4
特許請求の範囲
【請求項1】
複数方向からパルス状の放射線による被写体の透視撮影を行う際に、複数で同時に使用される透視撮影装置のそれぞれにおいて前記透視撮影を制御する撮影制御装置であって、
少なくとも1つのプロセッサを備え、
前記プロセッサは、自身が前記透視撮影を制御する透視撮影装置以外の他の透視撮影装置を相互に登録し、
前記自身が前記透視撮影を制御する透視撮影装置において、放射線の出射開始の指示が行われると、前記パルス状の放射線による撮影条件を前記他の透視撮影装置に通知し、
前記自身が前記透視撮影を制御する透視撮影装置において、前記放射線の出射開始の指示が行われていない場合に前記他の透視撮影装置から前記撮影条件が通知され、その後前記放射線の出射開始の指示が行われると、前記撮影条件に基づいて前記他の透視撮影装置において前記パルス状の放射線の出射が停止されているタイミングにおいて、前記パルス状の放射線を出射するように前記透視撮影を制御する撮影制御装置。
続きを表示(約 1,300 文字)
【請求項2】
前記プロセッサは、前記自身が前記透視撮影を制御する透視撮影装置を登録待ち状態に設定し、
登録待ち状態にある前記他の透視撮影装置を探索し、
前記探索された前記他の透視撮影装置を相互に登録する請求項1に記載の撮影制御装置。
【請求項3】
前記放射線の出射開始の指示は、前記透視撮影装置の放射線照射スイッチがオンとされることによるものである請求項1または2に記載の撮影制御装置。
【請求項4】
前記プロセッサは、前記放射線の出射停止の指示が行われると、前記放射線の出射が停止されたことを前記他の透視撮影装置に通知する請求項1または2に記載の撮影制御装置。
【請求項5】
前記放射線の出射停止の指示は、前記透視撮影装置の放射線照射スイッチがオフとされることによるものであり、
前記プロセッサは、放射線照射停止フラグを前記他の透視撮影装置に送信することにより、前記放射線の出射が停止されたことを前記他の透視撮影装置に通知する請求項4に記載の撮影制御装置。
【請求項6】
複数方向からパルス状の放射線による被写体の透視撮影を行う際に、複数で同時に使用される透視撮影装置のそれぞれにおいて前記透視撮影を制御する撮影制御方法であって、
コンピュータが、自身が前記透視撮影を制御する透視撮影装置以外の他の透視撮影装置を相互に登録し、
前記自身が前記透視撮影を制御する透視撮影装置において、放射線の出射開始の指示が行われると、前記パルス状の放射線による撮影条件を前記他の透視撮影装置に通知し、
前記自身が前記透視撮影を制御する透視撮影装置において、前記放射線の出射開始の指示が行われていない場合に前記他の透視撮影装置から前記撮影条件が通知され、その後前記放射線の出射開始の指示が行われると、前記撮影条件に基づいて前記他の透視撮影装置において前記パルス状の放射線の出射が停止されているタイミングにおいて、前記パルス状の放射線を出射するように前記透視撮影を制御する撮影制御方法。
【請求項7】
複数方向からパルス状の放射線による被写体の透視撮影を行う際に、複数で同時に使用される透視撮影装置のそれぞれにおいて前記透視撮影を制御する処理をコンピュータに実行させる撮影制御プログラムであって、
自身が前記透視撮影を制御する透視撮影装置以外の他の透視撮影装置を相互に登録する手順と、
前記自身が前記透視撮影を制御する透視撮影装置において、放射線の出射開始の指示が行われると、前記パルス状の放射線による撮影条件を前記他の透視撮影装置に通知する手順と、
前記自身が前記透視撮影を制御する透視撮影装置において、前記放射線の出射開始の指示が行われていない場合に前記他の透視撮影装置から前記撮影条件が通知され、その後前記放射線の出射開始の指示が行われると、前記撮影条件に基づいて前記他の透視撮影装置において前記パルス状の放射線の出射が停止されているタイミングにおいて、前記パルス状の放射線を出射するように前記透視撮影を制御する手順とをコンピュータに実行させる撮影制御プログラム。
発明の詳細な説明
【技術分野】
【0001】
本開示は、撮影制御装置、方法およびプログラムに関する。
続きを表示(約 1,900 文字)
【背景技術】
【0002】
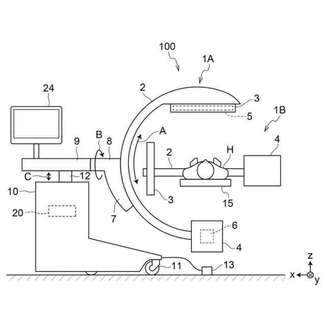
外科手術およびカテーテル治療では、手術器具と骨および血管等の人体構造との位置関係を把握することが必要である。このため、手術中に透視撮影装置により被写体を撮影し、撮影によりディスプレイに表示された放射線の透視画像を用いて、手術器具と人体構造との位置関係を把握することが行われている。しかしながら、手術器具と人体構造とは3次元的な位置関係にあるのに対して、透視画像は2次元画像である。このような2次元の透視画像を見ても手術器具と人体構造との3次元的な位置関係を把握することは難しい。
【0003】
このため、2組の検出部と放射線源とを備え、被写体に対して2方向から撮影を行うことにより、手術器具と人体構造との3次元的な位置関係を把握するようにした透視撮影装置が提案されている(特許文献1参照)。特許文献1に記載された装置においては、2つの検出部のうちの第1の検出部に放射線が照射される期間と、第2の検出部に放射線が照射される期間とが重ならないように、撮像を行うタイミングを制御することが行われている。
【0004】
一方、2台の透視撮影装置を用いることにより、被写体に対して2方向から撮影を行うことも行われている(特許文献2参照)。特許文献2に記載された装置においては、制御装置から2つのX線照射部への照射タイミングを交互に出力することにより、2つのX線照射部によるX線照射のタイミングをずらして、異なる2方向からのX線撮影が行われる。
【先行技術文献】
【特許文献】
【0005】
特開2019-087892号公報
特開2015-009012号公報
【発明の概要】
【発明が解決しようとする課題】
【0006】
2台の透視撮影装置を用いた場合、一方の装置から被写体に照射された放射線が、被写体により散乱されることによって、他方の装置において意図しない放射線が検出される場合がある。この場合、双方の装置において取得される透視画像の画質が低下する。特許文献2に記載された手法においては、2つのX線照射部によるX線照射のタイミングをずらすことが行われている。しかしながら、特許文献2に記載された手法では、一方の透視撮影装置のみしか使用しないタイミングでも他方の透視撮影装置により撮影が行われてしまう。また、特許文献2に記載された手法では、一方の透視撮影装置による撮影を開始した後に他方の透視撮影装置による撮影を開始するような場合、X線照射のタイミングを設定することができない。
【0007】
本開示は上記事情に鑑みなされたものであり、複数の透視撮影装置を用いて相互に異なるタイミングで透視撮影を行う際に、他の透視撮影装置において出射された放射線の影響を低減することを目的とする。
【課題を解決するための手段】
【0008】
本開示による撮影制御装置は、複数方向からパルス状の放射線による被写体の透視撮影を行う際に、複数で同時に使用される透視撮影装置のそれぞれにおいて透視撮影を制御する撮影制御装置であって、
少なくとも1つのプロセッサを備え、
プロセッサは、自身が透視撮影を制御する透視撮影装置以外の他の透視撮影装置を相互に登録し、
自身が透視撮影を制御する透視撮影装置において、放射線の出射開始の指示が行われると、パルス状の放射線による撮影条件を他の透視撮影装置に通知し、
自身が透視撮影を制御する透視撮影装置において、放射線の出射開始の指示が行われていない場合に他の透視撮影装置から撮影条件が通知され、その後放射線の出射開始の指示が行われると、撮影条件に基づいて他の透視撮影装置においてパルス状の放射線の出射が停止されているタイミングにおいて、パルス状の放射線を出射するように透視撮影を制御する。
【0009】
なお、本開示による撮影制御装置においては、プロセッサは、自身が透視撮影を制御する透視撮影装置を登録待ち状態に設定し、
登録待ち状態にある他の透視撮影装置を探索し、
探索された他の透視撮影装置を相互に登録するものであってもよい。
【0010】
また、本開示による撮影制御装置においては、放射線の出射開始の指示は、透視撮影装置の放射線照射スイッチがオンとされることによるものであってもよい。
(【0011】以降は省略されています)
この特許をJ-PlatPat(特許庁公式サイト)で参照する
関連特許
富士フイルム株式会社
内視鏡
1日前
富士フイルム株式会社
超音波探触子
2日前
富士フイルム株式会社
超音波探触子
2日前
富士フイルム株式会社
超音波診断器
今日
富士フイルム株式会社
超音波診断装置
4日前
富士フイルム株式会社
超音波診断装置
今日
富士フイルム株式会社
超音波診断装置
今日
富士フイルム株式会社
超音波診断装置
今日
富士フイルム株式会社
超音波診断装置
今日
富士フイルム株式会社
医療機器用カート
1日前
富士フイルム株式会社
医療用X線測定装置
4日前
富士フイルム株式会社
ゼリーボトルハンガ
2日前
富士フイルム株式会社
配線基板の製造方法
4日前
富士フイルム株式会社
X線管およびX線検査装置
1日前
富士フイルム株式会社
ズームレンズおよび撮像装置
4日前
富士フイルム株式会社
組成物、硬化物および光学部材
今日
富士フイルム株式会社
超音波診断装置の手押しハンドル
2日前
富士フイルム株式会社
磁気共鳴撮像装置及び画像処理方法
2日前
富士フイルム株式会社
画像処理装置、方法およびプログラム
今日
富士フイルム株式会社
情報処理装置、方法およびプログラム
4日前
富士フイルム株式会社
情報処理装置、及び情報処理プログラム
2日前
富士フイルム株式会社
情報処理装置、及び情報処理プログラム
2日前
富士フイルム株式会社
情報処理装置、及び情報処理プログラム
2日前
富士フイルム株式会社
情報処理装置、及び情報処理プログラム
1日前
富士フイルム株式会社
支援装置、支援方法、及び支援プログラム
今日
富士フイルム株式会社
磁気共鳴撮像装置及び中心周波数の補正方法
今日
富士フイルム株式会社
超音波診断装置用カートおよび超音波診断ユニット
1日前
富士フイルム株式会社
超音波診断装置用カートおよび超音波診断ユニット
今日
富士フイルム株式会社
超音波診断装置用カートおよび超音波診断ユニット
今日
富士フイルム株式会社
画像処理装置、画像処理方法、及び画像処理プログラム
今日
富士フイルム株式会社
画像処理装置、画像処理方法、及び画像処理プログラム
今日
富士フイルム株式会社
インクジェット記録方法、メラミン化粧板の製造方法、及びメラミン化粧板
今日
富士フイルム株式会社
画像処理装置、方法およびプログラム、並びに学習装置、方法およびプログラム
今日
富士フイルム株式会社
焦点制御装置、焦点制御装置の作動方法、焦点制御装置の作動プログラム、並びに撮像装置
2日前
富士フイルム株式会社
転写フィルム、転写フィルムの製造方法、硬化層の製造方法、及び、半導体パッケージの製造方法
今日
富士フイルム株式会社
露出制御装置、露出制御装置の作動方法、露出制御装置の作動プログラム、焦点制御装置、並びに撮像装置
4日前
続きを見る
他の特許を見る