TOP
|
特許
|
意匠
|
商標
特許ウォッチ
Twitter
他の特許を見る
公開番号
2025142486
公報種別
公開特許公報(A)
公開日
2025-10-01
出願番号
2024041862
出願日
2024-03-18
発明の名称
電動車の暖房装置
出願人
トヨタ自動車株式会社
代理人
個人
,
個人
主分類
B60H
1/22 20060101AFI20250924BHJP(車両一般)
要約
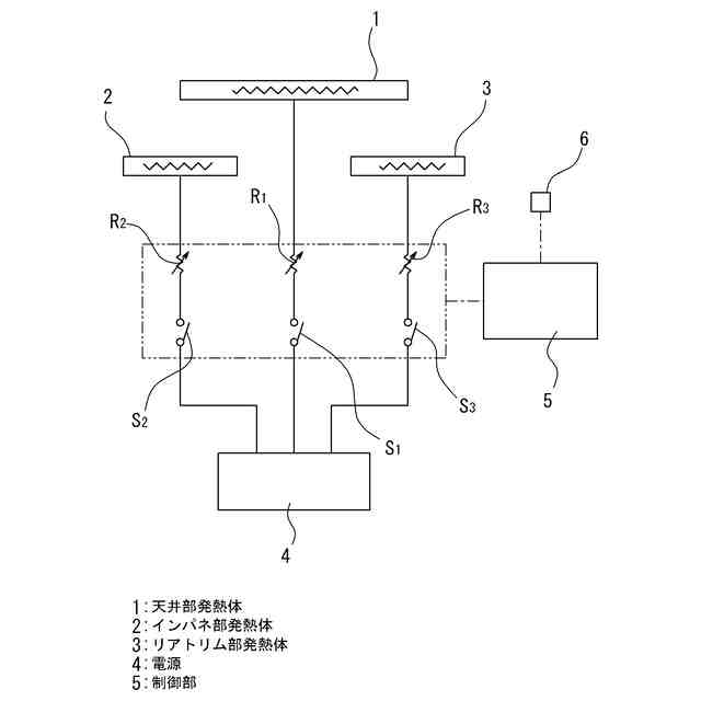
【課題】車室上部投影面積に近い面積の発熱体で、比較的低温の発熱を行うことで、車室内の空気を暖房に適切な温度に温めることができる電動車の暖房装置を提供する。
【解決手段】車両電力を利用して車室14の全域を温める電動車の暖房装置であって、上記車室の天井部に配設される、上部投影面積に近い面積を有する面状の天井部発熱体1と、上記車室の前方計器盤側に配設される面状のインパネ部発熱体2と、上記車室の後方側に配設される面状のリアトリム部発熱体3と、天井部発熱体1、インパネ部発熱体2及びリアトリム部発熱体3の選択及び温度調整を行う制御部と、を備える。
【選択図】図1
特許請求の範囲
【請求項1】
車両電力を利用して車室の全域を温める電動車の暖房装置であって、
上記車室の天井部に配設される、上部投影面積に近い面積を有する面状の主発熱体と、
上記車室の前方計器盤側に配設される面状の前部発熱体と、
上記車室の後方側に配設される面状の後部発熱体と、
上記主発熱体、上記前部発熱体及び上記後部発熱体の選択及び温度調整を行う制御部と、を備える、
ことを特徴とする電動車の暖房装置。
発明の詳細な説明
【技術分野】
【0001】
この発明は、電動車の暖房装置に関するもので、更に詳細には、車両電力を利用して車室の全域を温める電動車の暖房装置に関する。
続きを表示(約 1,500 文字)
【背景技術】
【0002】
従来のこの種の暖房装置として、面状発熱体を天井面の乗員の体形に合わせて、頭部前方に配設することで、輻射熱により前席乗員の上体を暖房する技術が知られている(例えば、特許文献1参照)。
【0003】
特許文献1によれば、頭の直上には発熱密度を低くした面状発熱体を配設し、頭の直上より外側には発熱密度を高くした面状発熱体を配設することで、車室内温度が上昇した際に感じる頭部への輻射熱の不快感をなくし、限られた電気容量内でも快適な暖房効果が得られる。
【先行技術文献】
【特許文献】
【0004】
特開2010-89629号公報
【発明の概要】
【発明が解決しようとする課題】
【0005】
しかしながら、特許文献1に記載のものは、面状発熱体を天井面に配設しているが、大きさの規定はなく、直接乗員の上体を輻射により暖房する目的で設けられている。したがって、車室内の空気全体を温めるわけでないため、部分的には暖かいが、与えられた熱量に対し温められる箇所が限られる懸念がある。換言すると、面状発熱体を用いて人体を直接暖房する効果を得るには、放射熱を利用することになるが、照射された箇所以外の低温の空気が対流伝熱により熱を奪っていくため、与えられた熱量は外部に熱伝達で移動してしまう。そのため、照射で受けた箇所以外はなかなか暖まらないという懸念がある。
【0006】
また、直接人体を放射により温めるには、発熱体との距離が離れれば離れる程高い温度が必要となり、車室内の乗員と発熱体との接触を避けるためには、ある程度の空間距離が必要となる。そのため、自ずと発熱体の温度は高温にせねばならず、その温度で接触すると火傷の虞がある。したがって、天井位置の発熱体は容易に乗員が触れることができるため、接触時には火傷しないような追加の安全装置が必要である。
【0007】
この発明は、上記事情に鑑みてなされたもので、車室上部投影面積に近い面積の発熱体で、比較的低温の発熱を行うことで、車室内の空気を暖房に適切な温度に温めることができる電動車の暖房装置を提供することを課題とする。
【課題を解決するための手段】
【0008】
上記課題を解決するために、この発明は、車両電力を利用して車室の全域を温める電動車の暖房装置であって、上記車室の天井部に配設される、上部投影面積に近い面積を有する面状の主発熱体と、上記車室の前方計器盤側に配設される面状の前部発熱体と、上記車室の後方側に配設される面状の後部発熱体と、上記主発熱体、上記前部発熱体及び上記後部発熱体の選択及び温度調整を行う制御部と、を備えることを特徴とする。
【0009】
このように構成することにより、車室上部投影面積に近い面積の主発熱体で、比較的低温の発熱を行うことで、循環を抑制した車室内のCO2の温室効果により車室内の空気を温めることができる。また、車室空間面積に対し、主発熱体の面積が十分でない場合は、前部補助発熱体と後部補助発熱体を選択して発熱することで、循環を抑制した車室内のCO2の温室効果により車室内の空気を温めることができる。
【発明の効果】
【0010】
この発明によれば、上記のように構成することにより、車室上部投影面積に近い面積の発熱体で、比較的低温の発熱を行うことで、車室内の空気を暖房に適切な温度に温めることができる。
【図面の簡単な説明】
(【0011】以降は省略されています)
この特許をJ-PlatPat(特許庁公式サイト)で参照する
関連特許
個人
タイヤレバー
2か月前
個人
前輪キャスター
1か月前
個人
上部一体型自動車
3日前
個人
ホイルのボルト締結
3か月前
個人
タイヤ脱落防止構造
1か月前
個人
ルーフ付きトライク
1か月前
個人
マスタシリンダ
10日前
日本精機株式会社
表示装置
1か月前
個人
キャンピングトライク
3か月前
個人
車両通過構造物
2か月前
井関農機株式会社
作業車両
3か月前
日本精機株式会社
表示装置
2か月前
日本精機株式会社
表示装置
2か月前
日本精機株式会社
表示装置
2か月前
井関農機株式会社
作業車両
3か月前
個人
アクセルのソフトウェア
3か月前
個人
車両用スリップ防止装置
3か月前
個人
キャンピングトレーラー
3か月前
個人
乗合路線バスの客室装置
2か月前
日本精機株式会社
車載表示装置
3か月前
日本精機株式会社
車載表示装置
18日前
日本精機株式会社
車室演出装置
1か月前
株式会社ニフコ
照明装置
1か月前
株式会社ニフコ
収納装置
27日前
個人
円湾曲ホイール及び球体輪
2か月前
株式会社ニフコ
保持装置
3か月前
個人
車載小物入れ兼雨傘収納具
3か月前
株式会社豊田自動織機
産業車両
2か月前
個人
音声ガイド、音声サービス
2か月前
日本無線株式会社
取付金具
2か月前
極東開発工業株式会社
車両
2か月前
トヨタ自動車株式会社
車両
3か月前
日本精機株式会社
車両用投影装置
3か月前
日本精機株式会社
車両用投影装置
3か月前
日本精機株式会社
車両用表示装置
3か月前
日本精機株式会社
車両用投射装置
4日前
続きを見る
他の特許を見る