TOP
|
特許
|
意匠
|
商標
特許ウォッチ
Twitter
他の特許を見る
公開番号
2025142699
公報種別
公開特許公報(A)
公開日
2025-10-01
出願番号
2024042207
出願日
2024-03-18
発明の名称
モータ制御装置
出願人
本田技研工業株式会社
代理人
弁理士法人クシブチ国際特許事務所
主分類
H02P
27/08 20060101AFI20250924BHJP(電力の発電,変換,配電)
要約
【課題】モータのより適切な制御を可能にすること。
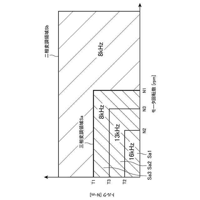
【解決手段】モータ2に供給する電力をPWM制御によって制御する制御部22を備え、PWM制御における変調方式を三相変調と二相変調とに切替可能能なモータ制御装置10において、制御部22は、モータ2の回転数が第1回転数N1以下で、かつトルクが第1トルクT1以下の領域Saを、三相変調を行う三相変調領域とし、三相変調領域以外の領域Sbを、二相変調を行う二相変調領域とする。
【選択図】図2
特許請求の範囲
【請求項1】
モータ(2)に供給する電力をPWM制御によって制御する制御部(22)を備え、PWM制御における変調方式を三相変調と二相変調とに切替可能なモータ制御装置において、
前記制御部(22)は、前記モータ(2)の回転数が第1回転数以下で、かつトルクが第1トルク以下の領域を、前記三相変調を行う三相変調領域とし、前記三相変調領域以外の領域を、前記二相変調を行う二相変調領域とする
モータ制御装置。
続きを表示(約 400 文字)
【請求項2】
前記モータ制御装置は、PWM制御におけるキャリア周波数を複数段階に切替可能であり、
前記三相変調領域の少なくとも一部のキャリア周波数は、前記二相変調領域のキャリア周波数よりも高い値に設定される
請求項1に記載のモータ制御装置。
【請求項3】
前記制御部(22)は、前記三相変調領域において、前記モータの回転数又は前記トルクが高い程、前記キャリア周波数を低下させる
請求項1又は2に記載のモータ制御装置。
【請求項4】
前記三相変調領域のキャリア周波数は、前記二相変調領域のキャリア周波数以上に設定され、
前記制御部(22)は、前記三相変調領域及び前記二相変調領域のそれぞれにおいて、前記モータの回転数又は前記トルクが高い程、前記キャリア周波数を低下させる
請求項1から3のいずれか一項に記載のモータ制御装置。
発明の詳細な説明
【技術分野】
【0001】
本発明は、モータ制御装置に関する。
続きを表示(約 2,400 文字)
【背景技術】
【0002】
近年、低炭素社会又は脱炭素社会の実現に向けた取り組みが活発化し、車両においてもCO
2
排出量の削減やエネルギー効率の改善のために、モータ制御技術に関する研究開発が行われている。
この種の技術として、モータに供給する電力をPWM制御により可変するモータ制御装置において、モータが高回転の領域の場合、又は、低回転かつ高トルクの領域の場合、変調方式を三相変調にすると共にキャリア周波数を基準周波数にし、モータが低回転かつ低トルクの領域の場合、三相変調にすると共にキャリア周波数を低周波数に切り替える技術が開示されている(例えば、特許文献1参照)。
また、特許文献1には、モータが低回転かつ低トルクのうちの特定領域の場合、変調方式を二相変調にすると共にキャリア周波数を低周波数に切り替えている。
【先行技術文献】
【特許文献】
【0003】
国際公開第2023/281285号
【発明の概要】
【発明が解決しようとする課題】
【0004】
ところで、モータ制御技術においては、振動、音、及び発熱等をより抑えることが望まれる。
しかし、従来の技術は、モータが低回転かつ低トルクの領域の場合に、不快な振動や音が発生するおそれがある。また、モータが高回転の場合にスイッチング損失が大きくなり、発熱やエネルギー効率の観点で不利な面がある。
本発明は上述した事情に鑑みてなされたものであり、モータのより適切な制御を可能にすることを目的とする。そして、延いてはエネルギー効率の改善に寄与するものである。
【課題を解決するための手段】
【0005】
モータに供給する電力をPWM制御によって制御する制御部を備え、PWM制御における変調方式を三相変調と二相変調とに切替可能、かつ、キャリア周波数を複数段階に切替可能なモータ制御装置において、前記制御部は、前記モータの回転数が第1回転数以下で、かつトルクが第1トルク以下の領域を、前記三相変調を行う三相変調領域とし、前記三相変調領域以外の領域を、前記二相変調を行う二相変調領域とするモータ制御装置を提供する。
【発明の効果】
【0006】
本発明によれば、モータのより適切な制御が可能になる。
【図面の簡単な説明】
【0007】
本発明の実施形態に係るモータ制御装置を周辺構成と共に示す図である。
モータの回転数及びトルクと、PWM制御の変調方式及びキャリア周波数の関係を示す図である。
変形例に係るモータの回転数及びトルクと、PWM制御の変調方式及びキャリア周波数の関係を示す図である。
変形例に係るモータの回転数及びトルクと、PWM制御の変調方式及びキャリア周波数の関係を示す図である。
【発明を実施するための形態】
【0008】
以下、図面を参照して本発明の実施の形態について説明する。
図1は、本発明の実施形態に係るモータ制御装置10を周辺構成と共に示す図である。
モータ制御装置10は、電動車両1に搭載され、車両駆動用のモータ2を駆動する。電動車両1は、二輪車両である。なお、電動車両1は、二輪車両に限定されず、三輪車両や四輪車両、さらには、アシスト式の自転車等のモータで駆動する任意の車両を適用可能である。また、電動車両1は、ディーゼルエンジンやガソリンエンジン等の燃料をエネルギー源とする内燃機関を備えるハイブリッド型の電動車両1(例えばHEV)であってもよい。
【0009】
モータ2は、電動車両1に駆動力を付与する電動モータであり、走行用モータ、又は回転電機ということもできる。モータ2は、例えば、三相交流のブラシレスDCモータである。三相はU相、V相及びW相である。
モータ制御装置10は、バッテリ3の直流電力をモータ駆動用の交流電力(本実施形態では三相交流電力)に変換するPDU(Power Drive Unit)20を備える。バッテリ3は、車両の動力源である高電圧のバッテリ3であり、直列又は並列に接続される複数のバッテリセルを備える。モータ制御装置10は、PCU(Power Control Unit)とも呼称される。
【0010】
PDU20は、電力変換器21と、制御部22を備える。電力変換器21は、直流電力を三相交流電力に変換するインバータと、昇圧及び降圧の電圧変換を行うコンバータ等を備える。
インバータは、IGBTやMOSFET等の半導体素子(スイッチング素子ということもできる)と帰還ダイオードとの並列回路であるハイ側回路と、半導体素子と帰還ダイオードとの並列回路であるロー側回路と、を直列に接続した直列回路が3個並列に接続された内部回路(不図示)を備えるものである。ここで、ハイ側回路とロー側回路それぞれの半導体素子のゲートにハイ信号(高電圧)のゲート信号が印加されると、半導体素子は導通(短絡)し、ロー信号(前記高電圧よりも電圧の低い低電圧)のゲート信号が印加されると半導体素子は不導通となる。制御部22は半導体素子のゲート信号を制御することで半導体素子の導通/不導通状態を切り替える(スイッチングする)ことによって、直流電力を、モータ2の駆動に適した交流電力に変換する。スイッチングのタイミングは、制御部22によるPWM(Pulse Width Modulation)制御によって調整される。コンバータは、制御部22によって、バッテリ3からの電力をモータ2の駆動に適した電圧等に変換する。
(【0011】以降は省略されています)
この特許をJ-PlatPat(特許庁公式サイト)で参照する
関連特許
本田技研工業株式会社
装置
6日前
本田技研工業株式会社
車両
7日前
本田技研工業株式会社
車両
1か月前
本田技研工業株式会社
モータ
3日前
本田技研工業株式会社
保持装置
今日
本田技研工業株式会社
固体電池
1日前
本田技研工業株式会社
保管装置
1日前
本田技研工業株式会社
保管装置
1日前
本田技研工業株式会社
通知装置
6日前
本田技研工業株式会社
内燃機関
6日前
本田技研工業株式会社
内燃機関
6日前
本田技研工業株式会社
電解装置
14日前
本田技研工業株式会社
車両構造
3日前
本田技研工業株式会社
車両構造
3日前
本田技研工業株式会社
受電装置
1日前
本田技研工業株式会社
送電装置
1日前
本田技研工業株式会社
断続装置
1日前
本田技研工業株式会社
バッテリ
今日
本田技研工業株式会社
バッテリ
今日
本田技研工業株式会社
ロボット
29日前
本田技研工業株式会社
回転機械
1か月前
本田技研工業株式会社
鞍乗型車両
13日前
本田技研工業株式会社
リアクトル
6日前
本田技研工業株式会社
触媒インク
1か月前
本田技研工業株式会社
触媒インク
1か月前
本田技研工業株式会社
作業システム
1か月前
本田技研工業株式会社
電源システム
1日前
本田技研工業株式会社
導体接合方法
1か月前
本田技研工業株式会社
位置推定装置
1か月前
本田技研工業株式会社
車両制御装置
1か月前
本田技研工業株式会社
鞍乗り型車両
1か月前
本田技研工業株式会社
運転制御装置
3日前
本田技研工業株式会社
分離システム
3日前
本田技研工業株式会社
車両制御装置
15日前
本田技研工業株式会社
鞍乗り型車両
1か月前
本田技研工業株式会社
潤滑システム
13日前
続きを見る
他の特許を見る