TOP
|
特許
|
意匠
|
商標
特許ウォッチ
Twitter
他の特許を見る
公開番号
2025141518
公報種別
公開特許公報(A)
公開日
2025-09-29
出願番号
2024041493
出願日
2024-03-15
発明の名称
バッテリシステム
出願人
本田技研工業株式会社
代理人
弁理士法人クシブチ国際特許事務所
主分類
H02J
7/00 20060101AFI20250919BHJP(電力の発電,変換,配電)
要約
【課題】バッテリの交換本数を低減しても、交換後のバッテリの総容量を効率良く増加可能にすること。
【解決手段】機器(11)の負荷(25)に電力を供給可能に接続され、機器(11)に固定される複数のバッテリ(21)を備えるバッテリシステム(10)であって、複数のバッテリ(21)は、第1バッテリ(21A)と、第2バッテリ(21B)を含み、少なくとも第1バッテリ(21A)は、機器(11)に着脱自在に固定され、複数のバッテリ21の蓄電電圧を測定する測定部と、測定部で測定された蓄電電圧に基いて、複数のバッテリ(21)の充放電を制御する制御部(23)を備え、制御部(23)は、所定時間経過後に、第1バッテリ(21A)よりも第2バッテリ(21B)の蓄電電圧が高くなるように、第1バッテリ(21A)と第2バッテリ(21B)の充放電を制御する。
【選択図】図2
特許請求の範囲
【請求項1】
機器(11)の負荷(25)に電力を供給可能に接続され、前記機器(11)に固定される複数のバッテリ(21)を備えるバッテリシステムであって、
前記複数のバッテリ(21)は、第1バッテリ(21A)と、第2バッテリ(21B)を含み、
少なくとも前記第1バッテリ(21A)は、前記機器(11)に着脱自在に固定され、
前記複数のバッテリ(21)の蓄電電圧を測定する測定部と、
前記測定部で測定された前記蓄電電圧に基いて、前記複数のバッテリ(21)の充放電を制御する制御部(23)を備え、
前記制御部(23)は、所定時間経過後に、前記第1バッテリ(21A)よりも前記第2バッテリ(21B)の蓄電電圧が高くなるように、前記第1バッテリ(21A)と前記第2バッテリ(21B)の充放電を制御する
バッテリシステム。
続きを表示(約 580 文字)
【請求項2】
前記制御部(23)は、前記第1バッテリ(21A)よりも前記第2バッテリ(21B)の蓄電電圧が高くなるように、前記第1バッテリ(21A)から前記第2バッテリ(21B)への電力供給を制御する
請求項1に記載のバッテリシステム。
【請求項3】
前記負荷(25)に前記複数のバッテリ(21)の電力を供給する際に、前記第1バッテリ(21A)及び前記第2バッテリ(21B)のうちの前記第1バッテリ(21A)の電力を前記負荷(25)に供給する
請求項1に記載のバッテリシステム。
【請求項4】
前記負荷(25)から供給される電力を、前記第1バッテリ(21A)及び前記第2バッテリ(21B)のうちの前記第2バッテリ(21B)に供給する
請求項1に記載のバッテリシステム。
【請求項5】
前記第1バッテリ(21A)から入力される電力の電圧を変化させた電力を前記負荷(25)に出力する変換器(31)を有し、
前記変換器(31)の出力側の正極と前記第2バッテリ(21B)の正極とが前記負荷(25)の正極に接続され、
前記変換器(31)の出力側の負極と前記第2バッテリ(21B)の負極とが前記負荷(25)の負極に接続される
請求項1に記載のバッテリシステム。
発明の詳細な説明
【技術分野】
【0001】
本発明は、バッテリシステムに関する。
続きを表示(約 2,300 文字)
【背景技術】
【0002】
近年、低炭素社会又は脱炭素社会の実現に向けた取り組みが活発化し、車両においてもCO
2
排出量の削減やエネルギー効率の改善のために、電動車両の航続距離延長技術に関する研究開発が行われている。
この種の技術として、メインバッテリパックと拡張範囲バッテリパックを有し、メインバッテリパックの電圧が拡張範囲バッテリパックの電圧より高い場合、メインバッテリパックの電圧が拡張範囲バッテリパックの電圧と一致するまで、又は、電圧差が許容範囲内になるように放電制御し、メインバッテリパック電圧が拡張範囲バッテリパック電圧より低い場合、拡張範囲バッテリパックの電圧をメインバッテリパックの電圧と一致させるか、又は、電圧差が許容範囲内となるように放電制御する技術が提案されている(例えば特許文献1)。
【先行技術文献】
【特許文献】
【0003】
中国特許出願公開第106627188号明細書
【発明の概要】
【発明が解決しようとする課題】
【0004】
ところで、バッテリ交換によりバッテリ残量を増やし、航続距離や機器の使用時間を延長する技術においては、バッテリの交換本数をできるだけ低減したいニーズがある。
しかし、従来の技術は、2つのバッテリの電圧を均衡化させるので、各バッテリの残容量がほぼ揃った状態となり、一方のバッテリを交換しても全バッテリの総容量を十分に増やすことができないおそれがある。そのため、バッテリの交換本数を低減すると、航続距離や機器の使用時間を十分に延長できない事態が生じる。
本発明は、上述した事情に鑑みてなされたものであり、バッテリの交換本数を低減しても、交換後のバッテリの総容量を効率良く増加可能にすることを目的とする。そして、延いてはエネルギー効率の改善に寄与するものである。
【課題を解決するための手段】
【0005】
機器の負荷に電力を供給可能に接続され、前記機器に固定される複数のバッテリを備えるバッテリシステムであって、前記複数のバッテリは、第1バッテリ21Aと、第2バッテリを含み、少なくとも前記第1バッテリは、前記機器に着脱自在に固定され、前記複数のバッテリの蓄電電圧を測定する測定部と、前記測定部で測定された前記蓄電電圧に基いて、前記複数のバッテリ(21)の充放電を制御する制御部を備え、前記制御部は、所定時間経過後に、前記第1バッテリよりも前記第2バッテリの蓄電電圧が高くなるように、前記第1バッテリと前記第2バッテリの充放電を制御するバッテリシステムを提供する。
【発明の効果】
【0006】
バッテリの交換本数を低減しても、交換後のバッテリの総容量を効率良く増加可能にする。
【図面の簡単な説明】
【0007】
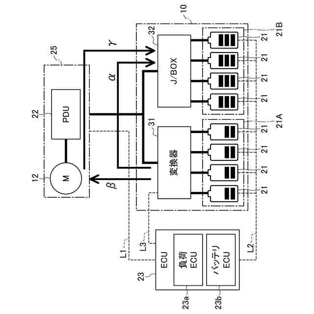
本実施形態に係るバッテリシステムを備えた電動車両を模式的に示す図である。
バッテリシステムを示す図である。
バッテリシステムの回路構成を示す図である。
バッテリ制御の一例の基本動作を示すフローチャートである。
バッテリ制御の他の例の基本動作を示すフローチャートである。
【発明を実施するための形態】
【0008】
以下、図面を参照して本発明の実施の形態について説明する。
図1は、本実施形態に係るバッテリシステム10を備えた電動車両11を模式的に示す図である。電動車両11は、バッテリシステム10からの電力によって駆動される電動モータ12によって走行する電気自動車(EV:Electric Vehicle)である。
なお、本発明を適用可能な電動車両11は、例えば、四輪の車両のみならず、鞍乗り型の二輪の車両や、三輪の車両、さらには、アシスト式の自転車など、走行用のバッテリから供給される電力によって駆動する任意の車両を適用可能である。また、電動車両11は、ディーゼルエンジンやガソリンエンジンなどの燃料をエネルギー源とする内燃機関を備えるハイブリッド型の電動車両(例えばHEV)であってもよい。
【0009】
バッテリシステム10は、複数(本実施形態では8個)のバッテリ21を備え、各バッテリ21は電動車両11に着脱自在に固定される。各バッテリ21は、二次電池であり、例えば、リチウムイオン電池である。本実施形態のバッテリ21は、ユーザが容易に把持可能なバッテリケースに収容された可搬型のバッテリであり、MPP(Mobile Power Pack)とも称され、電動車両11のユーザ等が容易に電動車両11から取り出し、交換することが可能である。
【0010】
電動モータ12は、電動車両11に駆動力を付与するモータであり、走行用モータ、又は回転電機ということもできる。本実施形態の電動モータ12は、回生ブレーキとしても使用される。回生ブレーキは、電動車両11が減速、又は停止する際に電動モータ12を発電機として動作させ、発生した電力をバッテリ21に回収することで、電動車両11のエネルギー効率が向上する。なお、電動モータ12の発電電力をバッテリ21に回収する構成は公知の構成を適宜に採用可能である。
また、電動モータ12は、電動車両11に搭載され得る適宜なモータを適用でき、例えば、一個のモータに限定されず、複数のモータでもよいし、また、電動モータ12が、駆動用のモータに加えて、回生専用のモータ(発電機、回転電機ということもできる)を備えていてもよい。
(【0011】以降は省略されています)
この特許をJ-PlatPat(特許庁公式サイト)で参照する
関連特許
本田技研工業株式会社
モータ
7日前
本田技研工業株式会社
内燃機関
10日前
本田技研工業株式会社
ステータ
3日前
本田技研工業株式会社
車両構造
7日前
本田技研工業株式会社
車両構造
7日前
本田技研工業株式会社
受電装置
5日前
本田技研工業株式会社
送電装置
5日前
本田技研工業株式会社
断続装置
5日前
本田技研工業株式会社
固体電池
5日前
本田技研工業株式会社
保管装置
5日前
本田技研工業株式会社
バッテリ
4日前
本田技研工業株式会社
バッテリ
4日前
本田技研工業株式会社
保持装置
4日前
本田技研工業株式会社
会話装置
3日前
本田技研工業株式会社
保管装置
5日前
本田技研工業株式会社
切断装置
3日前
本田技研工業株式会社
リンク機構
3日前
本田技研工業株式会社
鞍乗り型車両
3日前
本田技研工業株式会社
鞍乗り型車両
4日前
本田技研工業株式会社
放電処理方法
5日前
本田技研工業株式会社
電源システム
5日前
本田技研工業株式会社
鞍乗り型車両
3日前
本田技研工業株式会社
潤滑システム
5日前
本田技研工業株式会社
分離システム
7日前
本田技研工業株式会社
運転制御装置
7日前
本田技研工業株式会社
モータ制御装置
5日前
本田技研工業株式会社
遠心ファン構造
4日前
本田技研工業株式会社
遠心ファン構造
4日前
本田技研工業株式会社
水電解スタック
3日前
本田技研工業株式会社
車両用冷却装置
3日前
本田技研工業株式会社
車両用冷却装置
3日前
本田技研工業株式会社
リリーフバルブ
4日前
本田技研工業株式会社
能動型防振装置
7日前
本田技研工業株式会社
モータ支持構造
7日前
本田技研工業株式会社
CO2電解装置
3日前
本田技研工業株式会社
CO2変換方法
3日前
続きを見る
他の特許を見る