TOP
|
特許
|
意匠
|
商標
特許ウォッチ
Twitter
他の特許を見る
公開番号
2025141685
公報種別
公開特許公報(A)
公開日
2025-09-29
出願番号
2024041734
出願日
2024-03-15
発明の名称
鞍乗り型電動車両
出願人
本田技研工業株式会社
代理人
個人
,
個人
,
個人
主分類
B62J
43/16 20200101AFI20250919BHJP(鉄道以外の路面車両)
要約
【課題】鞍乗り型電動車両において、バッテリのコネクタ部を適切に保護しつつ、利便性を損なわないようにバッテリを配置する。
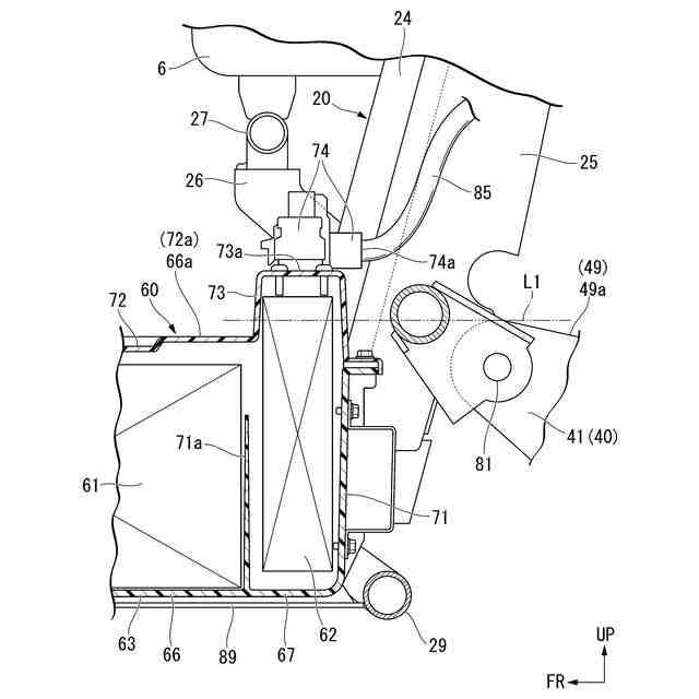
【解決手段】自動二輪車は、車体フレーム20と、走行用のモータと、運転者が足を載せるフラットフロアと、フラットフロアの下方に配置され、モータに供給される電力を蓄電する蓄電部を収容したバッテリケース63と、を備える。バッテリケース63は、バッテリケース63の上面に設けられ、上方に隆起した凸部73と、凸部73の頂面73aに配置されたコネクタ部74と、を有する。車体フレーム20は、平面視で凸部73に上方から重なるリアクロスフレーム27を有する。
【選択図】図3
特許請求の範囲
【請求項1】
車体フレーム(20)と、
走行用のモータ(44)と、
運転者が足を載せるフラットフロア(5)と、
前記フラットフロア(5)の下方に配置され、前記モータ(44)に供給される電力を蓄電する蓄電部(61)を収容したバッテリケース(63)と、
を備え、
前記バッテリケース(63)は、
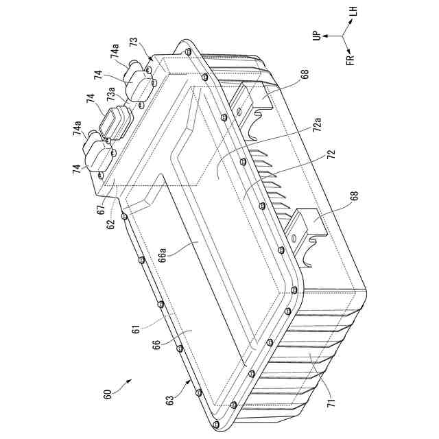
前記バッテリケース(63)の上面に設けられ、上方に隆起した凸部(73)と、
前記凸部(73)の頂面(73a)に配置されたコネクタ部(74)と、
を有し、
前記車体フレーム(20)は、平面視で前記凸部(73)に上方から重なる重なり部(27)を有する、
鞍乗り型電動車両。
続きを表示(約 1,200 文字)
【請求項2】
前記モータ(44)を含むとともに後輪(3)を支持し、前記車体フレーム(20)に対して上下揺動可能に設けられたスイングユニット(41)を備え、
前記スイングユニット(41)は、車幅方向に延びる揺動軸(82)に支持された軸支部(49a)を有し、
前記バッテリケース(63)は、平面視で前記凸部(73)に隣接するとともに前記蓄電部(61)を収容する蓄電部収容部(66)を有し、
前記蓄電部収容部(66)の上面(66a)は、前記軸支部(49a)の上端よりも下方に位置し、
前記凸部(73)の前記頂面(73a)は、前記軸支部(49a)の上端よりも上方に位置する、
請求項1に記載の鞍乗り型電動車両。
【請求項3】
前記車体フレーム(20)は、
前記フラットフロア(5)の下方を前後方向に延びる左右一対のロアフレーム(23)と、
前記一対のロアフレーム(23)の後端から後上方に延びる左右一対のリアフレーム(24)と、
前記一対のリアフレーム(24)間に架設されたクロスフレーム(27)と、
を有し、
前記クロスフレーム(27)は、前記重なり部(27)を含むとともに、前記一対のリアフレーム(24)に対して着脱可能に形成されている、
請求項1または請求項2に記載の鞍乗り型電動車両。
【請求項4】
前記車体フレーム(20)は、側面視で前記一対のリアフレーム(24)から延出した左右一対のブラケット(26)をさらに備え、
前記クロスフレーム(27)は、前記一対のブラケット(26)に着脱可能に締結され、
前記一対のブラケット(26)は、側面視で前記コネクタ部(74)に外側から重なっている、
請求項3に記載の鞍乗り型電動車両。
【請求項5】
前記モータ(44)を含むとともに後輪(3)を支持し、前記車体フレーム(20)に対して上下揺動可能に設けられたスイングユニット(41)と、
前記スイングユニット(41)と一体に上下揺動するパワーコントロールユニット(50)と、
を備え、
前記コネクタ部(74)は、ケーブル(85)が挿通されるとともに後方に開口した接続開口(74a)を有する、
請求項1または請求項2に記載の鞍乗り型電動車両。
【請求項6】
前記ケーブル(85)は、前記コネクタ部(74)および前記パワーコントロールユニット(50)を接続する高圧線を有し、
前記パワーコントロールユニット(50)は、前記スイングユニット(41)の上方に配置されている、
請求項5に記載の鞍乗り型電動車両。
【請求項7】
前記コネクタ部(74)は、前記モータ(44)の上端よりも上方に配置されている、
請求項1または請求項2に記載の鞍乗り型電動車両。
発明の詳細な説明
【技術分野】
【0001】
本発明は、鞍乗り型電動車両に関するものである。
続きを表示(約 2,000 文字)
【背景技術】
【0002】
近年、低炭素社会又は脱炭素社会の実現に向けた取り組みが活発化し、車両においてもCO2排出量の削減やエネルギー効率の改善のために、電動化技術に関する研究開発が行われている。特許文献1には、車体の最下部であって前輪と後輪の間のほぼ全長にわたる範囲にバッテリ台を略水平に設け、このバッテリ台の上に多数のバッテリが搭載された電動二輪車が開示されている。この電動二輪車では、シートの下方位置から前方に広がる範囲にバッテリが配置されている。
【先行技術文献】
【特許文献】
【0003】
特許第2711704号公報
【発明の概要】
【発明が解決しようとする課題】
【0004】
ところで、鞍乗り型電動車両に関する技術においては、運転者の足の周囲にバッテリを配置する場合、バッテリの高さによってはバッテリが運転者にとって邪魔になるなど利便性を損なう可能性があり、バッテリの上面をより低い位置に設定する要求がある。一方で、バッテリに対するケーブルの脱着作業の作業性を考慮してバッテリに設けられるコネクタ部を適切に保護しつつアクセスしやすい位置に配置することが望まれる。
【0005】
本願は上記課題の解決のため、鞍乗り型電動車両において、バッテリのコネクタ部を適切に保護しつつ、利便性を損なわないようにバッテリを配置することを目的としたものである。そして、延いてはエネルギー効率の改善に寄与するものである。
【課題を解決するための手段】
【0006】
本発明の第1の態様に係る鞍乗り型電動車両は、車体フレーム(20)と、走行用のモータ(44)と、運転者が足を載せるフラットフロア(5)と、前記フラットフロア(5)の下方に配置され、前記モータ(44)に供給される電力を蓄電する蓄電部(61)を収容したバッテリケース(63)と、を備え、前記バッテリケース(63)は、前記バッテリケース(63)の上面に設けられ、上方に隆起した凸部(73)と、前記凸部(73)の頂面(73a)に配置されたコネクタ部(74)と、を有し、前記車体フレーム(20)は、平面視で前記凸部(73)に上方から重なる重なり部(27)を有する。
【0007】
第1の態様によれば、凸部の頂面にコネクタ部が配置されるので、バッテリケースのうち蓄電部が収容された大半の箇所の上面の位置を低くしつつ、コネクタ部をより高い箇所に配置できる。これにより、フラットフロアの高さが高くなることを抑制できるとともに、バッテリケースのうち凸部以外の箇所にコネクタ部が配置された構成と比較してコネクタ部へのアクセスが容易となり、コネクタ部におけるケーブルの脱着作業の作業性が向上する。また、車体フレームの重なり部が凸部に平面視で上方から重なるので、周囲からアクセスしやすい箇所に配置されたコネクタ部を車体フレームにより保護することができる。以上により、バッテリのコネクタ部を適切に保護しつつ、利便性を損なわないようにバッテリを配置することができる。
【0008】
本発明の第2の態様に係る鞍乗り型電動車両は、上記第1の態様に係る鞍乗り型電動車両において、前記モータ(44)を含むとともに後輪(3)を支持し、前記車体フレーム(20)に対して上下揺動可能に設けられたスイングユニット(41)を備え、前記スイングユニット(41)は、車幅方向に延びる揺動軸(82)に支持された軸支部(49a)を有し、前記バッテリケース(63)は、平面視で前記凸部(73)に隣接するとともに前記蓄電部(61)を収容する蓄電部収容部(66)を有し、前記蓄電部収容部(66)の上面(66a)は、前記軸支部(49a)の上端よりも下方に位置し、前記凸部(73)の前記頂面(73a)は、前記軸支部(49a)の上端よりも上方に位置していてもよい。
【0009】
第2の態様によれば、蓄電部収容部の上面を軸支部の上端よりも下方に配置してフラットフロアの高さを低くしつつ、コネクタ部をできるだけ高い位置に配置することができる。
【0010】
本発明の第3の態様に係る鞍乗り型電動車両は、上記第1の態様または第2の態様に係る鞍乗り型電動車両において、前記車体フレーム(20)は、前記フラットフロア(5)の下方を前後方向に延びる左右一対のロアフレーム(23)と、前記一対のロアフレーム(23)の後端から後上方に延びる左右一対のリアフレーム(24)と、前記一対のリアフレーム(24)間に架設されたクロスフレーム(27)と、を有し、前記クロスフレーム(27)は、前記重なり部(27)を含むとともに、前記一対のリアフレーム(24)に対して着脱可能に形成されていてもよい。
(【0011】以降は省略されています)
この特許をJ-PlatPat(特許庁公式サイト)で参照する
関連特許
本田技研工業株式会社
装置
6日前
本田技研工業株式会社
車両
7日前
本田技研工業株式会社
モータ
3日前
本田技研工業株式会社
保持装置
今日
本田技研工業株式会社
車両構造
3日前
本田技研工業株式会社
保管装置
1日前
本田技研工業株式会社
バッテリ
今日
本田技研工業株式会社
バッテリ
今日
本田技研工業株式会社
固体電池
1日前
本田技研工業株式会社
断続装置
1日前
本田技研工業株式会社
電解装置
14日前
本田技研工業株式会社
受電装置
1日前
本田技研工業株式会社
送電装置
1日前
本田技研工業株式会社
車両構造
3日前
本田技研工業株式会社
内燃機関
6日前
本田技研工業株式会社
ロボット
29日前
本田技研工業株式会社
内燃機関
6日前
本田技研工業株式会社
保管装置
1日前
本田技研工業株式会社
通知装置
6日前
本田技研工業株式会社
リアクトル
6日前
本田技研工業株式会社
鞍乗型車両
13日前
本田技研工業株式会社
電源システム
1日前
本田技研工業株式会社
潤滑システム
1日前
本田技研工業株式会社
車両制御装置
7日前
本田技研工業株式会社
運転制御装置
3日前
本田技研工業株式会社
固体二次電池
13日前
本田技研工業株式会社
鞍乗り型車両
今日
本田技研工業株式会社
車両制御装置
13日前
本田技研工業株式会社
潤滑システム
13日前
本田技研工業株式会社
放電処理方法
1日前
本田技研工業株式会社
分離システム
3日前
本田技研工業株式会社
車両制御装置
15日前
本田技研工業株式会社
クラッチ装置
22日前
本田技研工業株式会社
鞍乗り型車両
23日前
本田技研工業株式会社
動力伝達装置
28日前
本田技研工業株式会社
鞍乗り型車両
21日前
続きを見る
他の特許を見る