TOP
|
特許
|
意匠
|
商標
特許ウォッチ
Twitter
他の特許を見る
公開番号
2025141106
公報種別
公開特許公報(A)
公開日
2025-09-29
出願番号
2024040874
出願日
2024-03-15
発明の名称
全固体電池及びその製造方法
出願人
本田技研工業株式会社
代理人
個人
,
個人
主分類
H01M
10/0585 20100101AFI20250919BHJP(基本的電気素子)
要約
【課題】固体電解質層のイオン伝導性が高い全固体電池及びその製造方法を提供すること。
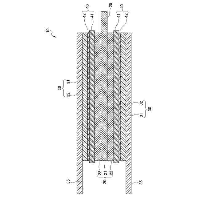
【解決手段】正極層と、負極層と、前記正極層と負極層との間に配置された固体電解質層とを有し、前記固体電解質層は、第1固体電解質層と、前記基材含有固体電解質層の一方の表面に積層された第2固体電解質層とを有する積層体であって、前記第1固体電解質層は、多孔質基材と、前記多孔質基材の孔部に充填された固体電解質を含有する第1固体電解質組成物とを含み、前記第2固体電解質層は固体電解質を含有する第2固体電解質組成物を含み、基材を含まない、全固体電池。
【選択図】図1
特許請求の範囲
【請求項1】
正極層と、負極層と、前記正極層と前記負極層との間に配置された固体電解質層とが互い圧着された圧着積層体を備え、
前記固体電解質層は、第1固体電解質層と、前記第1固体電解質層の一方の表面に圧着された第2固体電解質層とを有し、
前記第1固体電解質層は、多孔質基材と、前記多孔質基材の孔部に充填された固体電解質を含有する第1固体電解質組成物とを含む基材含有体であって、
前記第2固体電解質層は固体電解質を含有する第2固体電解質組成物を含み、基材を含まない基材非含有体である、全固体電池。
続きを表示(約 880 文字)
【請求項2】
前記第1固体電解質層は前記正極層に圧着され、前記第2固体電解質層は前記負極層に圧着されている、請求項1に記載の全固体電池。
【請求項3】
前記第1固体電解質層の外周端部は、平面視で前記正極層及び前記負極層の少なくとも一方の外周端部よりも大きい、請求項1又は2に記載の全固体電池。
【請求項4】
前記第1固体電解質組成物及び前記第2固体電解質組成物はそれぞれバインダーを含有し、前記第1固体電解質組成物のバインダー含有率は、前記第2固体電解質組成物のバインダー含有率よりも高い、請求項1又は2に記載の全固体電池。
【請求項5】
前記正極層は、シート状の正極集電体と、前記正極集電体の両方の表面に積層された2つの正極活物質層とを有し、前記負極層は、前記正極層を挟むように配置されている、請求項1又は2に記載の全固体電池。
【請求項6】
正極層と、負極層と、前記正極層と負極層との間に配置された固体電解質層とが積層され、前記固体電解質層は、第1固体電解質層と、前記第1固体電解質層の一方の表面に配置された第2固体電解質層とを有し、前記第1固体電解質層は、多孔質基材と、前記多孔質基材の孔部に充填された固体電解質を含有する第1固体電解質組成物とを含む基材含有体であって、前記第2固体電解質層は固体電解質を含有する第2固体電解質組成物を含み、基材を含まない基材非含有体である積層体を加圧して、各層を圧着させる工程を含む、全固体電池の製造方法。
【請求項7】
前記積層体の前記第1固体電解質層は前記正極層に積層され、前記第2固体電解質層は前記負極層に積層されている、請求項6に記載の全固体電池の製造方法。
【請求項8】
前記積層体の前記正極層と前記第1固体電解質層とが圧着されている、請求項7に記載の全固体電池の製造方法。
【請求項9】
前記積層体の前記負極層と前記第2固体電解質層とが圧着されている、請求項7又は8に記載の全固体電池の製造方法。
発明の詳細な説明
【技術分野】
【0001】
本発明は、全固体電池及びその製造方法に関する。
続きを表示(約 1,500 文字)
【背景技術】
【0002】
近年、より多くの人々が手ごろで信頼でき、持続可能かつ先進的なエネルギーへのアクセスを確保できるようにするため、エネルギーの効率化に貢献する二次電池に関する研究開発が行われている。二次電池の中でも正極層と負極層との間に固体電解質層を配置し圧着した圧着積層体を有する全固体電池は、固体電解質が不燃性であるために安全性が向上する点や、より高いエネルギー密度を有する点において優れており、特に注目を集めている。全固体電池の固体電解質層として、固体電解質を多孔質基材の孔部に充填して成形したものが知られている(特許文献1、2)。
【先行技術文献】
【特許文献】
【0003】
特開2015-153460号公報
特開2021-163759号公報
【発明の概要】
【発明が解決しようとする課題】
【0004】
ところで、全固体電池では、ハイレート特性の向上が課題の一つである。全固体電池でのハイレート特性の向上のため、固体電解質層のイオン伝導性を向上させることは有効である。しかしながら、固体電解質を多孔質基材の孔部に充填した固体電解質層は、多孔質基材の孔部と固体電解質との間にピンホールが生成して、イオン伝導性が低下することがある。
【0005】
本発明は、上記の事情に鑑みてなされたものであり、固体電解質層のイオン伝導性が高い全固体電池及びその製造方法を提供することを目的とする。
【課題を解決するための手段】
【0006】
本発明者らは、固体電解質層を、多孔質基材の孔部に第1固体電解質組成物を充填した第1固体電解質層の一方の表面に、第2固体電解質組成物を含み、基材を含まない第2固体電解質層を圧着して形成することにより、上記課題を解決できることを見出し、本発明を完成するに至った。したがって、本発明は、次のものを提供する。
【0007】
(1)正極層と、負極層と、前記正極層と前記負極層との間に配置された固体電解質層とが互い圧着された圧着積層体を備え、前記固体電解質層は、第1固体電解質層と、前記第1固体電解質層の一方の表面に圧着された第2固体電解質層とを有し、前記第1固体電解質層は、多孔質基材と、前記多孔質基材の孔部に充填された固体電解質を含有する第1固体電解質組成物とを含む基材含有体であって、前記第2固体電解質層は固体電解質を含有する第2固体電解質組成物を含み、基材を含まない基材非含有体である、全固体電池。
【0008】
(1)の全固体電池によれば、圧着積層体は固体電解質層の第1固体電解質層と第2固体電解質層とが圧着されているので、第1固体電解質層に形成されたピンホールが第2固体電解質層の第2固体電解質組成物で充填される。このため、この圧着積層体を備える全固体電池は、固体電解質層のイオン伝導性が高く、ハイレート特性が向上する。
【0009】
(2)前記第1固体電解質層は前記正極層に圧着され、前記第2固体電解質層は前記負極層に圧着されている、(1)に記載の全固体電池。
【0010】
(2)の全固体電池によれば、多孔質基材を含む第1固体電解質層が正極層に圧着されているので、正極層には強度が高い材料を用いることができる。また、多孔質基材を含まない第2固体電解質層が負極層に圧着されているので、負極層には強度が低い材料を用いることができる。
(【0011】以降は省略されています)
この特許をJ-PlatPat(特許庁公式サイト)で参照する
関連特許
本田技研工業株式会社
装置
8日前
本田技研工業株式会社
車両
9日前
本田技研工業株式会社
モータ
5日前
本田技研工業株式会社
断続装置
3日前
本田技研工業株式会社
保管装置
3日前
本田技研工業株式会社
保管装置
3日前
本田技研工業株式会社
保持装置
2日前
本田技研工業株式会社
固体電池
3日前
本田技研工業株式会社
送電装置
3日前
本田技研工業株式会社
受電装置
3日前
本田技研工業株式会社
車両構造
5日前
本田技研工業株式会社
車両構造
5日前
本田技研工業株式会社
バッテリ
2日前
本田技研工業株式会社
会話装置
1日前
本田技研工業株式会社
ステータ
1日前
本田技研工業株式会社
バッテリ
2日前
本田技研工業株式会社
内燃機関
8日前
本田技研工業株式会社
切断装置
1日前
本田技研工業株式会社
電解装置
16日前
本田技研工業株式会社
通知装置
8日前
本田技研工業株式会社
内燃機関
8日前
本田技研工業株式会社
鞍乗型車両
15日前
本田技研工業株式会社
リンク機構
1日前
本田技研工業株式会社
リアクトル
8日前
本田技研工業株式会社
固体二次電池
15日前
本田技研工業株式会社
車両制御装置
9日前
本田技研工業株式会社
放電処理方法
3日前
本田技研工業株式会社
鞍乗り型車両
2日前
本田技研工業株式会社
潤滑システム
15日前
本田技研工業株式会社
鞍乗り型車両
1日前
本田技研工業株式会社
電源システム
3日前
本田技研工業株式会社
鞍乗り型車両
1日前
本田技研工業株式会社
潤滑システム
3日前
本田技研工業株式会社
運転制御装置
5日前
本田技研工業株式会社
分離システム
5日前
本田技研工業株式会社
車両制御装置
15日前
続きを見る
他の特許を見る