TOP
|
特許
|
意匠
|
商標
特許ウォッチ
Twitter
他の特許を見る
公開番号
2025142596
公報種別
公開特許公報(A)
公開日
2025-10-01
出願番号
2024042044
出願日
2024-03-18
発明の名称
蓄電セル及び蓄電セルの製造方法
出願人
トヨタ自動車株式会社
,
トヨタバッテリー株式会社
代理人
弁理士法人深見特許事務所
主分類
H01M
50/178 20210101AFI20250924BHJP(基本的電気素子)
要約
【課題】部品点数の削減が可能な蓄電セルを提供すること。
【解決手段】蓄電セルは、それぞれが電極タブ114を有し、互いに対向するように配置された一対の電極体110と、絶縁材料からなり、一対の電極体の各電極タブ間に配置された介在部材120と、一対の電極体と介在部材とを収容するラミネート外装体160と、介在部材の表面に設けられており、各電極タブと接続された導電膜130と、導電膜に接続されており、ラミネート外装体から突出する集電端子140と、を備える。
【選択図】図5
特許請求の範囲
【請求項1】
それぞれが電極タブを有し、互いに対向するように配置された一対の電極体と、
絶縁材料からなり、前記一対の電極体の各前記電極タブ間に配置された介在部材と、
前記一対の電極体と前記介在部材とを収容するラミネート外装体と、
前記介在部材の表面に設けられており、各前記電極タブと接続された導電膜と、
前記導電膜に接続されており、前記ラミネート外装体から突出する集電端子と、を備える、蓄電セル。
続きを表示(約 930 文字)
【請求項2】
前記集電端子は、前記導電膜と同じ材料で前記導電膜と一体的に形成されている、請求項1に記載の蓄電セル。
【請求項3】
各前記電極体は、電極箔及び前記電極箔に設けられた活物質層とを含む塗工部をさらに有し、
各前記電極タブは、前記一対の電極体が互いに対向する積層方向と直交する直交方向に前記塗工部から突出しており、
前記積層方向に互いに対向する一対の前記電極タブは、互いに同じ極性を有しており、
前記介在部材は、
互いに隣接する一対の前記塗工部の境界部に前記直交方向に隣接し、かつ、互いに隣接する一対の前記電極タブに前記積層方向に隣接するスペーサ部と、
前記スペーサ部から前記直交方向における外向きに突出しており、各前記電極タブを支持する支持部と、を有し、
前記スペーサ部は、互いに隣接する一対の前記塗工部の前記境界部から前記直交方向に離間するにしたがって次第に前記積層方向における寸法が大きくなる形状を有する、請求項1に記載の蓄電セル。
【請求項4】
前記導電膜は、
前記積層方向における前記支持部の外側面を被覆しており、各前記電極タブに接続された一対の接続基部と、
前記直交方向における前記支持部の外側面を被覆しており、前記一対の接続基部同士を連結する連結部と、を有し、
前記集電端子は、前記連結部に接続されている、請求項3に記載の蓄電セル。
【請求項5】
前記介在部材は、前記接続基部の縁部を被覆する被覆部を有する、請求項4に記載の蓄電セル。
【請求項6】
請求項1に記載の蓄電セルの製造方法であって、
互いに接触及び離間することが可能で、かつ、互いに接触した状態において前記介在部材に対応する空間を有する第1金型及び第2金型内に、前記導電膜を配置する配置工程と、
前記第1金型及び前記第2金型内に前記導電膜が配置された状態において、前記介在部材を形成する絶縁材料を前記空間に充填することによって前記導電膜及び前記介在部材を一体形成する充填工程と、を備える、蓄電セルの製造方法。
発明の詳細な説明
【技術分野】
【0001】
本開示は、蓄電セル及び蓄電セルの製造方法に関する。
続きを表示(約 1,400 文字)
【背景技術】
【0002】
例えば、特表2023-525907号公報には、複数の電極体アセンブリと、複数の電極体アセンブリを収容するケースと、を備える電池が開示されている。各電極体アセンブリは、互いに隣接する一対の電極体と、絶縁スペーサーと、四角筒状に形成されたタブ支持部材と、電極引き出し部材と、封止膜と、を含んでいる。各電極体は、電極体本体と、タブと、を有している。絶縁スペーサーは、互いに隣接する一対のタブ間に配置されている。絶縁スペーサーは、タブ支持部材の第3表面に固定されている。タブは、タブ支持部材の第1表面に接続されている。電極引き出し部材は、タブ支持部材の第4表面に接続されており、封止膜から突出している。
【先行技術文献】
【特許文献】
【0003】
特表2023-525907号公報
【発明の概要】
【発明が解決しようとする課題】
【0004】
特表2023-525907号公報に記載される電池では、電極引き出し部材を封止膜の外部に引き出す構造が複雑である。
【0005】
本開示の目的は、部品点数の削減が可能な蓄電セル及び蓄電セルの製造方法を提供することである。
【課題を解決するための手段】
【0006】
本開示の一局面に従った蓄電セルは、それぞれが電極タブを有し、互いに対向するように配置された一対の電極体と、絶縁材料からなり、前記一対の電極体の各前記電極タブ間に配置された介在部材と、前記一対の電極体と前記介在部材とを収容するラミネート外装体と、前記介在部材の表面に設けられており、各前記電極タブと接続された導電膜と、前記導電膜に接続されており、前記ラミネート外装体から突出する集電端子と、を備える。
【発明の効果】
【0007】
本開示によれば、部品点数の削減が可能な蓄電セル及び蓄電セルの製造方法を提供することができる。
【図面の簡単な説明】
【0008】
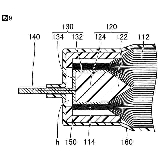
本開示の一実施形態における蓄電セルを概略的に示す斜視図である。
図1に示される蓄電セルの分解斜視図である。
セルユニットの分解斜視図である。
蓄電セルの正面図である。
図4におけるV-V線での断面図である。
図4におけるVI-VI線での断面図である。
介在部材及び導電膜の製造方法を概略的に示す断面図である。
介在部材の変形例を概略的に示す断面図である。
導電膜及び集電端子の変形例を概略的に示す断面図である。
介在部材及び導電膜の製造方法の変形例を概略的に示す断面図である。
セルユニットの変形例を概略的に示す断面図である。
【発明を実施するための形態】
【0009】
本開示の実施形態について、図面を参照して説明する。なお、以下で参照する図面では、同一又はそれに相当する部材には、同じ番号が付されている。
【0010】
図1は、本開示の一実施形態における蓄電セルを概略的に示す斜視図である。図2は、図1に示される蓄電セルの分解斜視図である。図3は、セルユニットの分解斜視図である。図4は、蓄電セルの正面図である。図5は、図4におけるV-V線での断面図である。図6は、図4におけるVI-VI線での断面図である。この蓄電セル1は、例えば、車両の底部に搭載される。
(【0011】以降は省略されています)
この特許をJ-PlatPat(特許庁公式サイト)で参照する
関連特許
トヨタ自動車株式会社
車両
6日前
トヨタ自動車株式会社
車両
2日前
トヨタ自動車株式会社
車両
2日前
トヨタ自動車株式会社
電池
6日前
トヨタ自動車株式会社
電動車
2日前
トヨタ自動車株式会社
電動車
4日前
トヨタ自動車株式会社
ロータ
4日前
トヨタ自動車株式会社
回転子
2日前
トヨタ自動車株式会社
電動車
2日前
トヨタ自動車株式会社
電動車
2日前
トヨタ自動車株式会社
電解液
2日前
トヨタ自動車株式会社
制御装置
2日前
トヨタ自動車株式会社
育苗装置
3日前
トヨタ自動車株式会社
蓄電装置
6日前
トヨタ自動車株式会社
蓄電装置
2日前
トヨタ自動車株式会社
電源装置
2日前
トヨタ自動車株式会社
二次電池
6日前
トヨタ自動車株式会社
駆動装置
2日前
トヨタ自動車株式会社
蓄電セル
4日前
トヨタ自動車株式会社
蓄電セル
4日前
トヨタ自動車株式会社
検査装置
6日前
トヨタ自動車株式会社
蓄電装置
4日前
トヨタ自動車株式会社
塗布装置
4日前
トヨタ自動車株式会社
切断装置
2日前
トヨタ自動車株式会社
蓄電装置
6日前
トヨタ自動車株式会社
蓄電装置
6日前
トヨタ自動車株式会社
蓄電装置
6日前
トヨタ自動車株式会社
蓄電装置
3日前
トヨタ自動車株式会社
蓄電セル
2日前
トヨタ自動車株式会社
蓄電装置
3日前
トヨタ自動車株式会社
制御装置
6日前
トヨタ自動車株式会社
制御装置
6日前
トヨタ自動車株式会社
制御装置
6日前
トヨタ自動車株式会社
蓄電装置
6日前
トヨタ自動車株式会社
電動車両
2日前
トヨタ自動車株式会社
電池パック
2日前
続きを見る
他の特許を見る