TOP
|
特許
|
意匠
|
商標
特許ウォッチ
Twitter
他の特許を見る
10個以上の画像は省略されています。
公開番号
2025142990
公報種別
公開特許公報(A)
公開日
2025-10-01
出願番号
2024042653
出願日
2024-03-18
発明の名称
ウエーハの処理方法及びウエーハの処理装置
出願人
株式会社ディスコ
代理人
弁理士法人酒井国際特許事務所
主分類
H01L
21/304 20060101AFI20250924BHJP(基本的電気素子)
要約
【課題】従来よりも所望する形状のウエーハを好適に得ることができるウエーハの処理方法及びウエーハの処理装置を提供すること。
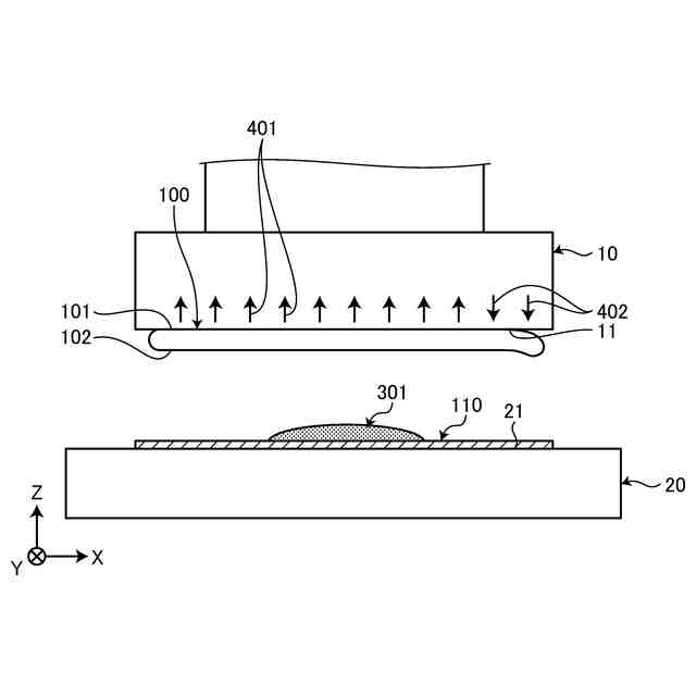
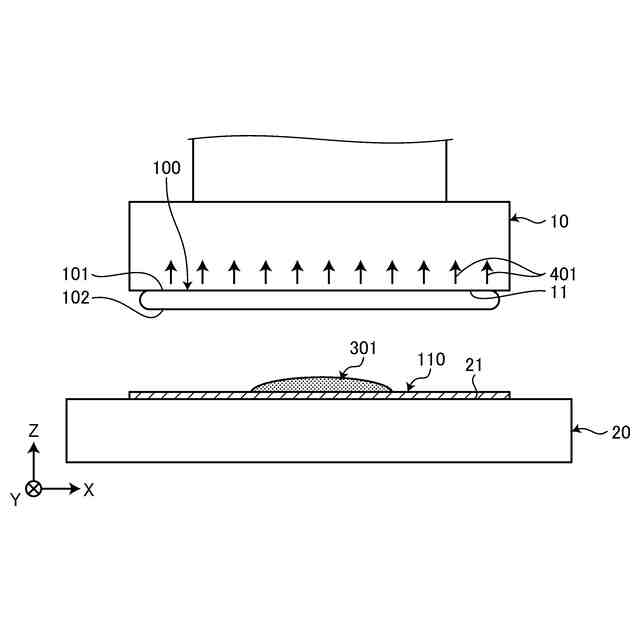
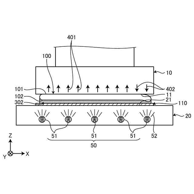
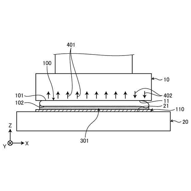
【解決手段】ウエーハの処理方法は、ウエーハの第一面を第一保持部の第一保持面で保持する保持ステップ1002と、第一保持部に保持されたウエーハの第二面および第一保持部と対面する第二保持部の第二保持面の少なくともいずれかに液状の保護部材を供給する保護部材供給ステップ1003と、第一保持面と第二保持面とを相対的に接近させ、ウエーハの第二面を保護部材で覆う被覆ステップ1005と、保護部材を硬化させる硬化ステップ1006と、を備え、硬化ステップ1006の前に、第一保持部で保持されたウエーハまたは保護部材供給ステップ1003で供給された保護部材に外力を付与し、第一保持部で保持されたウエーハまたは保護部材の形状を制御する形状制御ステップ1004を実施する。
【選択図】図5
特許請求の範囲
【請求項1】
ウエーハの処理方法であって、
ウエーハの第一面を第一保持部の第一保持面で保持する保持ステップと、
該第一保持部に保持された該ウエーハの第二面および該第一保持部と対面する第二保持部の第二保持面の少なくともいずれかに液状の保護部材を供給する保護部材供給ステップと、
該第一保持面と、該第二保持面と、を相対的に接近させ、該ウエーハの該第二面を該保護部材で覆う被覆ステップと、
該保護部材を硬化させる硬化ステップと、を備え、
該硬化ステップの前に、該第一保持部で保持されたウエーハ及び該保護部材供給ステップで供給された該保護部材の少なくともいずれかに外力を付与し、該第一保持部で保持されたウエーハ及び該保護部材の少なくともいずれかの形状を制御する形状制御ステップを実施することを特徴とするウエーハの処理方法。
続きを表示(約 750 文字)
【請求項2】
該形状制御ステップは、該第一保持面から流体を供給及び吸引の少なくともいずれかを実施する事を特徴とする請求項1に記載のウエーハの処理方法。
【請求項3】
該形状制御ステップは、該第二保持面から流体を供給及び吸引の少なくともいずれかを実施する事を特徴とする請求項1に記載のウエーハの処理方法。
【請求項4】
該形状制御ステップは、該第一保持面または該第二保持面のウエーハを保持する領域内におけるウエーハの厚み方向の位置に差を設ける事を特徴とする請求項1に記載のウエーハの処理方法。
【請求項5】
該第一保持部に保持していない状態でのウエーハの形状に関する情報を取得する取得ステップをさらに備え、
形状制御ステップは、該取得ステップで取得されたウエーハの形状に近づける方向に外力を付与する事を特徴とする請求項1から請求項4のいずれか1項に記載のウエーハの処理方法。
【請求項6】
ウエーハの処理装置であって、
ウエーハの第一面を保持する第一保持面を有する第一保持部と、
該第一保持部と対面する第二保持面を有する第二保持部と、
該第一保持部に保持された該ウエーハの第二面、または該第二保持面との少なくともいずれかに液状の保護部材を供給する供給部と、
該第一保持部と、該第二保持部と、を相対的に接近させて該ウエーハの該第二面を該保護部材で覆う移動機構と、
該保護部材を硬化させる硬化部と、
ウエーハまたは該保護部材に対してウエーハの厚み方向に沿う外力を付与し、ウエーハまたは該保護部材の該厚み方向の形状を制御する形状制御部と、
を備えるウエーハの処理装置。
発明の詳細な説明
【技術分野】
【0001】
本発明は、ウエーハの処理方法及びウエーハの処理装置に関する。
続きを表示(約 1,200 文字)
【背景技術】
【0002】
平坦なウエーハを得る方法としては、ウエーハの一方の面に液状の樹脂を被覆し硬化させることで保護部材を形成して、保護部材と反対側の面を研削し、保護部材をウエーハから剥離し、保護部材が貼られていた面を研削する方法が知られている(例えば、特許文献1参照)。
【先行技術文献】
【特許文献】
【0003】
特開2011-249652号公報
【発明の概要】
【発明が解決しようとする課題】
【0004】
しかしながら、特許文献1の方法では、ウエーハがどのような姿勢で保護部材が形成されるかによって、両面を研削後におけるウエーハのうねりや反りが変わるため、所望する形状のウエーハが得られないという問題があった。
【0005】
本発明は、かかる問題点に鑑みてなされたものであり、その目的は、従来よりも所望する形状のウエーハを好適に得ることができるウエーハの処理方法及びウエーハの処理装置を提供することである。
【課題を解決するための手段】
【0006】
上述した課題を解決し、目的を達成するために、本発明のウエーハの処理方法は、ウエーハの処理方法であって、ウエーハの第一面を第一保持部の第一保持面で保持する保持ステップと、該第一保持部に保持された該ウエーハの第二面および該第一保持部と対面する第二保持部の第二保持面の少なくともいずれかに液状の保護部材を供給する保護部材供給ステップと、該第一保持面と、該第二保持面と、を相対的に接近させ、該ウエーハの該第二面を該保護部材で覆う被覆ステップと、該保護部材を硬化させる硬化ステップと、を備え、該硬化ステップの前に、該第一保持部で保持されたウエーハ及び該保護部材供給ステップで供給された該保護部材の少なくともいずれかに外力を付与し、該第一保持部で保持されたウエーハ及び該保護部材の少なくともいずれかの形状を制御する形状制御ステップを実施することを特徴とする。
【0007】
該形状制御ステップは、該第一保持面から流体を供給及び吸引の少なくともいずれかを実施してもよい。
【0008】
該形状制御ステップは、該第二保持面から流体を供給及び吸引の少なくともいずれかを実施してもよい。
【0009】
該形状制御ステップは、該第一保持面または該第二保持面のウエーハを保持する領域内におけるウエーハの厚み方向の位置に差を設けてもよい。
【0010】
該第一保持部に保持していない状態でのウエーハの形状に関する情報を取得する取得ステップをさらに備え、形状制御ステップは、該取得ステップで取得されたウエーハの形状に近づける方向に外力を付与してもよい。
(【0011】以降は省略されています)
この特許をJ-PlatPat(特許庁公式サイト)で参照する
関連特許
株式会社ディスコ
ノズル
13日前
株式会社ディスコ
加工装置
1か月前
株式会社ディスコ
切削装置
6日前
株式会社ディスコ
加工装置
15日前
株式会社ディスコ
加工方法
14日前
株式会社ディスコ
加工装置
22日前
株式会社ディスコ
フレーム
13日前
株式会社ディスコ
切削装置
13日前
株式会社ディスコ
加工装置
13日前
株式会社ディスコ
研削装置
29日前
株式会社ディスコ
研磨装置
今日
株式会社ディスコ
加工装置
1か月前
株式会社ディスコ
加工装置
1か月前
株式会社ディスコ
診断方法
3日前
株式会社ディスコ
加工水供給装置
6日前
株式会社ディスコ
シート貼着装置
14日前
株式会社ディスコ
ノズルユニット
3日前
株式会社ディスコ
接合強度検査方法
23日前
株式会社ディスコ
液体供給システム
13日前
株式会社ディスコ
切削ブレード治具
3日前
株式会社ディスコ
チャックテーブル
23日前
株式会社ディスコ
ドレッシング方法
1か月前
株式会社ディスコ
ドレッシング方法
27日前
株式会社ディスコ
洗浄液供給システム
23日前
株式会社ディスコ
被加工物の加工方法
13日前
株式会社ディスコ
ウェーハの製造方法
21日前
株式会社ディスコ
ウエーハの加工装置
1か月前
株式会社ディスコ
被加工物の加工方法
21日前
株式会社ディスコ
ウエーハの加工方法
24日前
株式会社ディスコ
切削方法及び切削装置
21日前
株式会社ディスコ
洗浄装置及び洗浄方法
27日前
株式会社ディスコ
測定方法及び測定治具
29日前
株式会社ディスコ
洗浄装置及び洗浄方法
今日
株式会社ディスコ
搬送機構および搬送方法
今日
株式会社ディスコ
積層ウェーハの加工方法
3日前
株式会社ディスコ
押圧試験装置の評価方法
13日前
続きを見る
他の特許を見る