TOP
|
特許
|
意匠
|
商標
特許ウォッチ
Twitter
他の特許を見る
公開番号
2025144692
公報種別
公開特許公報(A)
公開日
2025-10-03
出願番号
2024044494
出願日
2024-03-21
発明の名称
被牽引車用制御装置及び被牽引車バッテリ充電率調整システム
出願人
Astemo株式会社
代理人
弁理士法人志賀国際特許事務所
主分類
B60L
58/13 20190101AFI20250926BHJP(車両一般)
要約
【課題】被牽引車に搭載されるバッテリの目的地到着時における充電率を調整可能とする。
【解決手段】牽引車20に牽引される被牽引車10に搭載される被牽引車用制御装置15であって、目的地到着時のバッテリ11の充電率が予め設定された目標充電率と一致するように、出発地から目的地までの経路情報に基づいて、走行モータ14で生成するアシスト動力と、走行モータ14からバッテリ11に供給する回生電力を調整する。
【選択図】図1
特許請求の範囲
【請求項1】
牽引車に牽引される被牽引車に搭載される被牽引車用制御装置であって、
前記被牽引車が、バッテリと、前記バッテリと接続された走行モータとを備え、
目的地到着時の前記バッテリの充電率が予め設定された目標充電率と一致するように、出発地から目的地までの経路情報に基づいて、前記走行モータで生成するアシスト動力と、前記走行モータから前記バッテリに供給する回生電力を調整する
ことを特徴とする被牽引車用制御装置。
続きを表示(約 670 文字)
【請求項2】
前記被牽引車の前記バッテリに蓄えられた電力を使用する場所が前記目的地とされる往路と、前記被牽引車が保管される場所が前記目的地とされる復路とで、前記目標充電率が異なるように設定可能であることを特徴とする請求項1記載の被牽引車用制御装置。
【請求項3】
前記復路で設定される前記目標充電率は、前記往路で設定される前記目標充電率よりも低いことを特徴とする請求項2記載の被牽引車用制御装置。
【請求項4】
前記出発地から前記目的地までの経路が複数の区間に分割され、
移動が完了した前記区間における前記回生電力の量に基づいて、移動が完了していない前記区間における前記アシスト動力及び前記回生電力の少なくともいずれかを再調整する
ことを特徴とする請求項1~3のいずれか一項に記載の被牽引車用制御装置。
【請求項5】
請求項1~3のいずれか一項に記載の被牽引車用制御装置と、
前記被牽引車用制御装置と通信可能であると共に指示を入力可能な操作端末と
を備えることを特徴とする被牽引車バッテリ充電率調整システム。
【請求項6】
前記操作端末は、
前記経路情報と現在の前記バッテリの充電率とに基づいて、目的地到着時の前記バッテリの充電率が前記目標充電率に到達可能であるかを判定し、
到達不能であると判定した場合に、到達不能であることを示す報知を行う
ことを特徴とする請求項5記載の被牽引車バッテリ充電率調整システム。
発明の詳細な説明
【技術分野】
【0001】
本発明は、被牽引車用制御装置及び被牽引車バッテリ充電率調整システムに関するものである。
続きを表示(約 1,700 文字)
【背景技術】
【0002】
例えば、特許文献1には、電源を備える被牽引車が開示されている。特許文献1に開示された被牽引車は、自走可能な牽引車に牽引される。このような特許文献1に開示された被牽引車は、車両と接続された状態で車両を補助する補助モードと、車両と切り離された状態で作動する独立モードとで動作させることができる。
【先行技術文献】
【特許文献】
【0003】
特開2013-74676号公報
【発明の概要】
【発明が解決しようとする課題】
【0004】
ところで、被牽引車がバッテリを備える場合、被牽引車のバッテリに蓄えられた電力は、外部機器で使用することができる。このため、例えば、被災により電力不足が生じている地域に被牽引車を牽引車で運び、被牽引車のバッテリの電力を被災地域で活用することが考えられる。ところが、特許文献1に開示されたような被牽引車では、目的に到達した場合のバッテリの充電率については何ら考慮されていない。被牽引車を充電可能な場所から被災地域等までに運ぶためには、長い距離の移動を要すると共に時間も要する。このため、被災地域等に到達した場合に、充電率が低下してしまっている可能性がある。また、被災地等から戻ってきた場合に、充電率が被牽引車の保管に適した値から大きく外れてしまっている可能性もある。
【0005】
本発明は、上述する問題点に鑑みてなされたもので、被牽引車に搭載されるバッテリの目的地到着時における充電率を調整可能とすることを目的とする。
【課題を解決するための手段】
【0006】
本発明は、上記課題を解決するための手段として、以下の構成を採用する。
【0007】
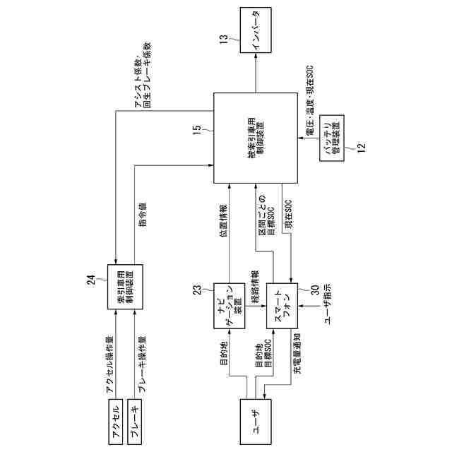
本発明の第1の態様は、牽引車に牽引される被牽引車に搭載される被牽引車用制御装置であって、上記被牽引車が、バッテリと、上記バッテリと接続された走行モータとを備え、目的地到着時の上記バッテリの充電率が予め設定された目標充電率と一致するように、出発地から目的地までの経路情報に基づいて、上記走行モータで生成するアシスト動力と、上記走行モータから上記バッテリに供給する回生電力を調整するという構成を採用する。
【0008】
本発明の第2の態様は、被牽引車バッテリ充電率調整システムであって、上記第1の態様の被牽引車用制御装置と、上記被牽引車用制御装置と通信可能であると共に指示を入力可能な操作端末とを備えるという構成を採用する。
【発明の効果】
【0009】
本発明によれば、出発地から目的地までの経路情報に基づいて、牽引車をアシストするアシスト動力と、バッテリへの回生電力とが調整される。つまり、例えば、得られる回生電力が少ない経路である場合には、アシスト力を減少させてバッテリに供給される回生電力を増加させることで、目的地到着時の充電率を目標充電率に一致させる。一方で、得られる回生電力が多い経路である場合には、アシスト力を増加させてバッテリに供給される回生電力を減少させることで、目的地到着時の充電率を目標充電率に一致させる。このように、本発明によれば、被牽引車に搭載されるバッテリの目的地到着時における充電率を調整できる。
【図面の簡単な説明】
【0010】
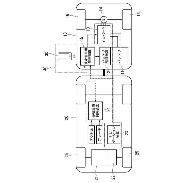
本発明の一実施形態の被牽引車用制御装置を搭載する被牽引車と、牽引車と、被牽引車用制御装置と通信可能なスマートフォンとを含む模式図である。
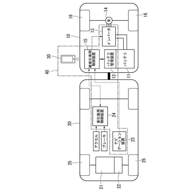
本発明の一実施形態の被牽引車用制御装置と、牽引車用制御装置とを含むブロック図である。
経路情報を模式的にしめした図である。
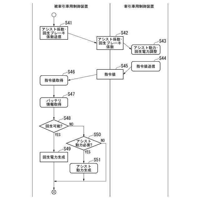
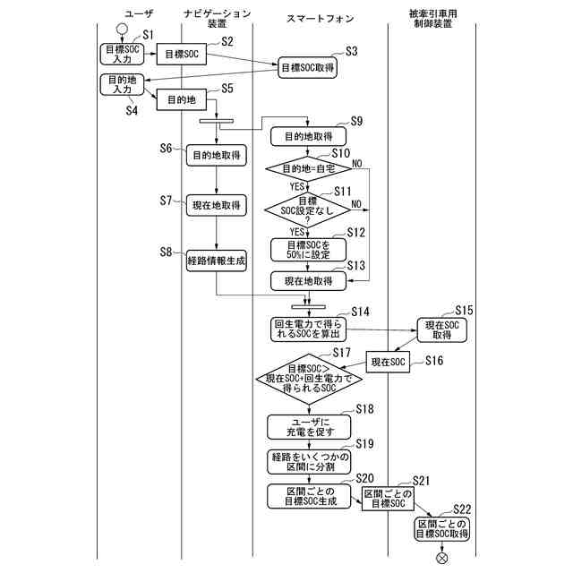
出発前におけるナビゲーション装置、スマートフォン及び被牽引車用制御装置の動作を説明するためのフローチャートである。
出発後におけるナビゲーション装置、被牽引車用制御装置の動作を説明するためのフローチャートである。
区間判定処理における被牽引車用制御装置及び牽引車用制御装置の動作を説明するためのフローチャートである。
【発明を実施するための形態】
(【0011】以降は省略されています)
この特許をJ-PlatPat(特許庁公式サイト)で参照する
関連特許
Astemo株式会社
樹脂筐体
5日前
Astemo株式会社
電池監視装置
5日前
Astemo株式会社
電圧検出装置
7日前
Astemo株式会社
電圧検出装置
3日前
Astemo株式会社
電動駆動装置
5日前
Astemo株式会社
電動モータ装置
4日前
Astemo株式会社
電池管理システム
3日前
Astemo株式会社
緩衝装置、懸架装置
5日前
Astemo株式会社
バッテリー充電装置
7日前
Astemo株式会社
回転電機のロータ構造
3日前
Astemo株式会社
インジェクタ駆動装置
3日前
Astemo株式会社
バンプストッパ、緩衝器
7日前
Astemo株式会社
放電装置及び電力変換装置
4日前
Astemo株式会社
インジェクタ故障検出装置
3日前
Astemo株式会社
インジェクタ故障検出装置
7日前
Astemo株式会社
温度検出装置及び電圧検出装置
3日前
Astemo株式会社
ナット部材、緩衝装置、加圧工具
4日前
Astemo株式会社
電池監視装置及び電池管理システム
3日前
Astemo株式会社
電池監視装置及び電池管理システム
5日前
Astemo株式会社
車両制御装置及びセンサデータ処理方法
5日前
Astemo株式会社
半導体装置
3日前
Astemo株式会社
被牽引車用制御装置及び被牽引車バッテリ充電率調整システム
3日前
Astemo株式会社
車両制御システム
6日前
Astemo株式会社
サスペンション制御装置、サスペンション制御方法、およびサスペンション制御プログラム
5日前
個人
カーテント
4か月前
個人
タイヤレバー
2か月前
個人
前輪キャスター
1か月前
個人
車窓用防虫網戸
4か月前
個人
上部一体型自動車
3日前
個人
車輪清掃装置
4か月前
個人
タイヤ脱落防止構造
1か月前
個人
ホイルのボルト締結
3か月前
個人
ルーフ付きトライク
1か月前
個人
キャンピングトライク
3か月前
井関農機株式会社
作業車両
3か月前
個人
マスタシリンダ
10日前
続きを見る
他の特許を見る