TOP
|
特許
|
意匠
|
商標
特許ウォッチ
Twitter
他の特許を見る
公開番号
2025145848
公報種別
公開特許公報(A)
公開日
2025-10-03
出願番号
2024046308
出願日
2024-03-22
発明の名称
電池管理システム
出願人
Astemo株式会社
代理人
弁理士法人志賀国際特許事務所
主分類
H01M
10/42 20060101AFI20250926BHJP(基本的電気素子)
要約
【課題】装置構成を複雑化させることを抑制しながら、電池モジュールの異変を検知可能とする。
【解決手段】電波を用いて複数の電池モジュールMの状態を管理する電池管理システム1であって、2つの電池モジュールMの間に配置されると共に、吸湿することで電波透過率が変化する電波透過壁4と、電波透過壁4を通過する電波を受信可能であると共に、電波の受信強度に基づいて電池モジュールMの異変を検知する管理ユニット3とを備える。
【選択図】図1
特許請求の範囲
【請求項1】
電波を用いて複数の電池モジュールの状態を管理する電池管理システムであって、
2つの前記電池モジュールの間に配置されると共に、吸湿することで電波透過率が変化する電波透過部材と、
前記電波透過部材を通過する前記電波を受信可能であると共に、前記電波の受信強度に基づいて前記電池モジュールの異変を検知する検知装置と
を備えることを特徴とする電池管理システム。
続きを表示(約 660 文字)
【請求項2】
各々が異なる前記電池モジュールに接続された複数の電池監視装置と、
各々の前記電池監視装置と前記電波を用いて無線通信が可能な管理ユニットと
を備え、
前記検知装置は、前記管理ユニットである
ことを特徴とする請求項1記載の電池管理システム。
【請求項3】
各々の前記電池監視装置が他の前記電池監視装置と相互に前記電波を用いて無線通信可能であり、
前記電波透過部材は、
隣接配置される2つの前記電池モジュールの隙間と、
前記管理ユニットと前記電池モジュールとの間と
に配置されている
ことを特徴とする請求項2記載の電池管理システム。
【請求項4】
前記管理ユニットは、隣接配置される2つの前記電池監視装置の間における前記電波の受信強度に基づいて、異変が発生した前記電池モジュールを特定することを特徴とする請求項3記載の電池管理システム。
【請求項5】
前記電池監視装置が、筐体を有し、
前記筐体は、前記電波透過部材である
ことを特徴とする請求項2~4のいずれか一項に記載の電池管理システム。
【請求項6】
前記電池モジュールの温度を検出する温度検出部を備え、
前記検知装置は、前記温度検出部の検出結果と、前記電波の受信強度とに基づいて、前記電池モジュールの異変を検知する
ことを特徴とする請求項1~4のいずれか一項に記載の電池管理システム。
発明の詳細な説明
【技術分野】
【0001】
本発明は、電池管理システムに関するものである。
続きを表示(約 1,600 文字)
【背景技術】
【0002】
例えば、特許文献1には、電池セルの発煙を光学的に検知して異変を検出する電池パックの異変検出装置が開示されている。特許文献1では、異変が生じた電池パックが発煙することを利用し、発煙を検知することで電池セルの異変を検知している。特許文献1の電池パックの異変検出装置は、レーザ光照射手段と、レーザ光を受光する光検出器とを備えている。
【先行技術文献】
【特許文献】
【0003】
特開2020-134346号公報
【発明の概要】
【発明が解決しようとする課題】
【0004】
特許文献1のような電池パックは、筐体の内部に、複数の電池モジュールを収容する。各々の電池モジュールは複数の電池セルを備えている。このため、電池パックには、多数の電池セルが収容されている。これらの多数の電池セルのどの電池セルにて発煙が生じるかを予測することはできない。このため、特許文献1のような電池パックにおいて、どの電池セルで発煙が生じても検知できるように、多数のレーザ光照射手段及び多数の光検出器を設置する必要がある。このため、電池パックが複雑かつ大型化することになる。
【0005】
本発明は、上述する問題点に鑑みてなされたもので、装置構成を複雑化させることを抑制しながら、電池モジュールの異変を検知可能とすることを目的とする。
【課題を解決するための手段】
【0006】
本発明は、上記課題を解決するための手段として、以下の構成を採用する。
【0007】
本発明の第1の態様は、電波を用いて複数の電池モジュールの状態を管理する電池管理システムであって、2つの上記電池モジュールの間に配置されると共に、吸湿することで電波透過率が変化する電波透過部材と、上記電波透過部材を通過する電波を受信可能であると共に、上記電波の受信強度に基づいて上記電池モジュールの異変を検知する検知装置とを備えるという構成を採用する。
【発明の効果】
【0008】
電池モジュールでは異変が生じると水蒸気を放出する。本発明によれば、このような電池モジュールが水蒸気を放出した場合には、電波透過部材の電波透過率が変化し、検知装置で検知する電波強度が変化する。このため、電波強度に基づいて、電池モジュールの異変を検知できる。さらに、電波は電池モジュールの状態を管理するために用いるものであるため、新たに電波の送信器等を設置する必要がない。したがって、本発明によれば、装置構成を複雑化させることを抑制しながら、電池モジュールの異変を検知することが可能となる。
【図面の簡単な説明】
【0009】
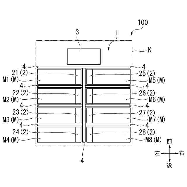
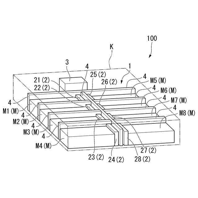
本発明の第1実施形態における電池管理システムを備える電池パックの概略構成を示す斜視図である。
本発明の第1実施形態における電池管理システムを備える電池パックの内部の概略構成を示す平面図である。
本発明の第1実施形態における電池管理システムによる電池モジュールの異変検知動作を説明するためのフローチャートである。
本発明の第2実施形態における電池管理システムによる電池モジュールの異変検知動作を説明するためのフローチャートである。
本発明の第3実施形態における電池管理システムを備える電池パックの概略構成を示す斜視図である。
本発明の第4実施形態における電池管理システムを備える電池パックの内部の概略構成を示す平面図である。
【発明を実施するための形態】
【0010】
以下、図面を参照して、本発明に係る電池管理システムの一実施形態について説明する。
(【0011】以降は省略されています)
この特許をJ-PlatPat(特許庁公式サイト)で参照する
関連特許
Astemo株式会社
樹脂筐体
5日前
Astemo株式会社
電池監視装置
5日前
Astemo株式会社
電圧検出装置
7日前
Astemo株式会社
電流検出装置
7日前
Astemo株式会社
電動駆動装置
5日前
Astemo株式会社
電圧検出装置
3日前
Astemo株式会社
電動モータ装置
4日前
Astemo株式会社
電池管理システム
3日前
Astemo株式会社
バッテリー充電装置
7日前
Astemo株式会社
緩衝装置、懸架装置
5日前
Astemo株式会社
インジェクタ駆動装置
3日前
Astemo株式会社
回転電機のロータ構造
3日前
Astemo株式会社
バンプストッパ、緩衝器
7日前
Astemo株式会社
支持ユニット、懸架装置
7日前
Astemo株式会社
インジェクタ故障検出装置
3日前
Astemo株式会社
インジェクタ故障検出装置
7日前
Astemo株式会社
放電装置及び電力変換装置
4日前
Astemo株式会社
制御装置及び鍵情報秘匿方法
7日前
Astemo株式会社
タスク処理方法および制御装置
7日前
Astemo株式会社
温度検出装置及び電圧検出装置
3日前
Astemo株式会社
ナット部材、緩衝装置、加圧工具
4日前
Astemo株式会社
電池監視装置及び電池管理システム
3日前
Astemo株式会社
電池監視装置及び電池管理システム
5日前
Astemo株式会社
車両制御装置及びセンサデータ処理方法
5日前
Astemo株式会社
自動車用電子制御装置およびメモリ管理装置
7日前
Astemo株式会社
半導体装置
3日前
Astemo株式会社
被牽引車用制御装置及び被牽引車バッテリ充電率調整システム
3日前
Astemo株式会社
車両制御システム
6日前
Astemo株式会社
改善システム、改善方法
11日前
Astemo株式会社
サスペンション制御装置、サスペンション制御方法、およびサスペンション制御プログラム
5日前
個人
安全なNAS電池
1か月前
日本発條株式会社
積層体
7日前
東レ株式会社
多孔質炭素シート
26日前
ローム株式会社
半導体装置
5日前
個人
防雪防塵カバー
7日前
キヤノン株式会社
電子機器
26日前
続きを見る
他の特許を見る