TOP
|
特許
|
意匠
|
商標
特許ウォッチ
Twitter
他の特許を見る
公開番号
2025146210
公報種別
公開特許公報(A)
公開日
2025-10-03
出願番号
2024046867
出願日
2024-03-22
発明の名称
回転電機のロータ構造
出願人
Astemo株式会社
代理人
弁理士法人桐朋
主分類
H02K
1/22 20060101AFI20250926BHJP(電力の発電,変換,配電)
要約
【課題】ロータの回転時におけるトルク変動(トルクリプル)を抑制する。
【解決手段】回転電機12のロータ本体18の外周面182は、外周面182から径方向内方に窪んだ第1溝401を備える。第1溝401は、最も径方向内方に窪んだ第1最深部441を有する。ロータ本体18は、ロータ本体18の径方向における外周面182と第1スロット221の第1外端部301との距離H1が最小となる最小部34を有する。ロータ14の周方向において磁極中心線CL側となる最小部34の端部から、磁極中心線CLに向けて1.9°の範囲内に第1溝401の第1最深部441が配置される。
【選択図】図2
特許請求の範囲
【請求項1】
ロータと、前記ロータを囲む円筒状のステータとを有する回転電機のロータ構造であって、
前記ロータは、
複数の第1スロットと、複数の第2スロットとを外周部に備えるロータ本体と、
複数の前記第1スロットに挿入される複数の第1磁石と、
複数の前記第2スロットに挿入される複数の第2磁石と、
を備え、
複数の前記第1磁石のうち、前記ロータ本体の周方向に隣接する一対の前記第1磁石と、複数の前記第2磁石のうち、前記ロータ本体の前記周方向に隣接する一対の前記第2磁石とから1つの磁極が構成され、
前記磁極は、前記ロータ本体の前記周方向に沿って複数設けられ、
一対の前記第1磁石は、一対の前記第1磁石の間を通って前記ロータ本体の回転シャフトまで延在する磁極中心線を挟んで径方向外方に向けて互いに離間するV字状に配置され、
一対の前記第2磁石は、一対の前記第1磁石より径方向内方に配置され、且つ一対の前記第2磁石の間を通る前記磁極中心線を挟んで前記径方向外方に向けて互いに離間するV字状に配置され、
複数の前記磁極の各々は、
一対の前記第1磁石が挿入される一対の前記第1スロットと、
一対の前記第2磁石が挿入される一対の前記第2スロットと、
を有し、
一対の前記第1スロットは、前記ロータ本体の前記径方向外方に設けられる一対の第1外端部をそれぞれ有し、
一対の前記第2スロットは、前記径方向外方に設けられる一対の第2外端部をそれぞれ有し、
前記ロータ本体の前記周方向において、一対の前記第2外端部の間に一対の前記第1外端部が配置され、
前記ロータ本体の外周面は、前記外周面から径方向内方に窪み、前記ロータの前記回転シャフトに沿って軸方向に延在する溝を備え、
前記ロータの軸方向から見て、前記溝は、最も径方向内方に窪んだ最深部を有し、
前記ロータ本体は、前記ロータ本体の径方向における前記外周面と前記第1スロットの前記第1外端部との距離が最小となる最小部を有し、
前記周方向において前記磁極中心線側となる前記最小部の端部から、前記磁極中心線に向けて1.9°の範囲内に前記溝の前記最深部が配置される、回転電機のロータ構造。
続きを表示(約 2,300 文字)
【請求項2】
ロータと、前記ロータを囲む円筒状のステータとを有する回転電機のロータ構造であって、
前記ロータは、
複数の第1スロットと、複数の第2スロットとを外周部に備えるロータ本体と、
複数の前記第1スロットに挿入される複数の第1磁石と、
複数の前記第2スロットに挿入される複数の第2磁石と、
を備え、
複数の前記第1磁石のうち、前記ロータ本体の周方向に隣接する一対の前記第1磁石と、複数の前記第2磁石のうち、前記ロータ本体の前記周方向に隣接する一対の前記第2磁石とから1つの磁極が構成され、
前記磁極は、前記ロータ本体の前記周方向に沿って複数設けられ、
一対の前記第1磁石は、一対の前記第1磁石の間を通って前記ロータ本体の回転シャフトまで延在する磁極中心線を挟んで径方向外方に向けて互いに離間するV字状に配置され、
一対の前記第2磁石は、一対の前記第1磁石より径方向内方に配置され、且つ一対の前記第2磁石の間を通る前記磁極中心線を挟んで前記径方向外方に向けて互いに離間するV字状に配置され、
複数の前記磁極の各々は、
一対の前記第1磁石が挿入される一対の前記第1スロットと、
一対の前記第2磁石が挿入される一対の前記第2スロットと、
を有し、
一対の前記第1スロットは、前記ロータ本体の前記径方向外方に設けられる一対の第1外端部をそれぞれ有し、
一対の前記第2スロットは、前記径方向外方に設けられる一対の第2外端部をそれぞれ有し、
前記ロータ本体の前記周方向において、一対の前記第2外端部の間に一対の前記第1外端部が配置され、
前記ロータ本体の外周面は、前記外周面から径方向内方に窪み、前記ロータの前記回転シャフトに沿って軸方向に延在する溝を備え、
前記ロータの軸方向から見て、前記溝は、最も径方向内方に窪んだ最深部を有し、
前記ロータ本体は、前記外周面と前記第2スロットの前記第2外端部との間に設けられ、且つ、前記第2磁石の径方向縁部より前記径方向外方に配置されるブリッジ部を有し、
前記ブリッジ部は、前記ロータ本体の前記周方向に沿ったブリッジ領域に設けられ、前記ブリッジ領域の範囲内に、前記溝の前記最深部が配置される、回転電機のロータ構造。
【請求項3】
ロータと、前記ロータを囲む円筒状のステータとを有する回転電機のロータ構造であって、
前記ロータは、
複数の第1スロットと、複数の第2スロットとを外周部に備えるロータ本体と、
複数の前記第1スロットに挿入される複数の第1磁石と、
複数の前記第2スロットに挿入される複数の第2磁石と、
を備え、
複数の前記第1磁石のうち、前記ロータ本体の周方向に隣接する一対の前記第1磁石と、複数の前記第2磁石のうち、前記ロータ本体の前記周方向に隣接する一対の前記第2磁石とから1つの磁極が構成され、
前記磁極は、前記ロータ本体の前記周方向に沿って複数設けられ、
一対の前記第1磁石は、一対の前記第1磁石の間を通って前記ロータ本体の回転シャフトまで延在する磁極中心線を挟んで径方向外方に向けて互いに離間するV字状に配置され、
一対の前記第2磁石は、一対の前記第1磁石より径方向内方に配置され、且つ一対の前記第2磁石の間を通る前記磁極中心線を挟んで前記径方向外方に向けて互いに離間するV字状に配置され、
複数の前記磁極の各々は、
一対の前記第1磁石が挿入される一対の前記第1スロットと、
一対の前記第2磁石が挿入される一対の前記第2スロットと、
を有し、
一対の前記第1スロットは、前記ロータ本体の前記径方向外方に設けられる一対の第1外端部をそれぞれ有し、
一対の前記第2スロットは、前記径方向外方に設けられる一対の第2外端部をそれぞれ有し、
前記ロータ本体の前記周方向において、一対の前記第2外端部の間に一対の前記第1外端部が配置され、
前記ロータ本体の外周面は、前記外周面から径方向内方に窪み、前記ロータの前記回転シャフトに沿って軸方向に延在する第1溝及び第2溝をそれぞれ備え、
前記ロータの軸方向から見て、前記第1溝は、最も径方向内方に窪んだ第1最深部を有し、前記第2溝は、最も径方向内方に窪んだ第2最深部を有し、
前記ロータ本体はさらに、
前記ロータ本体の径方向における前記外周面と前記第1スロットの前記第1外端部との距離が最小となる最小部と、
前記外周面と前記第2スロットの前記第2外端部との間に設けられ、且つ、前記第2磁石の径方向縁部より前記径方向外方に配置されるブリッジ部と、
を有し、
前記周方向において前記磁極中心線側となる前記最小部の端部から、前記磁極中心線に向けて1.9°の範囲内に前記第1溝の前記第1最深部が配置され、
前記ブリッジ部は、前記ロータ本体の前記周方向に沿ったブリッジ領域に設けられ、前記ブリッジ領域の範囲内に、前記第2溝の前記第2最深部が配置される、回転電機のロータ構造。
【請求項4】
請求項3に記載の回転電機のロータ構造において、
前記ロータ本体の前記外周面は、前記外周面から径方向内方に窪み、前記ロータの前記回転シャフトに沿って軸方向に延在する第3溝を備え、
前記第3溝は、前記ロータ本体の前記周方向において前記第1溝と前記第2溝との間に設けられる、回転電機のロータ構造。
発明の詳細な説明
【技術分野】
【0001】
本発明は、回転電機のロータ構造に関する。
続きを表示(約 1,600 文字)
【背景技術】
【0002】
特許文献1は、回転電機のロータ構造を開示している。回転電機のロータは、ロータコアと、ロータコアに設けられる複数の磁極とを備える。複数の磁極の各々は、径方向外方に向けて拡がるV字状の第1フラックスバリアに設けられる一対の第1磁石と、第1フラックスバリアより径方向内方に配置される第2フラックスバリアに設けられる一対の第2磁石とを備える。ロータコアの外周面には、ロータコアの周方向において第1フラックスバリアの外縁部と第2フラックスバリアの外縁部との間に外周溝が形成される。外周溝によって、ロータの回転時におけるトルク変動を低減している。
【先行技術文献】
【特許文献】
【0003】
国際公開第2019/215853号
【発明の概要】
【発明が解決しようとする課題】
【0004】
特許文献1のようなロータ構造を備える回転電機において、ロータの回転時におけるトルク変動(トルクリプル)のさらなる抑制が望まれている。
【0005】
本発明は、上述した課題を解決することを目的とする。
【課題を解決するための手段】
【0006】
本発明の態様は、回転電機のロータ構造が、ロータ本体と、ロータ本体の周方向に沿って複数設けられる複数の磁極とを有する。ロータ本体の外周面は、外周面から径方向内方に窪み、ロータの回転シャフトに沿って軸方向に延在する溝を備える。溝は、外周面から最も径方向内方に窪んだ最深部を有し、ロータ本体は、ロータ本体の径方向における外周面と第1スロットの第1外端部との距離が最小となる最小部を有する。ロータ本体の周方向において磁極中心線側となる最小部の端部から、磁極中心線に向けて1.9°の範囲内に溝の最深部が配置される。
【発明の効果】
【0007】
本発明によれば、ロータ本体の外周面において、第1スロットの第1外端部に近いことで磁束が集中する最小部から磁極中心線側となる位置に溝の最深部を設けることで、ロータ本体の外周面とステータとの間のエアギャップを効果的に拡大し、最小部から溝までの間における磁束密度を効果的に低減させることができる。溝の最深部によって、最深部と第1スロットとの間における磁気抵抗を高め、第1磁石からエアギャップを介してステータに向かう磁束密度を高めることができる。その結果、溝を設けることで磁束密度の分布を正弦波に近づけることができ、それに伴って、ロータの回転時におけるトルク変動を効果的に抑制できる。
【図面の簡単な説明】
【0008】
図1は、本発明の実施形態に係る回転電機の構造図である。
図2は、図1に示す回転電機のロータの拡大構造図である。
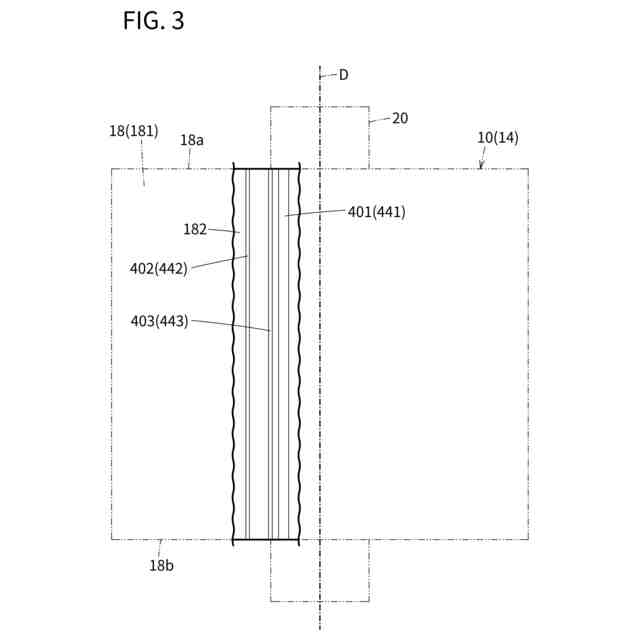
図3は、ロータの側面図である。
図4は、磁極近傍における磁束の流れを示す説明図である。
図5は、ロータ本体における基準線からの角度と磁束密度との関係を示す特性曲線図である。
図6は、第1溝の第1角度とトルクリプル率との関係を示す特性曲線図である。
【発明を実施するための形態】
【0009】
図1に示されるように、本実施形態に係るロータ構造10は、回転電機12を構成する。回転電機12は、例えば、図示しない車両に搭載されて車両の駆動輪に駆動力を与える電動機である。回転電機12は、電動機兼発電機であってもよい。回転電機12は、発電機であってもよい。なお、回転電機12は、車両に搭載される場合に限定されない。
【0010】
回転電機12は、3相交流ブラシレス式モータである。回転電機12は、ロータ14と、ロータ14を囲む円筒状のステータ16とを有する。
(【0011】以降は省略されています)
この特許をJ-PlatPat(特許庁公式サイト)で参照する
関連特許
Astemo株式会社
樹脂筐体
4日前
Astemo株式会社
電池監視装置
4日前
Astemo株式会社
電圧検出装置
6日前
Astemo株式会社
電圧検出装置
2日前
Astemo株式会社
電動駆動装置
4日前
Astemo株式会社
電動モータ装置
3日前
Astemo株式会社
電池管理システム
2日前
Astemo株式会社
緩衝装置、懸架装置
4日前
Astemo株式会社
バッテリー充電装置
6日前
Astemo株式会社
回転電機のロータ構造
2日前
Astemo株式会社
インジェクタ駆動装置
2日前
Astemo株式会社
バンプストッパ、緩衝器
6日前
Astemo株式会社
放電装置及び電力変換装置
3日前
Astemo株式会社
インジェクタ故障検出装置
2日前
Astemo株式会社
インジェクタ故障検出装置
6日前
Astemo株式会社
温度検出装置及び電圧検出装置
2日前
Astemo株式会社
ナット部材、緩衝装置、加圧工具
3日前
Astemo株式会社
電池監視装置及び電池管理システム
2日前
Astemo株式会社
電池監視装置及び電池管理システム
4日前
Astemo株式会社
車両制御装置及びセンサデータ処理方法
4日前
Astemo株式会社
半導体装置
2日前
Astemo株式会社
被牽引車用制御装置及び被牽引車バッテリ充電率調整システム
2日前
Astemo株式会社
車両制御システム
5日前
Astemo株式会社
サスペンション制御装置、サスペンション制御方法、およびサスペンション制御プログラム
4日前
個人
電源装置
17日前
個人
バッテリ内蔵直流電源
16日前
株式会社FUJI
制御盤
6日前
オムロン株式会社
電源回路
10日前
オムロン株式会社
電源回路
10日前
オムロン株式会社
電源回路
10日前
日産自動車株式会社
電子機器
27日前
トヨタ自動車株式会社
回転子
17日前
ニデック株式会社
モータの制御方法
24日前
トヨタ自動車株式会社
回転子
2日前
大豊工業株式会社
モータ
16日前
ミサワホーム株式会社
居住設備
6日前
続きを見る
他の特許を見る