TOP
|
特許
|
意匠
|
商標
特許ウォッチ
Twitter
他の特許を見る
10個以上の画像は省略されています。
公開番号
2025144218
公報種別
公開特許公報(A)
公開日
2025-10-02
出願番号
2024043889
出願日
2024-03-19
発明の名称
画像検査装置
出願人
株式会社キーエンス
代理人
弁理士法人 佐野特許事務所
主分類
G06T
7/00 20170101AFI20250925BHJP(計算;計数)
要約
【課題】ROIを設定することなく対象物を撮像画像から検出する。
【解決手段】画像検査装置は、撮像ユニットと、撮像ユニットとは別体である制御ユニットと、を備える。制御ユニットは、検査設定部及び検査実行部を備える。検査設定部は、学習画像から第一特徴マップを抽出し、第一特徴マップに含まれ且つ学習画像に対するウィンドウの角度が反映され且つウィンドウによって特定される位置に対応する第一特徴量を抽出する。検査実行部は、撮像画像から第三特徴マップを抽出し、第三特徴マップに含まれ且つ第一特徴量に類似する第三特徴量に対応する位置を特定し、特定した位置に基づいて候補領域を決定し、候補領域を示す画像を撮像画像に重畳したものを出力する。
【選択図】図3
特許請求の範囲
【請求項1】
撮像ユニットと、
前記撮像ユニットとは別体である制御ユニットと、
を備え、
前記撮像ユニットは、撮像視野を撮像して撮像画像を生成する撮像部を含み、
前記制御ユニットは、
機械学習モデルにより前記撮像画像から対象物を検出して検出結果を出力する検査実行部と、
前記検査実行部の設定を行う検査設定部と、を含み、
前記機械学習モデルは、入力された画像から特徴量を抽出する第一特徴抽出部と、を含み、
前記検査設定部は、
学習画像に対するウィンドウ設定を受け付け、
前記第一特徴抽出部を実行して前記学習画像から第一特徴マップを抽出し、前記第一特徴マップに含まれ且つ前記学習画像に対する前記ウィンドウの角度が反映され且つ前記ウィンドウによって特定される位置に対応する第一特徴量を抽出し、
前記検査実行部は、
前記第一特徴抽出部を実行して前記撮像画像から第三特徴マップを抽出し、前記第三特徴マップに含まれ且つ前記第一特徴量に類似する第三特徴量に対応する位置を特定し、特定した位置と前記ウィンドウ設定とに基づいて候補領域を決定し、
前記候補領域を示す画像を前記撮像画像に重畳したものを出力する、画像検査装置。
続きを表示(約 1,600 文字)
【請求項2】
前記検査設定部は、前記第一特徴抽出部と異なる第二特徴抽出部を実行して前記学習画像から第二特徴マップを抽出し、前記第二特徴マップに含まれ且つ前記ウィンドウによって特定される位置に対応する第二特徴量を抽出し、
前記検査実行部は、
前記第二特徴抽出部を実行して前記撮像画像から第四特徴マップを抽出し、前記第四特徴マップに含まれ且つ前記特定した位置に対応する第四特徴量が前記第二特徴量と同一のクラスに属するか否かを分類し、
前記第四特徴量が前記第二特徴量と同一のクラスに属すると分類された場合に、前記候補領域を前記対象物の検出領域とする前記検出結果を出力する、請求項1に記載の画像検査装置。
【請求項3】
前記検査設定部は、前記第一特徴抽出部を実行して前記学習画像と前記学習画像を回転させた回転画像それぞれから前記第一特徴マップを抽出し、前記第一特徴量を抽出し、
前記第一特徴量は、前記第一特徴マップに含まれ且つ前記学習画像に対する前記ウィンドウの角度が反映され且つ前記ウィンドウによって特定される位置に対応し、又は、前記第一特徴マップに含まれ且つ前記回転画像に対する前記ウィンドウの角度が反映され且つ前記ウィンドウによって特定される位置に対応し、
前記検査実行部は、前記回転画像から抽出された前記第一特徴量に前記第三特徴量が類似する場合、前記特定した位置と前記ウィンドウ設定と前記回転画像の回転角度に関する情報とに基づいて前記候補領域を決定する、請求項1に記載の画像検査装置。
【請求項4】
前記検査設定部は、
回転設定を受け付け、
前記回転設定がONであれば、前記第一特徴抽出部を実行して前記学習画像と前記回転画像それぞれから前記第一特徴マップを抽出し、
前記回転設定がOFFであれば、前記第一特徴抽出部を実行して前記学習画像から前記第一特徴マップを抽出する、請求項3に記載の画像検査装置。
【請求項5】
前記検査設定部は、
前記第一特徴マップに含まれ且つ前記ウィンドウ以外の背景位置に対応する背景特徴量を抽出し、
前記検査実行部は、
前記第三特徴量が前記第一特徴量と同一のクラスに属するか前記背景特徴量と同一のクラスに属するかを分類する、請求項1に記載の画像検査装置。
【請求項6】
前記学習画像は第一学習画像であり、
前記ウィンドウは第一ウィンドウであり、
前記検査設定部は、
前記第一学習画像とは異なる第二学習画像に対する第二ウィンドウ設定を受け付け、
前記候補領域を示す画像を前記撮像画像に重畳したものが出力されている状態で、前記撮像画像を前記第二学習画像として設定でき、前記候補領域を前記第二ウィンドウとして設定でき、
前記特徴抽出部を実行して前記第二学習画像から第五特徴マップを抽出し、前記第五特徴マップに含まれ且つ前記第二ウィンドウによって特定される位置に対応する第五特徴量を抽出し、
前記検査実行部は、前記第三特徴量が前記第一特徴量と同一のクラスに属するか前記第五特徴量と同一のクラスに属するかを分類する、請求項1に記載の画像検査装置。
【請求項7】
前記検査実行部は、前記候補領域が無かった場合に前記候補領域が無かったことを示す画像を前記撮像画像に重畳したものを出力する、請求項1に記載の画像検査装置。
【請求項8】
前記撮像ユニットは、前記撮像ユニットと撮像対象との距離が所定以下の場合に、前記撮像ユニットのピントを前記撮像対象に合わせることが可能な拡大レンズアタッチメントを装着することができる、請求項1に記載の画像検査装置。
発明の詳細な説明
【技術分野】
【0001】
本発明は、画像検査装置に関する。
続きを表示(約 1,500 文字)
【背景技術】
【0002】
従来、対象物の良否判定の条件を設定するツールである「学習ツール」を備える画像検査装置が知られている(例えば特許文献1を参照)。
【先行技術文献】
【特許文献】
【0003】
特開2022-164146号公報
【発明の概要】
【発明が解決しようとする課題】
【0004】
「学習ツール」の検査対象領域(ROI:Region of Interest)の位置及び角度が撮像視野に対して固定されている場合、検査対象画像に映っている対象物がROIから外れていると、対象物の良否判定が行えない。
【0005】
上記の問題点を解決するために、例えば画像検査装置は、特許文献1に開示される「位置補正ツール」を備える。「位置補正ツール」により、撮像視野内に基準位置及び基準角度が設定され、基準位置及び基準角度に応じてROIの位置及び角度が撮像視野に対して調整される。
【0006】
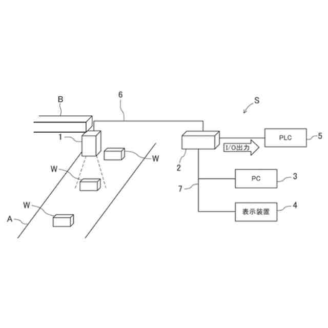
しかしながら、「位置補正ツール」の基準位置及び基準角度を設定するために適した視覚的特徴が検査対象画像に含まれていなければ、「位置補正ツール」による適切な調整が困難である。特に、撮像ユニットと制御ユニットとが別体である分離型画像検査装置は、撮像ユニットと制御ユニットとが一体である一体型画像検査装置と比較して、撮像ユニットを含む筐体の小型化が容易であるため、撮像ユニットと対象物とが近接するような位置に設置されやすい。撮像ユニットと対象物とが近接すると、「位置補正ツール」の基準位置及び基準角度を設定するために適した視覚的特徴が検査対象画像に含まれない可能性が高くなる。
【0007】
本発明は、上記の課題に鑑み、ROIを設定することなく対象物を撮像画像から検出することができる画像検査装置を提供することを目的とする。
【課題を解決するための手段】
【0008】
本発明に係る画像検査装置は、撮像ユニットと、前記撮像ユニットとは別体である制御ユニットと、を備える。前記撮像ユニットは、撮像視野を撮像して撮像画像を生成する撮像部を含む。前記制御ユニットは、機械学習モデルにより前記撮像画像から対象物を検出して検出結果を出力する検査実行部と、前記検査実行部の設定を行う検査設定部と、を含む。前記機械学習モデルは、入力された画像から特徴量を抽出する第一特徴抽出部と、を含む。前記検査設定部は、学習画像に対するウィンドウ設定を受け付け、前記第一特徴抽出部を実行して前記学習画像から第一特徴マップを抽出し、前記第一特徴マップに含まれ且つ前記学習画像に対する前記ウィンドウの角度が反映され且つ前記ウィンドウによって特定される位置に対応する第一特徴量を抽出する。前記検査実行部は、前記第一特徴抽出部を実行して前記撮像画像から第三特徴マップを抽出し、前記第三特徴マップに含まれ且つ前記第一特徴量に類似する第三特徴量に対応する位置を特定し、特定した位置と前記ウィンドウ設定とに基づいて候補領域を決定し、前記候補領域を示す画像を前記撮像画像に重畳したものを出力する。
【0009】
なお、その他の特徴、要素、ステップ、利点、及び、特性については、以下に続く発明を実施するための形態及びこれに関する添付の図面によって、さらに明らかとなる。
【発明の効果】
【0010】
本発明に係る画像検査装置であれば、ROIを設定することなく対象物を撮像画像から検出することができる。
【図面の簡単な説明】
(【0011】以降は省略されています)
この特許をJ-PlatPat(特許庁公式サイト)で参照する
関連特許
株式会社キーエンス
画像検査装置
1日前
株式会社キーエンス
分析装置
7日前
個人
工程設計支援装置
1か月前
個人
フラワーコートA
2か月前
個人
地球保全システム
9日前
個人
為替ポイント伊達夢貯
1か月前
個人
冷凍食品輸出支援構造
1か月前
個人
残土処理システム
2日前
個人
表変換編集支援システム
29日前
個人
携帯情報端末装置
1か月前
個人
知的財産出願支援システム
3日前
個人
結婚相手紹介支援システム
1か月前
個人
知財出願支援AIシステム
1か月前
個人
行動時間管理システム
1か月前
個人
パスワード管理支援システム
29日前
個人
AIによる情報の売買の仲介
1か月前
株式会社アジラ
進入判定装置
1か月前
株式会社キーエンス
受発注システム
8日前
株式会社キーエンス
受発注システム
8日前
株式会社キーエンス
受発注システム
8日前
個人
パスポートレス入出国システム
1か月前
個人
海外支援型農作物活用システム
21日前
個人
食品レシピ生成システム
8日前
個人
システム及びプログラム
22日前
個人
AIキャラクター制御システム
29日前
個人
アンケート支援システム
2か月前
日本精機株式会社
施工管理システム
1か月前
個人
人格進化型対話応答制御システム
29日前
大阪瓦斯株式会社
住宅設備機器
1か月前
個人
未来型家系図構築システム
21日前
個人
冷凍加工連携型農場運用システム
1か月前
キヤノン株式会社
表示システム
8日前
個人
SaaS型勤務調整支援システム
29日前
大同特殊鋼株式会社
疵判定方法
15日前
個人
社会還元・施設向け供給支援構造
29日前
個人
帳票自動生成型SaaSシステム
3日前
続きを見る
他の特許を見る