TOP
|
特許
|
意匠
|
商標
特許ウォッチ
Twitter
他の特許を見る
公開番号
2025137766
公報種別
公開特許公報(A)
公開日
2025-09-19
出願番号
2025124204,2021042971
出願日
2025-07-24,2021-03-16
発明の名称
画像形成装置
出願人
東芝テック株式会社
代理人
弁理士法人鈴榮特許綜合事務所
主分類
G03G
21/00 20060101AFI20250911BHJP(写真;映画;光波以外の波を使用する類似技術;電子写真;ホログラフイ)
要約
【課題】確実かつ人に操作負担をかけないよう、殺菌灯を制御すること。
【解決手段】画像形成装置に、画像形成ユニットと;通信インタフェースと;通常モードでは画像形成ユニットへ電力を供給し、節電モードでは画像形成ユニットへの電力供給を通常モードよりも少なく制限し、通常モードである場合に殺菌灯装置に殺菌光を発生させないよう通信インタフェースを介して殺菌灯装置と通信し、節電モードである場合に殺菌灯装置に殺菌光を発生させるよう通信インタフェースを介して殺菌灯装置と通信する制御部と;を備える。
【選択図】図8
特許請求の範囲
【請求項1】
画像形成ユニットと;
通信インタフェースと;
通常モードでは前記画像形成ユニットへ電力を供給し、
節電モードでは前記画像形成ユニットへの電力供給を前記通常モードよりも少なく制限し、
前記通常モードである場合に殺菌灯装置に殺菌光を発生させないよう前記通信インタフェースを介して前記殺菌灯装置と通信し、
前記節電モードである場合に前記殺菌灯装置に殺菌光を発生させるよう前記通信インタフェースを介して前記殺菌灯装置と通信する
制御部と;を備える画像形成装置。
続きを表示(約 910 文字)
【請求項2】
人の存在を検知する人感センサを更に有し;前記制御部は、
前記人感センサが人の存在を検知したら前記通常モードから前記節電モードへ移行する前に、前記殺菌灯装置に殺菌光を発生させないよう前記通信インタフェースを介して前記殺菌灯装置と通信する、請求項1の画像形成装置。
【請求項3】
ユーザーの操作入力を受け付けるコントロールパネルを更に有し;前記制御部は、
前記コントロールパネルでユーザーの操作入力を受け付たら前記通常モードから前記節電モードへ移行する前に、前記殺菌灯装置に殺菌光を発生させないよう前記通信インタフェースを介して前記殺菌灯装置と通信する、請求項1の画像形成装置。
【請求項4】
前記制御部は、
前記節電モードになってから前記殺菌灯装置に殺菌光を発生させるまでの時間を、前記コントロールパネルを介して入力されることを受け付ける、請求項3の画像形成装置。
【請求項5】
前記制御部は、
前記通信インタフェースを介して前記殺菌灯装置から、当該殺菌灯装置の人感センサが人を検知したか否かを示す信号を受け、
当該殺菌灯装置の人感センサが人を検知したことを前記信号から検知したら前記通常モードから前記節電モードへ移行する、請求項1の画像形成装置。
【請求項6】
ディスプレイをさらに備え;
前記制御部は、
前記通信インタフェースを介して前記殺菌灯装置から、当該殺菌灯装置が殺菌光を発生させているか否かを示す信号を受け、
前記殺菌灯装置が殺菌光を発生させているか否かを前記ディスプレイに表示させる、請求項1の画像形成装置。
【請求項7】
前記制御部は、
通常モードで前記通信インタフェースを介してプリントジョブを受信したとき、
前記殺菌灯装置に殺菌光を発生させるまでの時間を、
前記プリントジョブに含まれる頁数が少ないときには長く、
前記プリントジョブに含まれる頁数が多いときには短く、する請求項1の画像形成装置。
発明の詳細な説明
【技術分野】
【0001】
本発明の実施形態は、画像形成装置および殺菌灯装置に関する。
続きを表示(約 1,500 文字)
【背景技術】
【0002】
食堂の厨房やホテルの客室などに手軽に移動して配置することができる便利なスタンド式の殺菌灯が特許文献1に記されている。特許文献1の殺菌灯は、人体への影響が危惧される殺菌光の照射範囲内への人の立ち入りを人体検知センサで検知すると、消灯する。
【先行技術文献】
【特許文献】
【0003】
実登3012680公報
【発明の概要】
【発明が解決しようとする課題】
【0004】
人が触る機器を殺菌するために殺菌灯を利用することが検討されている。安全性の観点から、人が殺菌光の照射範囲に居ないときに殺菌光を照射し、人が機器を触るときに殺菌光を照射しないよう、確実かつ人に操作負担をかけないよう、殺菌灯を制御することが求められている。本発明が解決しようとする課題は、確実かつ人に操作負担をかけないよう、殺菌灯を制御することである。
【課題を解決するための手段】
【0005】
一実施形態に係る画像形成装置は、画像形成ユニットと;通信インタフェースと;通常モードでは画像形成ユニットへ電力を供給し、節電モードでは画像形成ユニットへの電力供給を通常モードよりも少なく制限し、通常モードである場合に殺菌灯装置に殺菌光を発生させないよう通信インタフェースを介して殺菌灯装置と通信し、節電モードである場合に殺菌灯装置に殺菌光を発生させるよう通信インタフェースを介して殺菌灯装置と通信する制御部と;を備える。
【図面の簡単な説明】
【0006】
一実施形態に係る画像形成装置の外観をフロント左上方から見た斜視図。
一実施形態に係る画像形成装置をフロント側から見た構成図。
一実施形態に係る画像形成装置のブロック図。
一実施形態に係る画像形成装置の電力供給のモード制御に関するフローチャ ート。
一実施形態に係る殺菌灯装置の姿を示す図。
一実施形態に係る殺菌灯装置のブロック図。
一実施形態に係る画像形成装置と殺菌灯装置の接続例を示す斜視図。
一実施形態に係る画像形成装置と殺菌灯装置の接続例を示す斜視図。
【発明を実施するための形態】
【0007】
以下、確実かつ人に操作負担をかけないよう、殺菌灯を制御する一実施形態について図面を参照して説明する。図1は、一実施形態に係る画像形成装置1の外観をフロント左上方から見た斜視図である。図1左下方に、画像形成装置1の左側から右側へ向かう矢印x、フロア側から上へ向かう矢印y、フロント側からリヤ側へ向かう矢印zを記している。
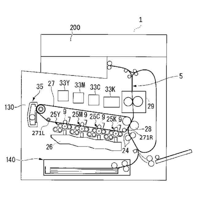
【0008】
画像形成装置1は、ディスプレイ110、コントロールパネル120、画像形成ユニット130、画像読取部200、人感センサ150、システムコントローラ300を備える。
【0009】
画像形成装置1にはトナーカートリッジが装着される。トナーカートリッジには、後から消色することができる消色トナーが充填されていてもよいし、後から消色することができないトナーが充填されていてもよい。画像形成装置1は、トナーを用いてシート上に画像を形成する。
【0010】
ディスプレイ110は、液晶ディスプレイ、有機EL(Electro Luminescence)ディスプレイ等の画像表示装置である。ディスプレイ110は、画像形成装置1に関する種々の情報を表示する。
(【0011】以降は省略されています)
この特許をJ-PlatPat(特許庁公式サイト)で参照する
関連特許
東芝テック株式会社
プリンタ
2日前
東芝テック株式会社
商品登録装置
10日前
東芝テック株式会社
プリンタ装置
2日前
東芝テック株式会社
プリンタ装置
2日前
東芝テック株式会社
画像形成装置
4日前
東芝テック株式会社
情報処理システム
16日前
東芝テック株式会社
情報処理システム
16日前
東芝テック株式会社
接客支援システム
16日前
東芝テック株式会社
情報処理システム
16日前
東芝テック株式会社
情報処理装置及びシステム
3日前
東芝テック株式会社
情報処理装置及びプログラム
16日前
東芝テック株式会社
情報処理装置及びプログラム
16日前
東芝テック株式会社
情報処理装置及びプログラム
2日前
東芝テック株式会社
情報処理装置及びプログラム
16日前
東芝テック株式会社
情報端末及びそのプログラム
16日前
東芝テック株式会社
信号入出力装置および障害通知方法
6日前
東芝テック株式会社
質問応答装置、方法及びプログラム
6日前
東芝テック株式会社
POS端末、切替方法及びプログラム
16日前
東芝テック株式会社
商品データ処理装置、及びプログラム
16日前
東芝テック株式会社
取引処理装置及び情報処理プログラム
10日前
東芝テック株式会社
買物支援システム及び買物支援サーバ
10日前
東芝テック株式会社
商品データ処理装置、及びプログラム
16日前
東芝テック株式会社
読取装置、プログラムおよびシステム
6日前
東芝テック株式会社
商品登録装置、及び情報処理プログラム
2日前
東芝テック株式会社
データベース更新装置及びそのプログラム
16日前
東芝テック株式会社
商品販売データ処理装置及びそのプログラム
3日前
東芝テック株式会社
商品受渡システム、店員端末およびプログラム
10日前
東芝テック株式会社
商品販売支援システム、店員端末およびプログラム
10日前
東芝テック株式会社
情報処理装置、情報処理システムおよびプログラム
16日前
東芝テック株式会社
情報処理サーバ、情報処理システム、及びプログラム
16日前
東芝テック株式会社
情報処理装置、情報処理プログラム及び情報処理システム
2日前
東芝テック株式会社
販売支援システム、販売支援装置および販売支援プログラム
16日前
東芝テック株式会社
物品認識システム、情報処理プログラム及び取引処理システム
16日前
東芝テック株式会社
画像形成装置
16日前
東芝テック株式会社
販売データ処理システム、販売データ処理装置およびプログラム
10日前
東芝テック株式会社
プリンタおよびプログラム
2日前
続きを見る
他の特許を見る