TOP
|
特許
|
意匠
|
商標
特許ウォッチ
Twitter
他の特許を見る
10個以上の画像は省略されています。
公開番号
2025144364
公報種別
公開特許公報(A)
公開日
2025-10-02
出願番号
2024044106
出願日
2024-03-19
発明の名称
画像処理装置及び方法
出願人
キヤノン株式会社
代理人
個人
,
個人
,
個人
,
個人
,
個人
主分類
G06Q
50/10 20120101AFI20250925BHJP(計算;計数)
要約
【課題】 従来技術では、画像処理装置の利用用途に基づき、利用者の同意状況を考慮した機器情報の送信に関する柔軟な制御が実現できない。
【解決手段】 そこで、本発明に係る画像処理装置は、第1サービスの利用のために、画像処理装置の利用者の個人情報を除く、画像処理装置の利用に係る第1情報の送信に関する同意についての入力を受け付けた場合に、管理サーバに対して画像処理装置の識別情報を含む要求を送信する要求手段と、前記管理サーバからの通知に基づき、前記第1サービスのために、さらに、前記個人情報を含む、前記画像処理装置の利用に係る第2情報の送信に関する同意を得るための画面を提供する提供手段と、を有することを特徴とする。
【選択図】 図4
特許請求の範囲
【請求項1】
第1サービスの利用のために、画像処理装置の利用者の個人情報を除く、画像処理装置の利用に係る第1情報の送信に関する同意についての入力を受け付けた場合に、管理サーバに対して画像処理装置の識別情報を含む要求を送信する要求手段と、
前記管理サーバからの通知に基づき、前記第1サービスのために、さらに、前記個人情報を含む、前記画像処理装置の利用に係る第2情報の送信に関する同意を得るための画面を提供する提供手段と、を有することを特徴とする画像処理装置。
続きを表示(約 790 文字)
【請求項2】
前記提供された画面を介した同意についての入力なしに、前記第2情報はネットワークを介して前記画像処理装置から外部に送信されず、
前記提供された画面を介して同意についての入力を受け付けた場合に、前記第2情報を前記画像処理装置からネットワークを介して外部に送信する送信手段を、さらに有することを特徴とする請求項1に記載の画像処理装置。
【請求項3】
前記提供された画面を介して同意についての入力を受け付けた場合に、前記第2情報を送信するための送信設定を有効化する手段を、さらに有することを特徴とする請求項1に記載の画像処理装置。
【請求項4】
前記提供手段は、前記管理サーバから、前記個人情報を含む、前記画像処理装置の利用に係る前記第2情報の送信が必要な第2サービスの追加されたことを示す通知を受信し、かつ、前記第2情報の送信に関する同意をまだ得られていない場合に、前記第2情報の送信に関する同意を得るための画面を提供することを特徴とする請求項1に記載の画像処理装置。
【請求項5】
前記第1情報及び前記第2情報は、記録材に関する情報が含まれることを特徴とする請求項1に記載の画像処理装置。
【請求項6】
画像処理装置における方法であって、
第1サービスの利用のために、画像処理装置の利用者の個人情報を除く、画像処理装置の利用に係る第1情報の送信に関する同意についての入力を受け付けた場合に、管理サーバに対して画像処理装置の識別情報を含む要求を送信する要求工程と、
前記管理サーバからの通知に基づき、前記第1サービスのために、さらに、前記個人情報を含む、前記画像処理装置の利用に係る第2情報の送信に関する同意を得るための画面を提供する提供工程と、を有することを特徴とする方法。
発明の詳細な説明
【技術分野】
【0001】
本発明は、画像処理装置の利用情報を、ネットワークを介して外部システムに送信する際の技術に関する。
続きを表示(約 1,500 文字)
【背景技術】
【0002】
画像処理装置をインターネットに接続して、画像処理装置の利用情報をベンダー側に送信することで利用可能なサービスが広く提供されている。近年では、企業が在宅勤務者の印刷情報を管理するような企業向けのサービスと、各種クラウドサービスと連携し、SNSや写真共有サイトから写真や文書を印刷することが可能な個人向けのクラウドサービスの両方が利用可能な画像処理装置が提供されている。このようなサービスの利用にあたっては、画像処理装置がインターネットを介して機器の利用情報をベンダー側に提供することに同意する必要がある。
【0003】
特許文献1には、サービスの利用申込み毎に、個人情報の開示についての同意手続を省ける情報処理装置が開示されている。
【先行技術文献】
【特許文献】
【0004】
特開2022-191846号公報
【発明の概要】
【発明が解決しようとする課題】
【0005】
しかしながら、特許文献1の技術では、画像処理装置の利用用途に基づき、利用者の同意状況を考慮した機器情報の送信に関する柔軟な制御が実現できない。
【課題を解決するための手段】
【0006】
そこで、本発明に係る画像処理装置は、第1サービスの利用のために、画像処理装置の利用者の個人情報を除く、画像処理装置の利用に係る第1情報の送信に関する同意についての入力を受け付けた場合に、管理サーバに対して画像処理装置の識別情報を含む要求を送信する要求手段と、前記管理サーバからの通知に基づき、前記第1サービスのために、さらに、前記個人情報を含む、前記画像処理装置の利用に係る第2情報の送信に関する同意を得るための画面を提供する提供手段と、を有することを特徴とする。
【発明の効果】
【0007】
本発明によれば、画像処理装置の利用用途に基づき、利用者の同意状況を考慮した機器情報の送信に関する柔軟な制御が実現できる。
【図面の簡単な説明】
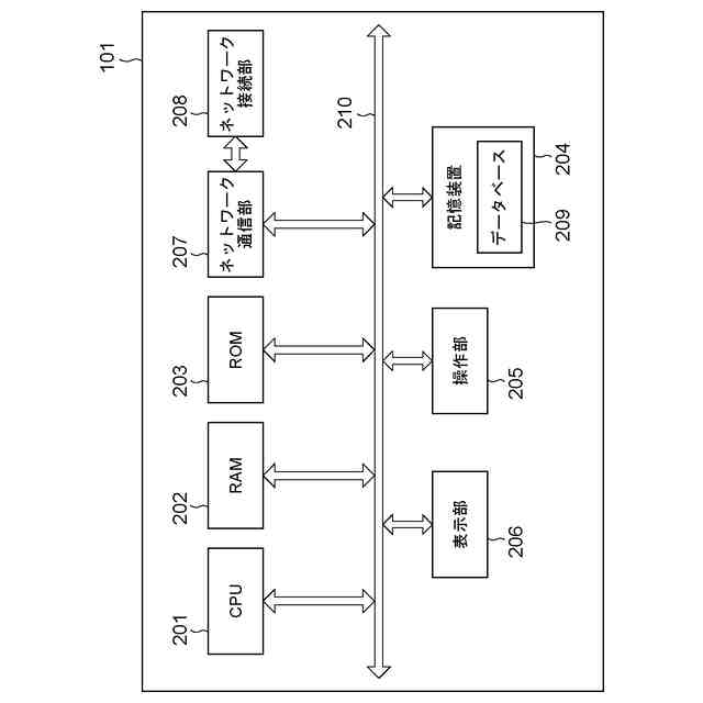
【0008】
システム構成を示す図である。
サーバ装置のハードウェア構成を示すブロック図である。
プリンタのハードウェア構成を示すブロック図である。
個人向けWebサービス同意画面表示要を記憶するまでのシーケンス図である。
個人向けWebサービス同意画面表示までのフローチャートである。
プリンタ管理サーバのデータベースに記憶されるテーブルである。
Webサービス同意画面の例を示す図である。
個人向けWebサービスを追加登録したときのシーケンス図である。
プリンタ管理サーバのデータベースに記憶されるテーブルである。
Webサービス警告画面の例を示す図である。
【発明を実施するための形態】
【0009】
以下、添付図面を参照して本発明の好適な実施の形態を詳しく説明する。尚、以下の実施の形態は特許請求の範囲に係る本発明を限定するものでなく、また本実施の形態で説明されている特徴の組み合わせの全てが本発明の解決手段に必須のものとは限らない。
【0010】
以下、添付図面を参照して本開示の好適な実施の形態を詳しく説明する。尚、以下の実施の形態は本開示事項を限定するものでなく、また本実施の形態で説明されている特徴の組み合わせすべてが本開示の解決手段に必須のものとは限らない。
(【0011】以降は省略されています)
この特許をJ-PlatPat(特許庁公式サイト)で参照する
関連特許
個人
工程設計支援装置
1か月前
個人
地球保全システム
9日前
個人
フラワーコートA
2か月前
個人
為替ポイント伊達夢貯
1か月前
個人
介護情報提供システム
2か月前
個人
冷凍食品輸出支援構造
1か月前
個人
携帯情報端末装置
1か月前
個人
表変換編集支援システム
29日前
個人
設計支援システム
2か月前
個人
残土処理システム
2日前
個人
設計支援システム
2か月前
個人
知的財産出願支援システム
3日前
個人
知財出願支援AIシステム
1か月前
個人
結婚相手紹介支援システム
1か月前
個人
AIによる情報の売買の仲介
1か月前
個人
パスワード管理支援システム
29日前
個人
行動時間管理システム
1か月前
個人
アンケート支援システム
2か月前
個人
海外支援型農作物活用システム
21日前
個人
AIキャラクター制御システム
29日前
個人
システム及びプログラム
22日前
日本精機株式会社
施工管理システム
1か月前
個人
食品レシピ生成システム
8日前
個人
パスポートレス入出国システム
1か月前
株式会社キーエンス
受発注システム
8日前
株式会社キーエンス
受発注システム
8日前
株式会社アジラ
進入判定装置
1か月前
株式会社キーエンス
受発注システム
8日前
個人
食事受注会計処理システム
1か月前
サクサ株式会社
中継装置
29日前
個人
音声対話型帳票生成支援システム
29日前
大同特殊鋼株式会社
疵判定方法
15日前
個人
音声・通知・再配達UX制御構造
3日前
個人
SaaS型勤務調整支援システム
29日前
個人
帳票自動生成型SaaSシステム
3日前
個人
ジェスチャーパッドのガイド部材
2か月前
続きを見る
他の特許を見る