TOP
|
特許
|
意匠
|
商標
特許ウォッチ
Twitter
他の特許を見る
10個以上の画像は省略されています。
公開番号
2025144605
公報種別
公開特許公報(A)
公開日
2025-10-03
出願番号
2024044331
出願日
2024-03-21
発明の名称
面発光レーザ、レーザ装置、検出装置及び移動体
出願人
株式会社リコー
代理人
個人
,
個人
主分類
H01S
5/183 20060101AFI20250926BHJP(基本的電気素子)
要約
【課題】光出力を向上できる面発光レーザを提供する。
【解決手段】活性層34を含む共振器30と、共振器を挟んで対向する第1反射鏡20及び第2反射鏡40と、第2反射鏡内に設けられ、光の射出方向に垂直な面において、非酸化領域と、非酸化領域を取り囲む酸化領域とを有する酸化狭窄層44と、電源装置に接続され、活性層に電流を注入することが可能な電極対と、を備え、電源装置により活性層に電流が注入される期間を電流注入期間、前記電流注入期間の後であって前記活性層に注入される電流値が前記電流注入期間における電流値よりも低下する期間を電流減少期間として、電流注入期間にレーザ発振せず、電流減少期間にレーザ発振する面発光レーザ。
【選択図】図2
特許請求の範囲
【請求項1】
活性層を含む共振器と、
前記共振器を挟んで対向する第1反射鏡及び第2反射鏡と、
前記第2反射鏡内に設けられ、光の射出方向に垂直な面において、非酸化領域と、前記非酸化領域を取り囲む酸化領域とを有する酸化狭窄層と、
電源装置に接続され、前記活性層に電流を注入することが可能な電極対と、
を備え、
前記電源装置により前記活性層に前記電流が注入される期間を電流注入期間、前記電流注入期間の後であって前記活性層に注入される電流値が前記電流注入期間における電流値よりも低下する期間を電流減少期間として、
前記電流注入期間にレーザ発振せず、前記電流減少期間にレーザ発振し、
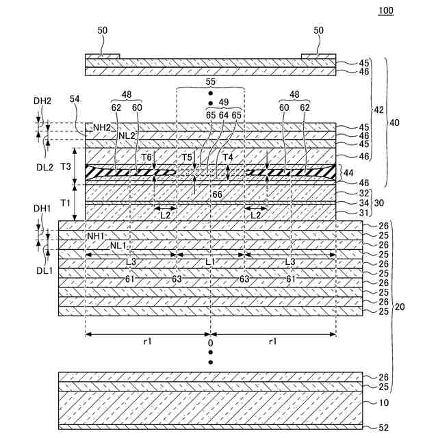
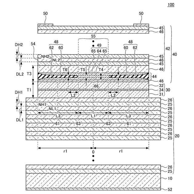
第1反射鏡は、交互に積層された複数の第1高屈折率層と前記第1高屈折率層より屈折率の低い複数の第1低屈折率層とを有し、
第2反射鏡は、交互に積層された複数の第2高屈折率層と前記第2高屈折率層より屈折率の低い複数の第2低屈折率層とを有し、
前記第1高屈折率層の物理的な厚さおよび屈折率をそれぞれDH1およびNH1とし、前記第1低屈折率層の物理的な厚さおよび屈折率をそれぞれDL1およびNL1とし、前記第2高屈折率層の物理的な厚さおよび屈折率をそれぞれDH2およびNH2とし、前記第2低屈折率層の物理的な厚さおよび屈折率をそれぞれDL2およびNL2としたとき、
(NH1×DH1+NL1×DL1)>(NH2×DH2+NL2×DL2)
である、
面発光レーザ。
続きを表示(約 2,200 文字)
【請求項2】
活性層を含む共振器と、
前記共振器を挟んで対向する第1反射鏡及び第2反射鏡と、
前記第2反射鏡内に設けられ、光の射出方向に垂直な面において、非酸化領域と、前記非酸化領域を取り囲む酸化領域とを有する酸化狭窄層と、
電源装置に接続され、前記活性層に電流を注入することが可能な電極対と、
を備え、
前記電源装置により前記活性層に前記電流が注入される期間を電流注入期間、前記電流注入期間の後であって前記活性層に注入される電流値が前記電流注入期間における電流値よりも低下する期間を電流減少期間として、
前記電流注入期間にレーザ発振せず、前記電流減少期間にレーザ発振し、
前記第2反射鏡の反射率が最も高くなる波長は、発振波長より小さい、
面発光レーザ。
【請求項3】
前記酸化狭窄層のうち酸化されて前記酸化領域となる層の厚さは35nm以下であり、
前記酸化領域と前記非酸化領域との境界の先端部から3μmの位置における前記酸化領域の厚さは、前記層の厚さの2倍以下であり、
前記酸化領域と前記非酸化領域との境界の先端部で囲まれる領域の、光の射出方向に垂直な面内における面積は120μm
2
以下である、請求項1または2に記載の面発光レーザ。
【請求項4】
活性層を含む共振器と、
前記共振器を挟んで対向する第1反射鏡及び第2反射鏡と、
前記第2反射鏡内に設けられ、光の射出方向に垂直な面において、非酸化領域と、前記非酸化領域を取り囲む酸化領域とを有する酸化狭窄層と、
電源装置に接続され、前記活性層に電流を注入することが可能な電極対と、
を備え、
前記酸化狭窄層のうち酸化されて前記酸化領域となる層の厚さは35nm以下であり、
前記酸化領域と前記非酸化領域との境界の先端部から3μmの位置における前記酸化領域の厚さは、前記層の厚さの2倍以下であり、
前記酸化領域と前記非酸化領域との境界の先端部で囲まれる領域の、光の射出方向に垂直な面内における面積は120μm
2
以下であり、
第1反射鏡は、交互に積層された複数の第1高屈折率層と前記第1高屈折率層より屈折率の低い複数の第1低屈折率層とを有し、
第2反射鏡は、交互に積層された複数の第2高屈折率層と前記第2高屈折率層より屈折率の低い複数の第2低屈折率層とを有し、
前記第1高屈折率層の物理的な厚さおよび屈折率をそれぞれDH1およびNH1とし、前記第1低屈折率層の物理的な厚さおよび屈折率をそれぞれDL1およびNL1とし、前記第2高屈折率層の物理的な厚さおよび屈折率をそれぞれDH2およびNH2とし、前記第2低屈折率層の物理的な厚さおよび屈折率をそれぞれDL2およびNL2としたとき、
(NH1×DH1+NL1×DL1)>(NH2×DH2+NL2×DL2)
である、
面発光レーザ。
【請求項5】
活性層を含む共振器と、
前記共振器を挟んで対向する第1反射鏡及び第2反射鏡と、
前記第2反射鏡内に設けられ、光の射出方向に垂直な面において、非酸化領域と、前記非酸化領域を取り囲む酸化領域とを有する酸化狭窄層と、
電源装置に接続され、前記活性層に電流を注入することが可能な電極対と、
を備え、
前記酸化狭窄層のうち酸化されて前記酸化領域となる層の厚さは35nm以下であり、
前記酸化領域と前記非酸化領域との境界の先端部から3μmの位置における前記酸化領域の厚さは、前記層の厚さの2倍以下であり、
前記酸化領域と前記非酸化領域との境界の先端部で囲まれる領域の、光の射出方向に垂直な面内における面積は120μm
2
以下であり、
前記第2反射鏡の反射率が最も高くなる波長は、発振波長より小さい、
面発光レーザ。
【請求項6】
前記共振器は、積層された複数の半導体層により形成され、
前記複数の半導体層の各半導体層において屈折率と物理的な厚さとの積を、前記複数の半導体層について合算した値をNDとし、1以上の整数をMとしたとき、
2×M×(NH1×DH1+NL1×DL1)≧ND≧2×M×(NH2×DH2+NL2×DL2)
である、
請求項1または4に記載の面発光レーザ。
【請求項7】
前記発振波長は、前記第1反射鏡の反射率が最も高くなる波長以下である、請求項2または5に記載の面発光レーザ。
【請求項8】
請求項1、2、4および5のいずれか一項に記載の面発光レーザと、
前記電極対に接続され、前記面発光レーザに電流を注入する電源装置と、
を備えるレーザ装置。
【請求項9】
請求項8に記載のレーザ装置と、
前記面発光レーザから発せられ対象物で反射された光を検出する検出部と、
を備える検出装置。
【請求項10】
前記検出部からの信号に基づき前記対象物との距離を検出する、請求項9に記載の検出装置。
(【請求項11】以降は省略されています)
発明の詳細な説明
【技術分野】
【0001】
本発明は、面発光レーザ、レーザ装置、検出装置及び移動体に関する。
続きを表示(約 2,600 文字)
【背景技術】
【0002】
面発光レーザは、距離測定装置などに用いられている。人間の目に対するレーザの安全基準を満たすため、裾引きの小さい短パルス光を発生する面発光レーザが知られている。
【0003】
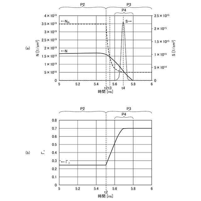
活性層に電流が注入される期間を電流注入期間とし、電流注入期間の後であって活性層に注入される電流値が電流注入期間における電流値よりも低下する期間を電流注入期間とする。酸化狭窄層を有する面発光レーザにおいて、電流注入期間ではレーザ発振せず、電流減少期間にレーザ発振することで、短パルス光の裾引きを低減できる。特許文献1には、電流減少期間において光強度を大きくしてレーザ発振するためには、酸化狭窄層の酸化領域を薄くすることが記載されている。
【発明の概要】
【発明が解決しようとする課題】
【0004】
酸化領域を薄くすることで光出力を向上させることができる。しかし、酸化狭窄層の酸化領域を薄くすることは、製造上難しい場合がある。
【0005】
本発明は、光出力を向上させることが可能な面発光レーザ、レーザ装置、検出装置及び移動体を提供することを目的とする。
【課題を解決するための手段】
【0006】
本発明の実施形態によれば、面発光レーザは、活性層を含む共振器と、前記共振器を挟んで対向する第1反射鏡及び第2反射鏡と、前記第2反射鏡内に設けられ、光の射出方向に垂直な面において、非酸化領域と、前記非酸化領域を取り囲む酸化領域とを有する酸化狭窄層と、電源装置に接続され、前記活性層に電流を注入することが可能な電極対と、を備え、前記電源装置により前記活性層に前記電流が注入される期間を電流注入期間、前記電流注入期間の後であって前記活性層に注入される電流値が前記電流注入期間における電流値よりも低下する期間を電流減少期間として、前記電流注入期間にレーザ発振せず、前記電流減少期間にレーザ発振し、第1反射鏡は、交互に積層された複数の第1高屈折率層と前記第1高屈折率層より屈折率の低い複数の第1低屈折率層とを有し、第2反射鏡は、交互に積層された複数の第2高屈折率層と前記第2高屈折率層より屈折率の低い複数の第2低屈折率層とを有し、前記第1高屈折率層の物理的な厚さおよび屈折率をそれぞれDH1およびNH1とし、前記第1低屈折率層の物理的な厚さおよび屈折率をそれぞれDL1およびNL1とし、前記第2高屈折率層の物理的な厚さおよび屈折率をそれぞれDH2およびNH2とし、前記第2低屈折率層の物理的な厚さおよび屈折率をそれぞれDL2およびNL2としたとき、(NH1×DH1+NL1×DL1)>(NH2×DH2+NL2×DL2)
である。
【0007】
本発明の実施形態によれば、面発光レーザは、活性層を含む共振器と、前記共振器を挟んで対向する第1反射鏡及び第2反射鏡と、前記第2反射鏡内に設けられ、光の射出方向に垂直な面において、非酸化領域と、前記非酸化領域を取り囲む酸化領域とを有する酸化狭窄層と、電源装置に接続され、前記活性層に電流を注入することが可能な電極対と、を備え、前記電源装置により前記活性層に前記電流が注入される期間を電流注入期間、前記電流注入期間の後であって前記活性層に注入される電流値が前記電流注入期間における電流値よりも低下する期間を電流減少期間として、前記電流注入期間にレーザ発振せず、前記電流減少期間にレーザ発振し、前記第2反射鏡の反射率が最も高くなる波長は、発振波長より小さい。
【0008】
本発明の実施形態によれば、面発光レーザは、活性層を含む共振器と、前記共振器を挟んで対向する第1反射鏡及び第2反射鏡と、前記第2反射鏡内に設けられ、光の射出方向に垂直な面において、非酸化領域と、前記非酸化領域を取り囲む酸化領域とを有する酸化狭窄層と、電源装置に接続され、前記活性層に電流を注入することが可能な電極対と、を備え、前記酸化狭窄層のうち酸化されて前記酸化領域となる層の厚さは35nm以下であり、前記酸化領域と前記非酸化領域との境界の先端部から3μmの位置における前記酸化領域の厚さは、前記層の厚さの2倍以下であり、前記酸化領域と前記非酸化領域との境界の先端部で囲まれる領域の、光の射出方向に垂直な面内における面積は120μm
2
以下であり、第1反射鏡は、交互に積層された複数の第1高屈折率層と前記第1高屈折率層より屈折率の低い複数の第1低屈折率層とを有し、第2反射鏡は、交互に積層された複数の第2高屈折率層と前記第2高屈折率層より屈折率の低い複数の第2低屈折率層とを有し、前記第1高屈折率層の物理的な厚さおよび屈折率をそれぞれDH1およびNH1とし、前記第1低屈折率層の物理的な厚さおよび屈折率をそれぞれDL1およびNL1とし、前記第2高屈折率層の物理的な厚さおよび屈折率をそれぞれDH2およびNH2とし、前記第2低屈折率層の物理的な厚さおよび屈折率をそれぞれDL2およびNL2としたとき、(NH1×DH1+NL1×DL1)>(NH2×DH2+NL2×DL2)である。
【0009】
本発明の実施形態によれば、面発光レーザは、活性層を含む共振器と、前記共振器を挟んで対向する第1反射鏡及び第2反射鏡と、前記第2反射鏡内に設けられ、光の射出方向に垂直な面において、非酸化領域と、前記非酸化領域を取り囲む酸化領域とを有する酸化狭窄層と、電源装置に接続され、前記活性層に電流を注入することが可能な電極対と、を備え、前記酸化狭窄層のうち酸化されて前記酸化領域となる層の厚さは35nm以下であり、前記酸化領域と前記非酸化領域との境界の先端部から3μmの位置における前記酸化領域の厚さは、前記層の厚さの2倍以下であり、前記酸化領域と前記非酸化領域との境界の先端部で囲まれる領域の、光の射出方向に垂直な面内における面積は120μm
2
以下であり、前記第2反射鏡の反射率が最も高くなる波長は、発振波長より小さい。
【発明の効果】
【0010】
本発明によれば、光出力を向上させることが可能な面発光レーザ、レーザ装置、検出装置及び移動体を提供することができる。
【図面の簡単な説明】
(【0011】以降は省略されています)
この特許をJ-PlatPat(特許庁公式サイト)で参照する
関連特許
株式会社リコー
移動体
今日
株式会社リコー
綴じ装置
1か月前
株式会社リコー
画像形成装置
9日前
株式会社リコー
画像形成装置
1か月前
株式会社リコー
画像形成装置
9日前
株式会社リコー
映像表示装置
1か月前
株式会社リコー
画像形成装置
9日前
株式会社リコー
印刷システム
9日前
株式会社リコー
画像形成装置
12日前
株式会社リコー
画像形成装置
5日前
株式会社リコー
履帯式走行体
1か月前
株式会社リコー
画像形成装置
20日前
株式会社リコー
感熱記録媒体
6日前
株式会社リコー
画像形成装置
1か月前
株式会社リコー
画像形成装置
27日前
株式会社リコー
液体塗布装置
13日前
株式会社リコー
液体吐出装置
1か月前
株式会社リコー
画像形成装置
28日前
株式会社リコー
投薬管理システム
28日前
株式会社リコー
画像投射システム
20日前
株式会社リコー
情報処理システム
1か月前
株式会社リコー
拡張アンテナ装置
12日前
株式会社リコー
印刷応答補償機構
13日前
株式会社リコー
画像形成システム
5日前
株式会社リコー
生体情報測定装置
6日前
株式会社リコー
マーキングシステム
12日前
株式会社リコー
液体を吐出する装置
6日前
株式会社リコー
電極及びその製造方法
9日前
株式会社リコー
電極及びその製造方法
7日前
株式会社リコー
多孔質構造体の製造方法
9日前
株式会社リコー
測定装置および測定方法
29日前
株式会社リコー
測定装置および測定方法
29日前
株式会社リコー
測定装置および測定方法
29日前
株式会社リコー
給送装置及び画像形成装置
1か月前
株式会社リコー
定着装置及び画像形成装置
19日前
株式会社リコー
定着装置及び画像形成装置
13日前
続きを見る
他の特許を見る