TOP
|
特許
|
意匠
|
商標
特許ウォッチ
Twitter
他の特許を見る
10個以上の画像は省略されています。
公開番号
2025145126
公報種別
公開特許公報(A)
公開日
2025-10-03
出願番号
2024045152
出願日
2024-03-21
発明の名称
身分証明書発行方法、身分証明書発行システム及び認証方法
出願人
独立行政法人 国立印刷局
代理人
主分類
G06Q
50/26 20240101AFI20250926BHJP(計算;計数)
要約
【課題】外部のサーバとのネットワークの接続が遮断されている状態であっても、発行された身分証明書が真正なものであり、所有する者が本人であることを確認できる身分証明書を発行することができる身分証明書発行システム、身分証明書発行方法及び認証方法を提供する。
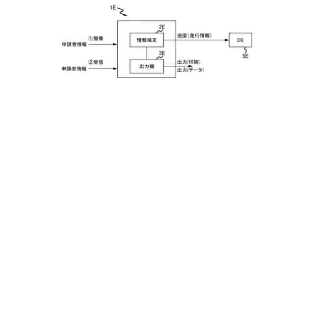
【解決手段】身分証明書発行システムは、取得部と、データ作成部と、出力部とを備えている。取得部は、身分証明書の発行を求める申請者の情報である申請者情報を取得する。データ作成部は、取得部が取得した申請者情報を潜像画像に変換し、身分証明書に埋め込み出力用データを作成する。出力部は、データ作成部が作成した出力用データを基材に印刷して身分証明書を作成するか又は、出力用データから成る身分証明書データを申請者の携帯端末に出力する。
【選択図】図1
特許請求の範囲
【請求項1】
申請者の身分を認証可能な機能を備えた身分証明書発行方法であって、
身分証明書の発行を求める前記申請者の情報である申請者情報を取得する処理と、
取得した前記申請者情報を、情報端末が備えるアプリケーションにより可視化可能な潜像画像に変換し、前記身分証明書に埋め込むための出力用データを作成する処理と、
作成した前記出力用データを基材に印刷して前記身分証明書を作製するか又は前記出力用データから成る身分証明書データを前記申請者の携帯端末に送信する処理とを含むことを特徴とする身分証明書発行方法。
続きを表示(約 770 文字)
【請求項2】
申請者の身分を認証可能な機能を備えた身分証明書発行システムであって、
身分証明書の発行を求める前記申請者の情報である申請者情報を取得する取得部と、
前記取得部が取得した前記申請者情報を、情報端末が備えるアプリケーションにより可視化可能な潜像画像に変換し、前記身分証明書に埋め込むための出力用データを作成するデータ作成部と、
前記データ作成部が作成した前記出力用データを基材に印刷して前記身分証明書を作製するか又は前記出力用データから成る身分証明書データを前記申請者の携帯端末に送信する出力部とを備えたことを特徴とする身分証明書発行システム。
【請求項3】
前記申請者に係る事前申請者情報が予め登録された記憶部を更に備え、
前記取得部によって取得された前記申請者情報と、前記記憶部に予め登録された前記事前申請者情報を照合した後、前記出力用データを作成することを特徴とする請求項2に記載の身分証明書発行システム。
【請求項4】
前記申請者情報又は前記出力用データを含む発行情報を、外部のデータベースに送信する通信部を更に備えたことを特徴とする請求項2に記載の身分証明書発行システム。
【請求項5】
請求項4に記載の身分証明書発行システムによって発行された前記身分証明書又は前記身分証明書データを認証する方法であって、
前記身分証明書又は前記身分証明書データと、前記身分証明書発行システムによって送信された前記外部のデータベースに格納された前記発行情報とを照合し、前記身分証明書又は前記身分証明書データが、前記身分証明書発行システムにより発行された前記身分証明書又は前記身分証明書データであるか否かの認証処理を行うことを特徴とする認証方法。
発明の詳細な説明
【技術分野】
【0001】
本発明は、身分証明書発行システム、身分証明書発行方法及び認証方法に関する。
続きを表示(約 1,700 文字)
【背景技術】
【0002】
従来から、社会生活を行う上で、個人の身分証明を要求される場合が多くある。すなわち、金融機関で口座を新設する場合、公的機関で各種、抄本、謄本を請求する場合等である。かかる場合に、通常は運転免許証、従業員証等を窓口で提示して身分証明するのが一般的である。
【0003】
また、災害等により身分証明書を紛失した場合には、現在では自己の身分を証明することが非常に難しく、身分証明に多大な時間を要してしまう。このような問題を解決するために、例えば、特許文献1に記載されているような身分証明書を発行する技術が開示されている。
【0004】
特許文献1には、身分証明要求端末と、登録部と、身分証明サーバを有する技術が記載されている。身分証明要求端末は、証明の要求者の証明要求及び生体情報を、通信回線を介して送信する。登録部は、身分証明要求端末と通信回線を介して相互に応答するために身分証明機関に設けられている。また、登録部は、要求者の身分証明情報及び生体情報が予め対応して登録されている。そして、身分証明サーバは、身分証明要求端末より受信した生体情報と登録部の登録生体情報とを照合して本人確認を行い、対応する登録身分証明情報を身分証明要求端末へ送信する。
【先行技術文献】
【特許文献】
【0005】
特開2002-15086号公報
【発明の概要】
【発明が解決しようとする課題】
【0006】
しかしながら、特許文献1に記載された技術において、身分証明書を発行するためには、情報端末である身分証明要求端末と、身分証明サーバとがネットワークにより接続されている必要があった。そのため、災害時等により、身分証明要求端末と身分証明サーバとのネットワークの接続が遮断されている状態では、身分証明書を発行することができない、という問題を有していた。また、特許文献1に記載された技術においては、発行された身分証明書が真正なものであることを確認できる手段が施されておらず、発行された身分証明書が本物であり、所有する者が本人であることを確認できる身分証明書を発行することが望まれていた。
【0007】
本目的は、上記の問題点を考慮し、外部のサーバとのネットワークの接続が遮断されている状態であっても、発行された身分証明書が真正なものであり、所有する者が本人であることを確認できる身分証明書を発行することができる身分証明書発行システム、身分証明書発行方法及び認証方法を提供することにある。
【課題を解決するための手段】
【0008】
本発明の身分証明書発行方法は、申請者の身分を認証可能な機能を備えた身分証明書発行方法であって、身分証明書の発行を求める申請者の情報である申請者情報を取得する処理と、取得した申請者情報を、情報端末が備えるアプリケーションにより可視化可能な潜像画像に変換し、身分証明書に埋め込むための出力用データを作成する処理と、作成した出力用データを基材に印刷して身分証明書を作製するか又は出力用データから成る身分証明書データを申請者の携帯端末に送信する処理とを含むことを特徴とする。
【0009】
また、本発明の身分証明書発行システムは、申請者の身分を認証可能な機能を備えた身分証明書発行システムであって、身分証明書の発行を求める申請者の情報である申請者情報を取得する取得部と、取得部が取得した申請者情報を、情報端末が備えるアプリケーションにより可視化可能な潜像画像に変換し、身分証明書に埋め込むための出力用データを作成するデータ作成部と、データ作成部が作成した出力用データを基材に印刷して身分証明書を作製するか又は出力用データから成る身分証明書データを申請者の携帯端末に送信する出力部とを備えたことを特徴とする。
【0010】
また、本発明の身分証明書発行システムは、取得部及びデータ作成部を有する情報端末と、基材に画像を印刷する出力機とを備えたことを特徴とする。
(【0011】以降は省略されています)
この特許をJ-PlatPat(特許庁公式サイト)で参照する
関連特許
個人
地球保全システム
8日前
個人
工程設計支援装置
1か月前
個人
フラワーコートA
2か月前
個人
冷凍食品輸出支援構造
1か月前
個人
介護情報提供システム
2か月前
個人
為替ポイント伊達夢貯
1か月前
個人
残土処理システム
1日前
個人
表変換編集支援システム
28日前
個人
携帯情報端末装置
1か月前
個人
結婚相手紹介支援システム
1か月前
個人
知的財産出願支援システム
2日前
個人
知財出願支援AIシステム
1か月前
個人
行動時間管理システム
1か月前
個人
パスワード管理支援システム
28日前
個人
AIによる情報の売買の仲介
1か月前
個人
システム及びプログラム
21日前
個人
海外支援型農作物活用システム
20日前
株式会社キーエンス
受発注システム
7日前
個人
AIキャラクター制御システム
28日前
株式会社キーエンス
受発注システム
7日前
個人
アンケート支援システム
2か月前
株式会社キーエンス
受発注システム
7日前
個人
食品レシピ生成システム
7日前
日本精機株式会社
施工管理システム
1か月前
株式会社アジラ
進入判定装置
1か月前
個人
パスポートレス入出国システム
1か月前
サクサ株式会社
中継装置
2か月前
個人
社会還元・施設向け供給支援構造
28日前
大阪瓦斯株式会社
住宅設備機器
1か月前
キヤノン株式会社
表示システム
7日前
サクサ株式会社
中継装置
28日前
大同特殊鋼株式会社
疵判定方法
14日前
個人
ジェスチャーパッドのガイド部材
2か月前
個人
人格進化型対話応答制御システム
28日前
個人
帳票自動生成型SaaSシステム
2日前
個人
SaaS型勤務調整支援システム
28日前
続きを見る
他の特許を見る