TOP
|
特許
|
意匠
|
商標
特許ウォッチ
Twitter
他の特許を見る
10個以上の画像は省略されています。
公開番号
2025145139
公報種別
公開特許公報(A)
公開日
2025-10-03
出願番号
2024045167
出願日
2024-03-21
発明の名称
学習支援装置およびプログラム
出願人
株式会社リクルート
代理人
個人
,
個人
,
個人
,
個人
主分類
G09B
7/02 20060101AFI20250926BHJP(教育;暗号方法;表示;広告;シール)
要約
【課題】生徒や指導者に対して、効果的な学習の進め方を支援する。
【解決手段】テスト支援装置は、第1のテストと、前記第1のテストの受検結果に基づいて問題が組み立てられている第2のテストとを受検者にそれぞれ提示する問題提示部を備える。
【選択図】図1
特許請求の範囲
【請求項1】
第1のテストと、前記第1のテストの受検結果に基づいて問題が組み立てられている第2のテストとを受検者にそれぞれ提示する問題提示部
を備えるテスト支援装置。
続きを表示(約 460 文字)
【請求項2】
前記第1のテストの受検状況を表示する第1表示制御部と、
前記第2のテストの受検状況を表示する第2表示制御部と、
をさらに備える請求項1に記載のテスト支援装置。
【請求項3】
前記第1表示制御部及び前記第2表示制御部は、
受検状況を指導者側端末装置に表示させる、
請求項2に記載のテスト支援装置。
【請求項4】
前記第1表示制御部及び前記第2表示制御部は、
受検状況を、受検者側端末装置に表示させる、
請求項2に記載のテスト支援装置。
【請求項5】
前記第2表示制御部は、
前記第2のテストの受検結果を、受検者側端末装置に表示させる、
請求項4に記載のテスト支援装置。
【請求項6】
コンピュータに、
第1のテストと、前記第1のテストの受検結果に基づいて問題が組み立てられている第2のテストとを受検者にそれぞれ提示すること、
を実行させるためのプログラム。
発明の詳細な説明
【技術分野】
【0001】
本発明は、学習支援装置およびプログラムに関する。
続きを表示(約 1,600 文字)
【背景技術】
【0002】
従来、コンピュータによって学習を支援するシステムが提案されている。例えば、特許文献1には、学習の課題を自動的にレコメンドするシステムが開示されている。
【先行技術文献】
【特許文献】
【0003】
特開2023-126712号公報
【発明の概要】
【発明が解決しようとする課題】
【0004】
近年、児童、生徒、学生(以下、これらを総称して生徒ともいう。)の進学目標の多様化が進み、個別の生徒によりマッチした学習の進め方を提案できることが好ましい。
【0005】
本発明の目的は、生徒や指導者に対して、効果的な学習の進め方を支援することができる学習支援装置およびプログラムを提供することにある。
【課題を解決するための手段】
【0006】
本発明の一態様は、第1のテストと、前記第1のテストの受検結果に基づいて問題が組み立てられている第2のテストとを受検者にそれぞれ提示する問題提示部を備えるテスト支援装置である。
【0007】
本発明の一態様は、コンピュータに、第1のテストと、前記第1のテストの受検結果に基づいて問題が組み立てられている第2のテストとを受検者にそれぞれ提示すること、を実行させるためのプログラム。
【発明の効果】
【0008】
本発明によれば、生徒や指導者に対して、効果的な学習の進め方を支援することができる。
【図面の簡単な説明】
【0009】
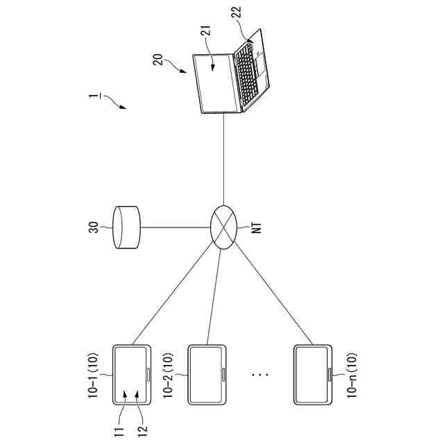
本実施形態の学習支援システム1の装置構成の一例を示す図である。
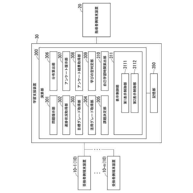
本実施形態の学習支援システム1の機能構成の一例を示す図である。
本実施形態の学習支援システム1の動作の流れ(その1)の一例を示す図である。
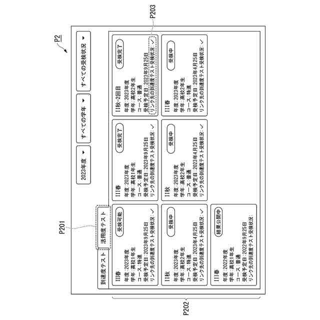
本実施形態の到達度テストホーム画面の一例を示す図である。
本実施形態の活用度テストホーム画面の一例を示す図である。
本実施形態の希望進路入力画面の一例を示す図である。
本実施形態の学習支援システムの動作の流れ(その2)の一例を示す図である。
本実施形態のテスト進捗画面の一例を示す図である。
本実施形態の学習支援システムの動作の流れ(その3)の一例を示す図である。
本実施形態のテスト結果ホーム画面の一例を示す図である。
本実施形態のグレード対比画面の一例を示す図である。
本実施形態の活用グレード推移画面の一例を示す図である。
本実施形態の教科ごと活用グレード推移画面の一例を示す図である。
本実施形態の課題提示画面の一例を示す図である。
本実施形態のアドバイス画面の一例を示す図である。
本実施形態の全体結果画面の一例を示す図である。
本実施形態の問題セット別表示欄の一例を示す図である。
本実施形態の教科別結果画面の一例を示す図である。
【発明を実施するための形態】
【0010】
本実施形態の学習支援システム1について、図面を参照しつつ説明する。以下で説明する実施形態は一例に過ぎず、本発明が適用される実施形態は、以下の実施形態に限られない。
なお、実施形態を説明するための全図において、同一の機能を有するものは同一符号を用い、繰り返しの説明は省略する。
また、本願でいう「XXに基づいて」とは、「少なくともXXに基づく」ことを意味し、XXに加えて別の要素に基づく場合も含む。また、「XXに基づいて」とは、XXを直接に用いる場合に限定されず、XXに対して演算や加工が行われたものに基づく場合も含む。「XX」は、任意の要素(例えば、任意の情報)である。
(【0011】以降は省略されています)
この特許をJ-PlatPat(特許庁公式サイト)で参照する
関連特許
個人
回転式カード学習具
1か月前
日本精機株式会社
表示装置
1か月前
日本精機株式会社
表示装置
13日前
日本精機株式会社
表示装置
3か月前
個人
時刻表示機能つき手帳
2か月前
個人
計算用教具
9日前
中国電力株式会社
標示旗
19日前
日本精機株式会社
車両用表示装置
1か月前
日本精機株式会社
車両用表示装置
2か月前
日本精機株式会社
車両用表示装置
2か月前
日本精機株式会社
車両用センサ装置
9日前
個人
モデルで薔薇の花嫁様を描く為
1か月前
トヨタ自動車株式会社
評価方法
2か月前
シャープ株式会社
表示装置
20日前
シャープ株式会社
表示装置
3か月前
シャープ株式会社
表示装置
4か月前
株式会社一弘社
情報表示板
1か月前
シャープ株式会社
表示装置
3か月前
パイオニア株式会社
表示装置
3か月前
個人
音楽教材
1か月前
個人
口唇閉鎖の訓練具
3か月前
株式会社ウメラボ
学習支援システム
5日前
個人
広告設置構造及び広告支持部材
4か月前
株式会社半導体エネルギー研究所
半導体装置
2か月前
ニチレイマグネット株式会社
磁着式電飾装置
19日前
株式会社リコー
画像投射システム
20日前
株式会社ノジマ
応対体験システム
3か月前
中国電力株式会社
危険予知訓練装置
3か月前
個人
サインポスト
2か月前
シチズンファインデバイス株式会社
液晶表示装置
1か月前
株式会社サンゲツ
見本帳
1か月前
学校法人関西医科大学
腹腔鏡手術訓練装置
19日前
シチズンファインデバイス株式会社
液晶表示装置
28日前
BEST株式会社
吊り下げ表示部材
1か月前
株式会社バンダイ
情報処理装置およびプログラム
3か月前
厦門天馬顕示科技有限公司
走査回路
3か月前
続きを見る
他の特許を見る