TOP
|
特許
|
意匠
|
商標
特許ウォッチ
Twitter
他の特許を見る
10個以上の画像は省略されています。
公開番号
2025146665
公報種別
公開特許公報(A)
公開日
2025-10-03
出願番号
2025005264
出願日
2025-01-15
発明の名称
プログラム、情報処理装置及び方法
出願人
株式会社プレシジョン
代理人
IPTech弁理士法人
主分類
G10L
15/22 20060101AFI20250926BHJP(楽器;音響)
要約
【課題】音声データに基づいて入力された電子カルテの記録の省力化を図る。同時に、日本中の医療機関にマスカスタマイズして届ける。
【解決手段】プロセッサとメモリとを備えるコンピュータを動作させるためのプログラムであって、メモリには、ひらがな、カタカナ、英数字及び句読点の少なくとも1つを含む音声認識データを入力として、音声認識データに対して仮名漢字変換を行った漢字変換済音声認識データを出力する機械学習モデルが格納されており、プログラムは、プロセッサに、ユーザから、発話データの入力を受け付けさせ、受け付けた発話データを音声認識して音声認識データを取得させ、取得した音声認識データを機械学習モデルに入力し、この機械学習モデルに、入力した音声認識データに対応する漢字変換済音声認識データを出力させ、漢字変換済音声認識データをユーザに提示させる。
を実行させる、プログラム。
【選択図】図1
特許請求の範囲
【請求項1】
プロセッサとメモリとを備えるコンピュータを動作させるためのプログラムであって、
前記プログラムは、前記プロセッサに、
ユーザから、発話データの入力を受け付ける第1ステップと、
前記第1ステップにおいて入力されている前記発話データを音声認識して得た、ひらがな、カタカナ、英数字及び句読点の少なくとも1つを含む音声認識データを前記ユーザに提示する第2ステップと、
前記第1ステップで受け付けている前記発話データの前記ユーザによる入力の終了を判断する第3ステップと、
前記第3ステップにより入力の終了が判定されるまでに前記第1ステップにおいて受け付けた前記発話データを解析するとともに、(i)前記ユーザの環境情報、(ii)前記音声認識データの取得前の文書、及び(iii)前記ユーザの顧客に関する情報の少なくとも1つ、並びに(iv)前記音声認識データを解析することにより、前記音声認識データに対して仮名漢字変換または誤字の修正のいずれか一方を行った変換済音声認識データを取得する第4ステップと、
前記第4ステップで取得した前記変換済音声認識データを前記ユーザに提示する第5ステップとを実行させる、プログラム。
続きを表示(約 3,700 文字)
【請求項2】
プロセッサとメモリとを備えるコンピュータを動作させるためのプログラムであって、
前記プログラムは、前記プロセッサに、
ユーザから、前記ユーザの顧客に関する情報の入力を受け付ける第1ステップと、
前記第1ステップにおいて入力されている前記ユーザの顧客に関する情報を音声認識して得た、ひらがな、カタカナ、英数字及び句読点の少なくとも1つを含む音声認識データを前記ユーザに提示する第2ステップと、
前記第1ステップで受け付けている前記ユーザの顧客に関する情報の前記ユーザによる入力の終了を、前記ユーザの顧客に関する情報に含まれる句読点、改行コード、前記ユーザの顧客に関する情報の文字数、及び、前記ユーザによる前記入力の所定時間の中断の少なくとも1つに基づいて判断する第6ステップと、
前記第6ステップにより入力の終了が判定されるまでに前記第1ステップにおいて受け付けた前記ユーザの顧客に関する情報を解析するとともに、(I)前記ユーザの環境情報及び(II)前記音声認識データの取得前の文書の少なくとも一方、並びに(III)前記音声認識データを解析することにより、前記音声認識データに対して仮名漢字変換または誤字の修正のいずれか一方を行った変換済音声認識データを取得する第4ステップと、
前記第4ステップで取得した前記変換済音声認識データを前記ユーザに提示する第5ステップとを実行させる、プログラム。
【請求項3】
プロセッサとメモリとを備えるコンピュータを動作させるためのプログラムであって、
前記プログラムは、前記プロセッサに、
ユーザから、前記ユーザの顧客に関する発話データの入力を受け付ける第7ステップと、
前記第7ステップで受け付けた前記発話データを音声認識して、ひらがな、カタカナ、英数字及び句読点の少なくとも1つを含む音声認識データを取得する第8ステップと、
前記第8ステップにおいて取得された前記音声認識データを前記ユーザに提示する第9ステップと、
前記第7ステップで受け付けている前記発話データの前記ユーザによる入力の終了を、前記音声認識データに含まれる句読点、改行コード、前記音声認識データの文字数、及び、前記ユーザによる前記入力の所定時間の中断の少なくとも1つに基づいて判断する第10ステップと、
前記第10ステップにより入力の終了が判定されるまでに前記第8ステップにおいて取得した前記音声認識データを解析するとともに、前記ユーザの環境情報及び前記音声認識データの取得前の文書の少なくとも一方を解析することにより、前記音声認識データに対して仮名漢字変換または誤字の修正のいずれか一方を行った変換済音声認識データを取得する第11ステップと、
前記第11ステップで取得した前記変換済音声認識データを前記ユーザに提示する第12ステップとを実行させる、プログラム。
【請求項4】
前記ユーザは医療従事者であり、前記顧客は前記ユーザが診療を担当している患者である、請求項2または3に記載のプログラム。
【請求項5】
前記ユーザは医療従事者であり、前記ユーザの環境情報は前記ユーザが所属する診療科に関する情報である。請求項1~3のいずれかに記載のプログラム。
【請求項6】
前記ユーザの顧客に関する情報は、前記顧客が前回受診した際のカルテ情報及び/または診療サマリーである、請求項4に記載のプログラム。
【請求項7】
プロセッサとメモリとを備えた情報処理装置であって、
前記プロセッサは、
ユーザから、発話データの入力を受け付ける第1ステップと、
前記第1ステップにおいて入力されている前記発話データを音声認識して得た、ひらがな、カタカナ、英数字及び句読点の少なくとも1つを含む音声認識データを前記ユーザに提示する第2ステップと、
前記第1ステップで受け付けている前記発話データの前記ユーザによる入力の終了を判断する第3ステップと、
前記第3ステップにより入力の終了が判定されるまでに前記第1ステップにおいて受け付けた前記発話データを解析するとともに、(i)前記ユーザの環境情報、(ii)前記音声認識データの取得前の文書、及び(iii)前記ユーザの顧客に関する情報の少なくとも1つ、並びに(iv)前記音声認識データを解析することにより、前記音声認識データに対して仮名漢字変換または誤字の修正のいずれか一方を行った変換済音声認識データを取得する第4ステップと、
前記第4ステップで取得した前記変換済音声認識データを前記ユーザに提示する第5ステップとを実行する、情報処理装置。
【請求項8】
プロセッサとメモリとを備えた情報処理装置であって、
前記プロセッサは、
ユーザから、前記ユーザの顧客に関する情報の入力を受け付ける第1ステップと、
前記第1ステップにおいて入力されている前記ユーザの顧客に関する情報を音声認識して得た、ひらがな、カタカナ、英数字及び句読点の少なくとも1つを含む音声認識データを前記ユーザに提示する第2ステップと、
前記第1ステップで受け付けている前記ユーザの顧客に関する情報の前記ユーザによる入力の終了を、前記ユーザの顧客に関する情報に含まれる句読点、改行コード、前記ユーザの顧客に関する情報の文字数、及び、前記ユーザによる前記入力の所定時間の中断の少なくとも1つに基づいて判断する第6ステップと、
前記第6ステップにより入力の終了が判定されるまでに前記第1ステップにおいて受け付けた前記ユーザの顧客に関する情報を解析するとともに、(I)前記ユーザの環境情報及び(II)前記音声認識データの取得前の文書の少なくとも一方、並びに(III)前記音声認識データを解析することにより、前記音声認識データに対して仮名漢字変換または誤字の修正のいずれか一方を行った変換済音声認識データを取得する第4ステップと、
前記第4ステップで取得した前記変換済音声認識データを前記ユーザに提示する第5ステップとを実行する、情報処理装置。
【請求項9】
プロセッサとメモリとを備えた情報処理装置であって、
前記プロセッサは、
ユーザから、前記ユーザの顧客に関する発話データの入力を受け付ける第7ステップと、
前記第7ステップで受け付けた前記発話データを音声認識して、ひらがな、カタカナ、英数字及び句読点の少なくとも1つを含む音声認識データを取得する第8ステップと、
前記第8ステップにおいて取得された前記音声認識データを前記ユーザに提示する第9ステップと、
前記第7ステップで受け付けている前記発話データの前記ユーザによる入力の終了を、前記音声認識データに含まれる句読点、改行コード、前記音声認識データの文字数、及び、前記ユーザによる前記入力の所定時間の中断の少なくとも1つに基づいて判断する第10ステップと、
前記第10ステップにより入力の終了が判定されるまでに前記第8ステップにおいて取得した前記音声認識データを解析するとともに、前記ユーザの環境情報及び前記音声認識データの取得前の文書の少なくとも一方を解析することにより、前記音声認識データに対して仮名漢字変換または誤字の修正のいずれか一方を行った変換済音声認識データを取得する第11ステップと、
前記第11ステップで取得した前記変換済音声認識データを前記ユーザに提示する第12ステップとを実行する、情報処理装置。
【請求項10】
プロセッサとメモリとを備えたコンピュータにより実行される方法であって、
前記プロセッサは、
ユーザから、発話データの入力を受け付ける第1ステップと、
前記第1ステップにおいて入力されている前記発話データを音声認識して得た、ひらがな、カタカナ、英数字及び句読点の少なくとも1つを含む音声認識データを前記ユーザに提示する第2ステップと、
前記第1ステップで受け付けている前記発話データの前記ユーザによる入力の終了を判断する第3ステップと、
前記第3ステップにより入力の終了が判定されるまでに前記第1ステップにおいて受け付けた前記発話データを解析するとともに、(i)前記ユーザの環境情報、(ii)前記音声認識データの取得前の文書、及び(iii)前記ユーザの顧客に関する情報の少なくとも1つ、並びに(iv)前記音声認識データを解析することにより、前記音声認識データに対して仮名漢字変換または誤字の修正のいずれか一方を行った変換済音声認識データを取得する第4ステップと、
前記第4ステップで取得した前記変換済音声認識データを前記ユーザに提示する第5ステップとを実行する、方法。
(【請求項11】以降は省略されています)
発明の詳細な説明
【技術分野】
【0001】
本開示は、プログラム、情報処理装置及び方法に関する。
続きを表示(約 2,100 文字)
【背景技術】
【0002】
医師が患者に対する問診内容及び問診結果を音声またはキーボード入力して電子的に記録し、さらに患者に行う医療行為の履歴を電子的に記録する電子カルテは公知である。電子カルテの記録内容は、電子カルテテンプレートに沿って作成されることがある。
【0003】
上述した技術に関連する技術として、特許文献1に開示された技術がある。
【0004】
特許文献1には、医療支援装置に関する技術が開示されている。医療支援装置において、入力項目表示手段は入力項目を表示器に表示する。入力項目選択手段は複数の前記入力項目から一の前記入力項目を選択する。音声認識手段は、選択された辞書を用いて、入力された音声の音声認識を行い、音声に対する語句候補を抽出する。語句候補表示手段は抽出された語句候補を表示器に表示する。選択操作受付手段は語句候補から一の語句候補の選択操作を受付ける。記憶制御手段は、選択操作された一の語句候補を、選択した一の前記入力項目に対する回答として記憶手段に記憶させる。
【先行技術文献】
【特許文献】
【0005】
特開2013-156844号公報
【発明の概要】
【発明が解決しようとする課題】
【0006】
特許文献1に記載された技術では、医療分野の専門辞書を用いて音声認識処理を行っているが、医療分野のテンプレート入力では同音異表記が多く、現時点においても音声認識処理の精度には一定の限界があり、音声認識処理を行った結果としての電子カルテテンプレートへの入力内容に対してその後医師等が修正入力を行う必要が生じることがある。
【0007】
そこで、本開示は、上記課題を解決すべくなされたものであって、その目的は、音声データに基づいて入力された電子カルテテンプレートへの記録の省力化を図る技術を提供することである。
【課題を解決するための手段】
【0008】
プロセッサとメモリとを備えるコンピュータを動作させるためのプログラムである。メモリには、ひらがな、カタカナ、英数字及び句読点の少なくとも1つを含む音声認識データを入力として、音声認識データに対して仮名漢字変換を行った漢字変換済音声認識データを出力する機械学習モデルが格納されており、プログラムは、プロセッサに、ユーザから、発話データの入力を受け付ける第13ステップと、第13ステップで受け付けた発話データを音声認識して音声認識データを取得する第14ステップと、第14ステップで取得した音声認識データを機械学習モデルに入力し、この機械学習モデルに、入力した音声認識データに対応する漢字変換済音声認識データを出力させる第15ステップと、第15ステップの出力である漢字変換済音声認識データをユーザに提示する第16ステップとを実行させる。
【発明の効果】
【0009】
本開示によれば、音声データに基づいて入力された電子カルテテンプレートへの記録の省力化を図ることができる。
【図面の簡単な説明】
【0010】
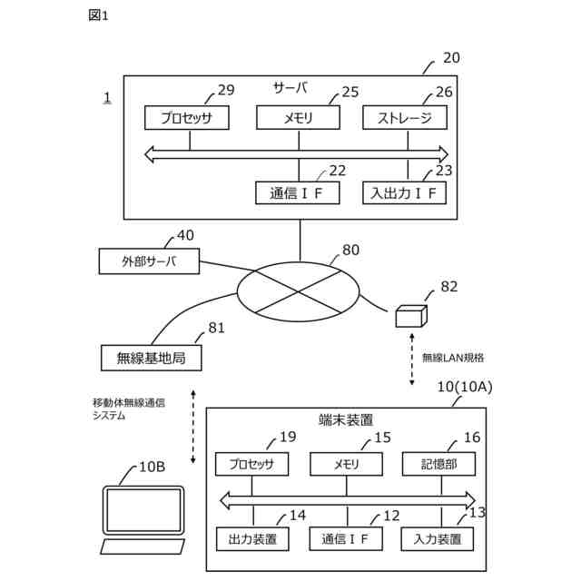
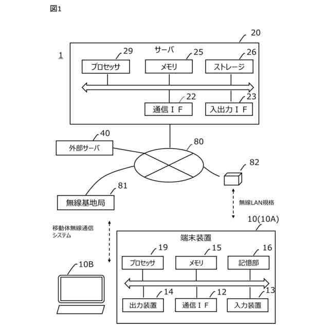
一実施形態に係るシステムの全体の構成を示す図である。
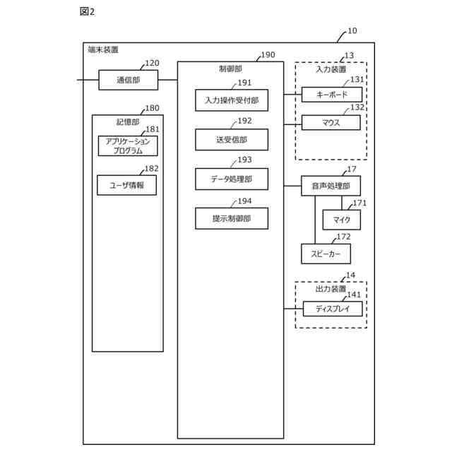
一実施形態に係る端末装置の機能的な構成を示す図である。
一実施形態に係るサーバの機能的な構成を示す図である。
一実施形態に係る電子カルテデータベースのデータ構造を示す図である。
一実施形態に係るシステムにおける処理流れの一例を示すフローチャートである。
一実施形態に係るシステムにおける処理流れの他の例を示すフローチャートである。
一実施形態に係る端末装置で表示される画面の一例を表す模式図である。
一実施形態に係るシステムにおける処理流れの一例を示す図である。
一実施形態に係るシステムにおける処理流れの他の例を示す図である。
一実施形態に係るシステムにおける処理流れのまた他の例を示す図である。
一実施形態に係る端末装置で表示される画面の他の例を表す模式図である。
一実施形態に係る端末装置で表示される画面のまた別の一例を表す模式図である。
一実施形態に係る端末装置で表示される画面のまた別の一例を表す模式図である。
一実施形態に係る端末装置で表示される画面のまた別の一例を表す模式図である。
一実施形態に係る端末装置で表示される画面のまた別の一例を表す模式図である。
一実施形態に係る端末装置で表示される画面のまた別の一例を表す模式図である。
一実施形態に係るシステムにより紹介状を生成する手順を説明する図である。
一実施形態に係るシステムにより紹介状を生成する手順を説明する図である。
変形例に係るシステムにおける処理流れの一例を示すフローチャートである。
【発明を実施するための形態】
(【0011】以降は省略されています)
この特許をJ-PlatPat(特許庁公式サイト)で参照する
関連特許
個人
破裂爆発波動体感バルーン
1か月前
株式会社白鳩
音漏れ抑制マスク
1か月前
株式会社白鳩
音漏れ抑制マスク
1か月前
株式会社豊田中央研究所
吸音構造体
4日前
本田技研工業株式会社
車室環境制御装置
今日
川崎重工業株式会社
表面材
1か月前
日本音響エンジニアリング株式会社
騒音低減装置
1か月前
株式会社東芝
吸音装置
2日前
株式会社イノアックコーポレーション
吸音材
23日前
株式会社フジタ
環境音快音化システム
1か月前
個人
歌唱技術表示装置および歌唱技術表示方法
1か月前
積水樹脂株式会社
吸音シート
今日
株式会社第一興商
カラオケ装置
1か月前
株式会社第一興商
カラオケ装置
4日前
カシオ計算機株式会社
減音器具
2日前
カシオ計算機株式会社
減音器具
2日前
KDDI株式会社
認証装置、認証方法及び認証プログラム
23日前
株式会社第一興商
カラオケ装置
24日前
株式会社第一興商
カラオケ装置
今日
中原大學
能動騒音除去機能を持つレンジフード
4日前
カシオ計算機株式会社
電子鍵盤楽器
今日
株式会社JVCケンウッド
クリッピング装置及びクリッピング方法
4日前
トヨタ自動車株式会社
電気自動車
24日前
カシオ計算機株式会社
電子楽器、電子楽器の制御方法及びプログラム
今日
トヨタ自動車株式会社
運転者認知機能改善システム
今日
ローランド株式会社
打楽器および打面の形成方法
1か月前
株式会社東芝
吸音装置及び音響メタマテリアル
2日前
カシオ計算機株式会社
演奏装置、方法およびプログラム
1日前
カシオ計算機株式会社
制御装置、方法およびプログラム
4日前
カシオ計算機株式会社
演奏装置、方法およびプログラム
2日前
カシオ計算機株式会社
制御装置、方法およびプログラム
4日前
ローランド株式会社
打楽器および取付部材の取付方法
1か月前
株式会社プレシジョン
プログラム、情報処理装置及び方法
今日
株式会社日立製作所
ノイズ低減方法、装置、電子機器及び可読媒体
1日前
株式会社デンソーエレクトロニクス
車両用音出力装置
2日前
カシオ計算機株式会社
情報処理装置、方法およびプログラム
今日
続きを見る
他の特許を見る