TOP
|
特許
|
意匠
|
商標
特許ウォッチ
Twitter
他の特許を見る
公開番号
2025145780
公報種別
公開特許公報(A)
公開日
2025-10-03
出願番号
2024046159
出願日
2024-03-22
発明の名称
印刷制御プログラム、印刷システム、及び印刷物生産方法
出願人
セイコーエプソン株式会社
代理人
個人
,
個人
,
個人
主分類
G06F
3/12 20060101AFI20250926BHJP(計算;計数)
要約
【課題】汎用プリンタードライバーを用いた印刷処理を行う環境において、画像の差分を利用してプリンターに送信するデータ量を削減して印刷を行うことが可能な印刷制御プログラムを提供する。
【解決手段】本開示の一態様にかかる印刷制御プログラムは、コンピューターに取得処理、差分処理、及び第1指示処理を実行させる。取得処理は、汎用プリンタードライバー16から印刷データを取得する。差分処理は、過去に取得した印刷データである第1印刷データと新たに取得した印刷データである第2印刷データとの間の差分データを算出する。第1指示処理は、差分データをプリンターに送信し、プリンターに第1印刷データに差分データを合成した合成データに基づく印刷を実行させる。
【選択図】図1
特許請求の範囲
【請求項1】
汎用プリンタードライバーから印刷データを取得する取得処理と、
過去に取得した印刷データである第1印刷データと新たに取得した印刷データである第2印刷データとの間の差分データを算出する差分処理と、
前記差分データをプリンターに送信し、前記プリンターに前記第1印刷データに前記差分データを合成した合成データに基づく印刷を実行させる第1指示処理と、
をコンピューターに実行させる印刷制御プログラム。
続きを表示(約 1,000 文字)
【請求項2】
前記印刷制御プログラムは、Print Support Applicationである、
請求項1に記載の印刷制御プログラム。
【請求項3】
前記コンピューターに、
前記プリンターが前記差分データの合成が可能な第1装置であるか前記差分データの合成が不可能な第2装置であるかを判定する判定処理と、
前記プリンターが前記第2装置であると判定された場合に、前記プリンターに前記差分データを送信せず前記第2印刷データを送信し、前記第2印刷データに基づく印刷を実行させる第2指示処理と、
をさらに実行させ、
前記第1指示処理は、前記プリンターが前記第1装置であると判定された場合に、前記コンピューターに実行させる処理である、
請求項1又は2に記載の印刷制御プログラム。
【請求項4】
前記第1印刷データと前記第2印刷データとは同じ文書ファイルの連続するページの印刷データである、
請求項1又は2に記載の印刷制御プログラム。
【請求項5】
前記差分処理は、予め定められた複数の算出方法のうち最も前記差分データのデータ量が小さくなる算出方法で、前記差分データを算出する、
請求項1又は2に記載の印刷制御プログラム。
【請求項6】
プリンターと、端末装置と、を備え、
前記端末装置は、
汎用プリンタードライバーと、
前記汎用プリンタードライバーから印刷データを取得する取得処理部と、
過去に取得した印刷データである第1印刷データと新たに取得した印刷データである第2印刷データとの間の差分データを算出する差分処理部と、
前記差分データを前記プリンターに送信し、前記プリンターに前記第1印刷データに前記差分データを合成した合成データに基づく印刷を実行させる指示処理部と、
を備える、
印刷システム。
【請求項7】
汎用プリンタードライバーから印刷データを取得する取得処理と、
過去に取得した印刷データである第1印刷データと新たに取得した印刷データである第2印刷データとの間の差分データを算出する差分処理と、
前記差分データをプリンターに送信し、前記プリンターが前記第1印刷データに前記差分データを合成した合成データに基づく印刷を実行し、印刷物を生産する印刷処理と、
を含む印刷物生産方法。
発明の詳細な説明
【技術分野】
【0001】
本開示は、印刷制御プログラム、印刷システム、及び印刷物生産方法に関する。
続きを表示(約 1,700 文字)
【背景技術】
【0002】
特許文献1には、OS(Operating System)標準の印刷プログラムであるOS標準のプリンタードライバーが組み込まれた情報処理装置において、ブックレット印刷をプリンターに行わせる技術が開示されている。
【先行技術文献】
【特許文献】
【0003】
特開2021-56754号公報
【発明の概要】
【発明が解決しようとする課題】
【0004】
ところで、画像の差分を利用してプリンターに送信するデータ量を削減するような印刷処理も汎用的な処理とは言えず、OS標準のプリンタードライバーのような汎用プリンタードライバーでは対応していない。よって、汎用プリンタードライバーを用いた印刷処理を行う環境において、画像の差分を利用してプリンターに送信するデータ量を削減して印刷を行うことを可能にする技術の開発が望まれる。
【課題を解決するための手段】
【0005】
本開示の一態様にかかる印刷制御プログラムは、汎用プリンタードライバーから印刷データを取得する取得処理と、過去に取得した印刷データである第1印刷データと新たに取得した印刷データである第2印刷データとの間の差分データを算出する差分処理と、前記差分データをプリンターに送信し、前記プリンターに前記第1印刷データに前記差分データを合成した合成データに基づく印刷を実行させる第1指示処理と、をコンピューターに実行させるものである。
【0006】
本開示の一態様にかかる印刷システムは、プリンターと、端末装置と、を備え、前記端末装置は、汎用プリンタードライバーと、前記汎用プリンタードライバーから印刷データを取得する取得処理部と、過去に取得した印刷データである第1印刷データと新たに取得した印刷データである第2印刷データとの間の差分データを算出する差分処理部と、前記差分データを前記プリンターに送信し、前記プリンターに前記第1印刷データに前記差分データを合成した合成データに基づく印刷を実行させる指示処理部と、を備える、ものである。
【0007】
本開示の一態様にかかる印刷物生産方法は、汎用プリンタードライバーから印刷データを取得する取得処理と、過去に取得した印刷データである第1印刷データと新たに取得した印刷データである第2印刷データとの間の差分データを算出する差分処理と、前記差分データをプリンターに送信し、前記プリンターが前記第1印刷データに前記差分データを合成した合成データに基づく印刷を実行し、印刷物を生産する印刷処理と、を含むものである。
【図面の簡単な説明】
【0008】
実施の形態にかかる印刷システムの一構成例を示すブロック図である。
図1の印刷システムにおける生成処理の一例を説明するためのシーケンス図である。
図1の印刷システムにおける低データ量印刷処理の第1例を説明するためのシーケンス図である。
図3の低データ量印刷処理で表示されるユーザーインターフェイス画像の一例を示す図である。
図3の低データ量印刷処理における差分処理の一例を示す模式図である。
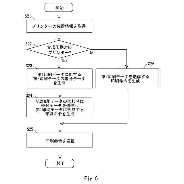
図1の印刷システムにおける低データ量印刷処理の第2例を説明するためのフロー図である。
装置のハードウェア構成の一例を示す図である。
【発明を実施するための形態】
【0009】
以下、図面を参照して本発明の実施の形態について説明する。なお、各図は、本発明の実施の形態を説明するための例示に過ぎない。また、本発明の実施の形態で説明する構成要素の全てが本発明の必須の構成要件とは限らない。
【0010】
(実施の形態)
[システムの構成]
本実施の形態にかかる印刷システムの一構成例について、図1を用いて説明する。図1は、本実施の形態にかかる印刷システムの一構成例を示すブロック図である。
(【0011】以降は省略されています)
この特許をJ-PlatPat(特許庁公式サイト)で参照する
関連特許
個人
工程設計支援装置
1か月前
個人
QRコードの彩色
今日
個人
フラワーコートA
2か月前
個人
地球保全システム
9日前
個人
為替ポイント伊達夢貯
1か月前
個人
冷凍食品輸出支援構造
1か月前
個人
介護情報提供システム
2か月前
個人
表変換編集支援システム
29日前
個人
携帯情報端末装置
1か月前
個人
残土処理システム
2日前
個人
知的財産出願支援システム
3日前
個人
結婚相手紹介支援システム
1か月前
個人
知財出願支援AIシステム
1か月前
個人
行動時間管理システム
1か月前
個人
AIによる情報の売買の仲介
1か月前
個人
パスワード管理支援システム
29日前
個人
アンケート支援システム
2か月前
個人
パスポートレス入出国システム
1か月前
日本精機株式会社
施工管理システム
1か月前
個人
システム及びプログラム
22日前
株式会社キーエンス
受発注システム
8日前
個人
食品レシピ生成システム
8日前
個人
AIキャラクター制御システム
29日前
株式会社キーエンス
受発注システム
8日前
株式会社キーエンス
受発注システム
8日前
個人
海外支援型農作物活用システム
21日前
株式会社アジラ
進入判定装置
1か月前
個人
SaaS型勤務調整支援システム
29日前
個人
人格進化型対話応答制御システム
29日前
個人
冷凍加工連携型農場運用システム
1か月前
個人
ジェスチャーパッドのガイド部材
2か月前
個人
音声対話型帳票生成支援システム
29日前
サクサ株式会社
中継装置
2か月前
個人
帳票自動生成型SaaSシステム
3日前
個人
音声・通知・再配達UX制御構造
3日前
個人
社会還元・施設向け供給支援構造
29日前
続きを見る
他の特許を見る