TOP
|
特許
|
意匠
|
商標
特許ウォッチ
Twitter
他の特許を見る
公開番号
2025146009
公報種別
公開特許公報(A)
公開日
2025-10-03
出願番号
2024046572
出願日
2024-03-22
発明の名称
圧着端子
出願人
FDK株式会社
代理人
個人
,
個人
,
個人
主分類
H01R
4/06 20060101AFI20250926BHJP(基本的電気素子)
要約
【課題】ねじを用いずに取り付けられる構造を有した圧着端子の提供。
【解決手段】圧着端子1は導電性と加工性とを兼ね備えた材料からなり、その舌部3には、これを貫通する孔4と、孔4から舌部3の外周側に向かって放射状に切り欠かれた複数のスリット5と、スリット5により区画されてなる複数の羽根6とが設けられており、個々の羽根6は、その先端部から下方に折れて突出した突起部7を有している。結線先には、開口部より奥側の方が径の大きい取付穴が予め設けられており、圧着端子1の取付時には、舌部3が取付穴に対して位置決めされ、取付工具がその先端部を孔4に合わせた状態で下方に押し込まれる。その結果、羽根6が塑性変形して羽根6と突起部7とで取付穴の縁板を挟み込んで突起部7が縁板に係合することで、舌部3が結線される。このように、圧着端子1は、ねじを用いることなく取付工具で押し込むだけで容易に結線先に取り付けることができる。
【選択図】図1
特許請求の範囲
【請求項1】
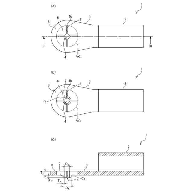
電線が圧着されるバレル部と、
前記バレル部の一端部から略平板状に広がった、結線先に設けられた取付穴に取り付けられる舌部と
を備え、
前記舌部は、自己を上下に貫通する孔と、前記孔から放射状に切り欠かれた3以上のスリットと、前記スリットにより区画されてなる前記スリットと同数の羽根と、個々の前記羽根における前記孔に面する端部から下方に屈曲した突起部とを有していることを特徴とする圧着端子。
続きを表示(約 320 文字)
【請求項2】
請求項1に記載の圧着端子において、
前記突起部は、前記端部から略直角に屈曲していることを特徴とする圧着端子。
【請求項3】
請求項1又は2に記載の圧着端子において、
前記羽根及び前記スリットは、前記孔の中心軸について略回転対称な形状をなしていることを特徴とする圧着端子。
【請求項4】
請求項3に記載の圧着端子において、
前記舌部は、平面視において前記孔を中心とする仮想円の外側の領域をなす外周部を有しており、
前記スリットは、前記孔から前記外周部の内周まで切り欠かれ、
前記羽根は、前記外周部から内方に伸びていることを特徴とする圧着端子。
発明の詳細な説明
【技術分野】
【0001】
本発明は、機器等と電線とを結線するための圧着端子、特に、機器等に設けられた穴に取り付けられる圧着端子に関する。
続きを表示(約 1,600 文字)
【背景技術】
【0002】
従来、機器等に設けられた穴に取り付けられる圧着端子として、丸形の圧着端子(丸端子、丸型端子、リング端子、R端子とも称される)が広く普及している。丸形の圧着端子は、挿入された電線が圧着されて強固に固定される筒状の部位(以下、「バレル部」と称する。)と、機器に結線される部位(以下、「舌部」と称する。)とを有しており、舌部には貫通孔が設けられている。この貫通孔に通されるねじが締め付けられることで、圧着端子が機器側の穴に固定される。
【0003】
特許文献1には、使用時の作業性を向上するために、板材を屈曲して合わせ目に間隙を形成しながら筒状にし、これを覆うように圧縮つる巻バネを設けて圧着部(バレル部に相当)とし、つる巻バネの収縮力により圧着部の筒状を圧潰することにより電線と圧着端子とを圧着係止するようにした圧着端子が開示されている。
【先行技術文献】
【特許文献】
【0004】
特開2007-287447号公報
【発明の概要】
【発明が解決しようとする課題】
【0005】
上述した先行技術によれば、特殊な圧着工具がなくても電線をバレル部に圧着することができ、電線を端子に固定する際の作業性は向上すると考えられる。しかしながら、舌部の形状は従来のままで、依然として機器に結線する際にはねじが必要であり、結線する際の作業性には変化がない。
【0006】
ねじで締結する方式は、ねじ部品のコストが掛かるだけでなく、その取付やトルク管理にも工数が掛かることから、低コストで製品開発を実現する上で障害となっており、ねじを用いることなく圧着端子を機器に対して容易に取り付けることができる方式が望まれている。
【0007】
そこで、本発明は、ねじを用いずに取り付けられる構造を有した圧着端子の提供を課題とする。
【課題を解決するための手段】
【0008】
上記の課題を解決するため、本発明の圧着端子は、電線が圧着されるバレル部と、バレル部の一端部から略平板状に広がった、結線先に設けられた取付穴に取り付けられる舌部とを備え、舌部は、自己を上下に貫通する孔と、孔から放射状に切り欠かれた3以上のスリットと、スリットにより区画されてなるスリットと同数の羽根と、個々の羽根における孔に面する端部から下方に屈曲した突起部とを有している。なお、本発明の圧着端子に対応して、結線先には予め、開口部の径よりもその奥側の径が大きい取付穴が設けられる。
【発明の効果】
【0009】
本発明の圧着端子の取付時には、結線先の取付穴に突起部を収めるようにして位置を決定した上で、取付工具の先端部を孔に合わせた状態で取付工具が下方にしっかりと押し込まれる。これにより、羽根が取付穴の開口に沿って下方に折れ曲がり、これに伴って突起部が側方に向くことで、舌部が羽根と突起部とで取付穴の縁板を挟み込むような形状に塑性変形し、結果として突起部が縁板に係合する。したがって、本発明によれば、ねじを用いることなく、圧着端子を結線先に容易に取り付けることができる。
【図面の簡単な説明】
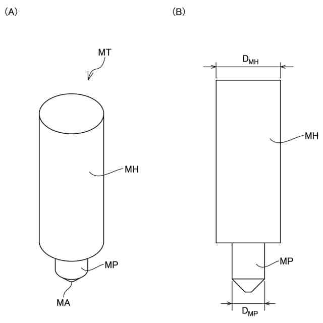
【0010】
圧着端子1を単体で示す図(1/2)である。
結線先CDに設けられる取付穴HLの一例を示す図である。
圧着端子1を単体で示す図(2/2)である。
取付工具MTを示す図である。
圧着端子1の結線先CDへの取付前後の様子を示す連続図である。
結線先CDに取り付けられた状態の圧着端子1を示す図である。
圧着端子の様々な変形例を示す図である。
【発明を実施するための形態】
(【0011】以降は省略されています)
この特許をJ-PlatPat(特許庁公式サイト)で参照する
関連特許
FDK株式会社
基板
3日前
FDK株式会社
圧着端子
2日前
FDK株式会社
駆動装置
16日前
FDK株式会社
捲回型電池
1か月前
FDK株式会社
リチウム電池
2日前
FDK株式会社
アルカリ電池
4日前
FDK株式会社
アルカリ電池
6日前
FDK株式会社
リチウム電池
1か月前
FDK株式会社
リチウムイオン電池
25日前
FDK株式会社
リチウムイオン電池
1か月前
FDK株式会社
リチウムイオン電池
1か月前
FDK株式会社
挿入実装部品用台座
1か月前
FDK株式会社
固体電解質及び固体電池
1か月前
FDK株式会社
全固体電池及びその製造方法
16日前
FDK株式会社
電極、電池及び電極の製造方法
16日前
FDK株式会社
ニッケル水素電池及びニッケル水素電池の製造方法
25日前
個人
安全なNAS電池
1か月前
日本発條株式会社
積層体
6日前
東レ株式会社
多孔質炭素シート
25日前
個人
フリー型プラグ安全カバー
1か月前
ローム株式会社
半導体装置
25日前
個人
防雪防塵カバー
6日前
キヤノン株式会社
電子機器
25日前
ローム株式会社
半導体装置
2日前
ローム株式会社
半導体装置
4日前
エイブリック株式会社
半導体装置
27日前
ローム株式会社
半導体装置
4日前
エイブリック株式会社
半導体装置
27日前
ローム株式会社
半導体装置
4日前
個人
半導体パッケージ用ガラス基板
5日前
オムロン株式会社
電磁継電器
1か月前
太陽誘電株式会社
全固体電池
2日前
株式会社ティラド
面接触型熱交換器
17日前
沖電気工業株式会社
アンテナ
1か月前
株式会社ホロン
冷陰極電子源
2日前
東レ株式会社
ガス拡散層の製造方法
25日前
続きを見る
他の特許を見る