TOP
|
特許
|
意匠
|
商標
特許ウォッチ
Twitter
他の特許を見る
公開番号
2025146531
公報種別
公開特許公報(A)
公開日
2025-10-03
出願番号
2024047364
出願日
2024-03-22
発明の名称
アンモニア処理設備、発電設備
出願人
一般財団法人電力中央研究所
代理人
個人
,
個人
主分類
C25B
3/09 20210101AFI20250926BHJP(電気分解または電気泳動方法;そのための装置)
要約
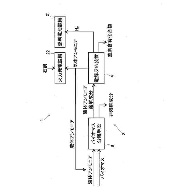
【課題】アンモニアをより有効に使用する。
【解決手段】バイオマス分離手段5により、バイオマスを、液体に溶解する溶解成分、及び、非溶解成分に分離し、バイオマス分離手段5で生成された、溶解成分が溶解した液体アンモニアを電解反応装置4の電解液とし、電解反応装置4で、溶解成分に含まれる有機物を電解して窒素含有化合物を得る。
【選択図】図1
特許請求の範囲
【請求項1】
アンモニアを主成分とする媒体を用いて、有機物を含む被溶解部材を、液体に溶解する溶解成分、及び、非溶解成分に分離する処理を行う分離手段と、
前記溶解成分が溶媒としてのアンモニアに溶解した電解液を電解することで、前記溶解成分に含まれる有機物から窒素含有化合物を含む液体アンモニアを得る電解手段とを備えた
ことを特徴とするアンモニア処理設備。
続きを表示(約 1,100 文字)
【請求項2】
請求項1に記載のアンモニア処理設備において、
前記分離手段で溶解成分と、非溶解成分とに分離される被溶解部材は、バイオマスである
ことを特徴とする電解反応装置。
【請求項3】
請求項1に記載のアンモニア処理設備において、
前記電解手段で得られた、前記窒素含有化合物を含む液体アンモニアを利用する消費手段を備えた
ことを特徴とするアンモニア処理設備。
【請求項4】
請求項3に記載のアンモニア処理設備において、
前記窒素含有化合物を含む液体アンモニアを気化する気化手段を備え、
前記消費手段は、
前記気化手段で気化された気体アンモニアを利用する物を含む
ことを特徴とするアンモニア処理設備。
【請求項5】
請求項4に記載のアンモニア処理設備において、
前記電解手段で電解還元された水素(H
2
)を消費する水素消費手段を備えた
ことを特徴とするアンモニア処理設備。
【請求項6】
請求項1に記載のアンモニア処理設備において、
前記有機物は、
少なくとも、アルキル基、アルデヒド基、カルボキシル基、アミノ基、イミド基、ヒドロキシル基、カルボニル基、エーテル基、ニトロ基、スルホ基
のいずれか一つの官能基を持つ脂肪族化合物または芳香族化合物である
ことを特徴とするアンモニア処理設備。
【請求項7】
請求項1に記載のアンモニア処理設備において、
前記有機物は、
少なくとも、糖、タンパク質、脂質、リグニン、抽出成分、無機物、ビタミンのいずれか一つを含む
ことを特徴とするアンモニア処理設備。
【請求項8】
請求項6に記載のアンモニア処理設備において、
前記有機物は、
少なくとも、m-メチルアニソール、m-アニスアルデヒド、プロピルベンゼン、ヘキサナール、安息香酸、p-クマル酸のいずれか一つを含む有機物である
ことを特徴とするアンモニア処理設備。
【請求項9】
請求項1に記載のアンモニア処理設備において、
前記窒素含有化合物は、
少なくとも、アミン、イミン、ニトリル、アミド、イミドのいずれか一つを含む
ことを特徴とするアンモニア処理設備。
【請求項10】
請求項4に記載のアンモニア処理設備と、
前記消費手段としての燃焼手段と、
前記燃焼手段で得られた高温・高圧流体を膨張させて発電動力を得る発電手段とを備えた
ことを特徴とする発電設備。
(【請求項11】以降は省略されています)
発明の詳細な説明
【技術分野】
【0001】
本発明は、アンモニアをより有効に使用することができるアンモニア処理設備、及び、アンモニア処理設備を用いた発電設備に関する。
続きを表示(約 1,400 文字)
【背景技術】
【0002】
カーボンニュートラル社会の推進に向けて、水素(H
2
)利用の拡大が期待されている。水素利用の拡大においては、効率的な水素の輸送・貯蔵を可能とする媒体(キャリア)が不可欠であり、その一つとして、輸送・貯蔵性に優れるアンモニアが知られている(例えば、特許文献1)。
【0003】
一方、被溶解部材であるバイオマスを、リグニン等の成分と糖類等の成分に分離する前処理が種々提案されている。その一つとしてアンモニアを用いた処理(液体アンモニア処理)を施すことが考えられる。液体アンモニア処理を施すことで、バイオマスを有効に利用することが可能になる。
【0004】
アンモニアを被溶解部材であるバイオマスの処理に利用することで、バイオマスの有効利用と水素(H
2
)のキャリアとしてのアンモニアの有効利用を両立させることができる。近年のカーボンニュートラル社会を推進するために、資源であるアンモニアを更に有効に利用することが求められてきている。
【先行技術文献】
【特許文献】
【0005】
特開2022-157170号公報
【発明の概要】
【発明が解決しようとする課題】
【0006】
本発明は上記状況に鑑みてなされたもので、アンモニアを用いた被溶解部材(バイオマス)の処理において、より有効にアンモニアを使用することができるアンモニア処理設備を提供することを目的とする。
【0007】
本発明は上記状況に鑑みてなされたもので、アンモニアを用いた被溶解部材(バイオマス)の処理において、より有効にアンモニアを使用することができるアンモニア処理設備が備えられた発電設備を提供することを目的とする。
【課題を解決するための手段】
【0008】
上記目的を達成するための請求項1に係る本発明のアンモニア処理設備は、アンモニアを主成分とする媒体を用いて、有機物を含む被溶解部材を、液体に溶解する溶解成分、及び、非溶解成分に分離する処理を行う分離手段と、前記溶解成分が溶媒としてのアンモニアに溶解した電解液を、電解することで前記溶解成分に含まれる有機物から窒素含有化合物を含む液体アンモニアを得る電解手段とを備えたことを特徴とする。
【0009】
請求項1に係る本発明では、分離手段により、有機物を含む被溶解部材を、液体に溶解する溶解成分、及び、非溶解成分に分離し、分離手段で生成された、溶解成分が溶解した液体アンモニアを電解手段の電解液とし、電解手段で、溶解成分に含まれる有機物から窒素含有化合物を含む液体アンモニアを得ることができる。これにより、より有効にアンモニアを使用することができ、しかも、有機物を含む被溶解部材の付加価値を高めることができる。
【0010】
アンモニアが主成分とされる溶媒(液体アンモニア)に対象物が溶解された電解液(窒素源)の中で電解することで、対象物から窒素含有化合物を得ることができる。つまり、アンモニアを有効に利用し、窒素源として毒性の高い物質(CuCN、NaCN)を使用することなく、常温で、アミン、イミン、ニトリル、アミド、イミドなどの窒素含有化合物を得ることができる。
(【0011】以降は省略されています)
特許ウォッチbot のツイートを見る
この特許をJ-PlatPat(特許庁公式サイト)で参照する
関連特許
有限会社 ナプラ
端子
1か月前
株式会社カネカ
電解装置
1か月前
株式会社ノーリツ
電解水生成装置
1か月前
SMD株式会社
めっき処理装置
1か月前
大同特殊鋼株式会社
触媒合金
1か月前
株式会社カネカ
可撓性ガス拡散電極
8日前
本田技研工業株式会社
電解装置
19日前
株式会社東芝
アルマイト処理方法
28日前
本田技研工業株式会社
水電解システム
1か月前
本田技研工業株式会社
水電解スタック
4日前
本田技研工業株式会社
水電解システム
1か月前
本田技研工業株式会社
水電解システム
1か月前
一般財団法人電力中央研究所
電解反応装置
4日前
本田技研工業株式会社
CO2電解装置
4日前
本田技研工業株式会社
電気化学スタック
27日前
トヨタ自動車株式会社
水電解スタック
1か月前
本田技研工業株式会社
電解セルの製造方法
12日前
株式会社村田製作所
電子部品及びその製造方法
1か月前
株式会社SOKEN
電解セル
1か月前
NOK株式会社
セルユニット
8日前
NOK株式会社
セルユニット
8日前
ナミックス株式会社
銅部材
20日前
株式会社神戸製鋼所
導電材料およびその製造方法
28日前
睦技研株式会社
バレルめっき装置
1か月前
NOK株式会社
セルユニット
8日前
NOK株式会社
セルユニット
8日前
株式会社豊田中央研究所
電極
8日前
東京瓦斯株式会社
水電解システム
15日前
株式会社豊田中央研究所
アルミニウム電析方法
2か月前
東京瓦斯株式会社
水電解システム
1か月前
東京瓦斯株式会社
水電解システム
1か月前
東京瓦斯株式会社
水電解システム
1か月前
株式会社アイシン
水電解装置
1か月前
株式会社SCREENホールディングス
前処理方法およびセル
1か月前
本田技研工業株式会社
電気化学式水素昇圧システム
4日前
三菱マテリアル株式会社
酸性電解銅めっき液
18日前
続きを見る
他の特許を見る