TOP
|
特許
|
意匠
|
商標
特許ウォッチ
Twitter
他の特許を見る
10個以上の画像は省略されています。
公開番号
2025146923
公報種別
公開特許公報(A)
公開日
2025-10-03
出願番号
2025124928,2023554212
出願日
2025-07-25,2021-10-22
発明の名称
装置、方法、およびプログラム
出願人
日本電気株式会社
代理人
個人
,
個人
主分類
G06F
21/57 20130101AFI20250926BHJP(計算;計数)
要約
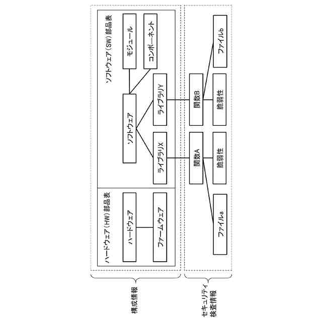
【課題】 通信システムのセキュリティリスクを詳細に診断するために必要な通信システムの仮想モデルを提供する。
【解決手段】 取得部(11)は、通信システムを構成する構成機器に対する情報セキュリティ検査の検査結果を取得し、抽出部(12)は、検査結果から、構成機器が利用するライブラリ関数を示す第1の情報、およびライブラリ関数を通じたファイルへのアクセスの有無を示す第2の情報のうち少なくとも一方を含むセキュリティ検査情報を抽出し、生成部(13)は、情報通信機器の構成部品を特定する構成情報およびセキュリティ検査情報を用いて、通信システムの仮想モデルを生成する。
【選択図】 図2
特許請求の範囲
【請求項1】
システムを構成する機器に関する情報セキュリティ検査の検査結果を表すセキュリティ検査情報と、ハードウェア部品表とソフトウェア部品表とを含む構成情報とから、前記機器に含まれるライブラリを表す情報と、前記ライブラリにて用いられる関数に関する脆弱性を表す情報と、前記機器を表す情報とが関連付けされたモデルを生成し、
作成したモデルを用いて前記システムに関するセキュリティリスクを診断する、
装置。
続きを表示(約 1,000 文字)
【請求項2】
前記構成情報、及び、前記セキュリティ検査情報は、それぞれ、前記機器を特定する機器IDを含み、
前記構成情報に含まれる前記機器IDと、前記セキュリティ検査情報に含まれる前記機器IDとの間の対応関係に基づいて、前記モデルを生成する
請求項1に記載の装置。
【請求項3】
前記システムのデジタル複製であるところの前記モデルを用いて、所定のサイバー攻撃手法を用いた攻撃シナリオに基づく前記システムに対する攻撃シミュレーションを実施し、
前記攻撃シミュレーションの結果に基づいて、前記システムに関するセキュリティリスクを診断する
請求項1に記載の装置。
【請求項4】
前記所定のサイバー攻撃手法は、USBに接続される機器を用いた隔離ネットワークへの攻撃を含む
請求項3に記載の装置。
【請求項5】
前記所定のサイバー攻撃手法は、なりすましを含む
請求項3に記載の装置。
【請求項6】
前記攻撃シミュレーションの結果に基づいて、脅威レベル、脆弱性レベル、及び、事業被害レベルを、それぞれ、算出し、算出した脅威レベル、脆弱性レベル、及び、事業被害レベルに基づいて、前記セキュリティリスクの値を算出する
請求項3に記載の装置。
【請求項7】
コンピュータが、
システムを構成する機器に関する情報セキュリティ検査の検査結果を表すセキュリティ検査情報と、ハードウェア部品表とソフトウェア部品表とを含む構成情報とから、前記機器に含まれるライブラリを表す情報と、前記ライブラリにて用いられる関数に関する脆弱性を表す情報と、前記機器を表す情報とが関連付けされたモデルを作成し、
作成したモデルを用いて前記システムに関するセキュリティリスクを診断する
方法。
【請求項8】
システムを構成する機器に関する情報セキュリティ検査の検査結果を表すセキュリティ検査情報と、ハードウェア部品表とソフトウェア部品表とを含む構成情報とから、前記機器に含まれるライブラリを表す情報と、前記ライブラリにて用いられる関数に関する脆弱性を表す情報と、前記機器を表す情報とが関連付けされたモデルを作成する機能と、
作成したモデルを用いて前記システムに関するセキュリティリスクを診断する機能と、
をコンピュータに実現させるプログラム。
発明の詳細な説明
【技術分野】
【0001】
本発明は、データ処理装置、データ処理方法、および記録媒体に関し、特に、通信システムの仮想モデルの生成、および仮想モデルを用いたセキュリティリスクの診断を行うデータ処理装置、データ処理方法、および記録媒体に関する。
続きを表示(約 1,500 文字)
【背景技術】
【0002】
通信システムは、秘匿情報の窃取、保護データの消去、Webサイト改ざん、ウイルス感染、特権ID奪取、あるいはWebサーバへの不正アクセスおよび不正操作など、さまざまなサイバー攻撃の対象となりうる。
【0003】
通信システムを構成する機器のソフトウェア(ソフトウェア部品、ファームウェア、およびミドルウェアを含む)の不具合や設計上のミスが原因となって発生した欠陥を利用して、通信システムに対するサイバー攻撃は実行される。このような欠陥は、ソフトウェアの脆弱性あるいはセキュリティホールと呼ばれる。
【0004】
関連する技術では、脆弱性診断ツールおよび資産管理ツールなどを用いて、通信システムの仮想モデルを生成する。そして、仮想モデルを用いた攻撃シミュレーションを実行することにより、通信システムに対して想定される攻撃ルートを分析する。関連する技術では、仮想環境上で攻撃シミュレーションを実行することができるため、事業活動に影響を及ぼすことがなく、かつ物理的な複製環境を構築するコストを省くことができる。
【先行技術文献】
【特許文献】
【0005】
特許第6307453号
【発明の概要】
【発明が解決しようとする課題】
【0006】
関連する技術により生成される仮想モデルでは、ソフトウェアの脆弱性の詳細が不明である。そのため、関連する技術では、どのような攻撃シナリオによって、通信システムを構成するどの情報通信機器がどのような攻撃を受けた場合に、通信システムに対して攻撃が成立するのかを詳細に診断することは困難である。
【0007】
本発明は、上記の課題に鑑みてなされたものであり、その目的は、通信システムのセキュリティリスクを詳細に診断するために必要な通信システムの仮想モデルを提供することにある。
【課題を解決するための手段】
【0008】
本発明の一態様に係る装置は、システムを構成する機器に関する情報セキュリティ検査の検査結果を表すセキュリティ検査情報と、ハードウェア部品表とソフトウェア部品表とを含む構成情報とから、前記機器に含まれるライブラリを表す情報と、前記ライブラリにて用いられる関数に関する脆弱性を表す情報と、前記機器を表す情報とが関連付けされたモデルを生成し、作成したモデルを用いて前記システムに関するセキュリティリスクを診断する。
【0009】
本発明の一態様に係る方法では、コンピュータが、システムを構成する機器に関する情報セキュリティ検査の検査結果を表すセキュリティ検査情報と、ハードウェア部品表とソフトウェア部品表とを含む構成情報とから、前記機器に含まれるライブラリを表す情報と、前記ライブラリにて用いられる関数に関する脆弱性を表す情報と、前記機器を表す情報とが関連付けされたモデルを作成し、作成したモデルを用いて前記システムに関するセキュリティリスクを診断する。
【0010】
本発明の一態様に係るプログラムは、システムを構成する機器に関する情報セキュリティ検査の検査結果を表すセキュリティ検査情報と、ハードウェア部品表とソフトウェア部品表とを含む構成情報とから、前記機器に含まれるライブラリを表す情報と、前記ライブラリにて用いられる関数に関する脆弱性を表す情報と、前記機器を表す情報とが関連付けされたモデルを作成する機能と、作成したモデルを用いて前記システムに関するセキュリティリスクを診断する機能と、をコンピュータに実現させる。
【発明の効果】
(【0011】以降は省略されています)
この特許をJ-PlatPat(特許庁公式サイト)で参照する
関連特許
日本電気株式会社
分析装置
9日前
日本電気株式会社
学習装置
1か月前
日本電気株式会社
超伝導量子回路
29日前
日本電気株式会社
マルチバンドバラン
27日前
日本電気株式会社
受信器および通信装置
今日
日本電気株式会社
通信装置および通信方法
5日前
日本電気株式会社
量子回路装置と制御方法
9日前
日本電気株式会社
量子回路装置と制御方法
9日前
日本電気株式会社
検知装置および検知方法
9日前
日本電気株式会社
送信装置および通信装置
5日前
日本電気株式会社
光伝送システムおよび方法
1日前
日本電気株式会社
分析方法および分析システム
6日前
日本電気株式会社
端末装置および無線通信方法
20日前
日本電気株式会社
機器冷却装置及びその冷却方法
21日前
日本電気株式会社
プログラム、算出装置、及び方法
21日前
日本電気株式会社
兆候検知装置および兆候検知方法
1日前
日本電気株式会社
演算処理装置および演算処理方法
1日前
日本電気株式会社
共振器及びそれを備えた導波回路
7日前
日本電気株式会社
処理装置、方法、及びプログラム
1か月前
日本電気株式会社
放送用システムおよび字幕作成方法
1日前
日本電気株式会社
推定装置、推定方法及びプログラム
12日前
日本電気株式会社
ピーク抑圧装置及びピーク抑圧方法
19日前
日本電気株式会社
システム及びマイグレーション方法
9日前
日本電気株式会社
推定装置、推定方法及びプログラム
12日前
日本電気株式会社
画像管理システムおよび画像管理方法
7日前
日本電気株式会社
波長可変レーザ装置及びその構成方法
5日前
日本電気株式会社
推定装置、推定方法、及び、記録媒体
6日前
日本電気株式会社
処理装置、処理方法、及びプログラム
9日前
日本電気株式会社
ソーナー装置、通信方法、プログラム
1日前
日本電気株式会社
判定装置、判定方法、及び、プログラム
29日前
日本電気株式会社
管理システム、管理方法及びプログラム
19日前
日本電気株式会社
注文端末、注文受付方法及びプログラム
5日前
日本電気株式会社
通信装置、通信方法及び通信プログラム
6日前
日本電気株式会社
通信システム及びパケット順序補正方法
20日前
日本電気株式会社
判別装置、判別方法、およびプログラム
1日前
日本電気株式会社
予測システム、予測方法及びプログラム
12日前
続きを見る
他の特許を見る