TOP
|
特許
|
意匠
|
商標
特許ウォッチ
Twitter
他の特許を見る
10個以上の画像は省略されています。
公開番号
2025146643
公報種別
公開特許公報(A)
公開日
2025-10-03
出願番号
2024214410
出願日
2024-12-09
発明の名称
シートの処理方法、チップの製造方法及び基板の製造方法
出願人
株式会社ディスコ
代理人
個人
,
個人
,
個人
,
個人
,
個人
,
個人
主分類
H01L
21/301 20060101AFI20250926BHJP(基本的電気素子)
要約
【課題】対象物に固定されたシートの弛みを簡易に抑制することが可能なシートの処理方法を提供する。
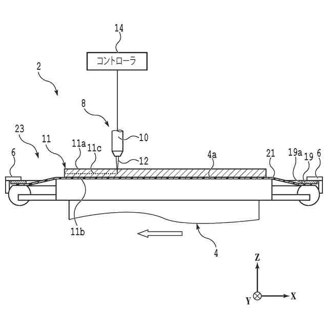
【解決手段】対象物に固定されたシートを処理するシートの処理方法であって、シートが固定された対象物を準備する準備ステップと、シートのうち対象物に固定されていない非固定領域に、光を吸収して発熱する光吸収部材を接触させる光吸収部材配置ステップと、光吸収部材に光を照射して光吸収部材を発熱させることにより、非固定領域を加熱して収縮させる収縮ステップと、を有する。
【選択図】図1
特許請求の範囲
【請求項1】
対象物に固定されたシートを処理するシートの処理方法であって、
該シートが固定された該対象物を準備する準備ステップと、
該シートのうち該対象物に固定されていない非固定領域に、光を吸収して発熱する光吸収部材を接触させる光吸収部材配置ステップと、
該光吸収部材に該光を照射して該光吸収部材を発熱させることにより、該非固定領域を加熱して収縮させる収縮ステップと、を有するシートの処理方法。
続きを表示(約 1,300 文字)
【請求項2】
該シートは、該対象物を配置可能な開口部を有する環状のフレームに固定され、
該非固定領域は、該対象物と該フレームの間で露出する環状の領域である、請求項1に記載のシートの処理方法。
【請求項3】
該対象物を処理する処理ステップをさらに有し、
該収縮ステップでは、該処理ステップにおいて弛みが生じた該非固定領域を収縮させる、請求項1又は2に記載のシートの処理方法。
【請求項4】
該処理ステップでは、該対象物に分割起点を分割予定ラインに沿って形成した後、該シートを拡張することによって該対象物を該分割予定ラインに沿って分割する、請求項3に記載のシートの処理方法。
【請求項5】
該準備ステップでは、中央部に凹部が設けられ、外周部に該凹部を囲む環状の補強部が設けられ、該シートが該凹部及び該補強部に固定された該対象物を準備し、
該処理ステップでは、該対象物から該補強部を分離する、請求項3に記載のシートの処理方法。
【請求項6】
シートが固定された対象物を分割してチップを製造するチップの製造方法であって、
該シートが固定された該対象物を準備する準備ステップと、
該対象物に分割起点を分割予定ラインに沿って形成した後、該シートを拡張することによって該対象物を該分割予定ラインに沿って複数の該チップに分割する処理ステップと、
該シートのうち該対象物に固定されていない非固定領域に、光を吸収して発熱する光吸収部材を接触させる光吸収部材配置ステップと、
該光吸収部材に該光を照射して該光吸収部材を発熱させることにより、該非固定領域を加熱して収縮させる収縮ステップと、を有するチップの製造方法。
【請求項7】
シートが固定された対象物を分割してチップを製造するチップの製造方法であって、
該シートが固定された該対象物を準備する準備ステップと、
該対象物を分割予定ラインに沿って複数の該チップに分割した後、該シートを拡張することによって複数の該チップの間隔を広げる処理ステップと、
該シートのうち該対象物に固定されていない非固定領域に、光を吸収して発熱する光吸収部材を接触させる光吸収部材配置ステップと、
該光吸収部材に該光を照射して該光吸収部材を発熱させることにより、該非固定領域を加熱して収縮させる収縮ステップと、を有するチップの製造方法。
【請求項8】
シートが固定された対象物を加工して基板を製造する基板の製造方法であって、
中央部に凹部が設けられ、外周部に該凹部を囲む環状の補強部が設けられ、該シートが該凹部及び該補強部に固定された該対象物を準備する準備ステップと、
該対象物から該補強部を分離して基板を製造する処理ステップと、
該シートのうち該対象物に固定されていない非固定領域に、光を吸収して発熱する光吸収部材を接触させる光吸収部材配置ステップと、
該光吸収部材に該光を照射して該光吸収部材を発熱させることにより、該非固定領域を加熱して収縮させる収縮ステップと、を有する基板の製造方法。
発明の詳細な説明
【技術分野】
【0001】
本発明は、被加工物に固定されたシートを処理するシートの処理方法、シートが固定された対象物を分割してチップを製造するチップの製造方法、及び、シートが固定された対象物を加工して基板を製造する基板の製造方法に関する。
続きを表示(約 2,000 文字)
【背景技術】
【0002】
デバイスチップの製造プロセスでは、複数のデバイスが形成されたデバイス領域を表面側に備えるウェーハが用いられる。デバイス領域は、格子状に設定された分割予定ライン(ストリート)によって複数の領域に区画されており、複数の領域にそれぞれデバイスが形成されている。このウェーハを分割予定ラインに沿って分割して個片化することにより、デバイスを備えるデバイスチップが得られる。デバイスチップは、携帯電話、パーソナルコンピュータ等の様々な電子機器に組み込まれる。
【0003】
ウェーハの分割には、環状の切削ブレードでウェーハを切削する切削装置が用いられる。また、近年では、レーザー加工によってウェーハを分割するプロセスの開発も進められている。例えば、ウェーハにレーザービームを照射することにより、ウェーハの内部に分割起点として機能する改質層が分割予定ラインに沿って形成される。その後、ウェーハに固定されたシート(保持テープ)を引っ張って拡張することにより、ウェーハに外力が付与される。その結果、ウェーハが改質層を起点として破断し、分割予定ラインに沿って分割される(特許文献1参照)。
【0004】
また、近年では、電子機器の小型化に伴い、デバイスチップの薄型化が求められている。そこで、分割前のウェーハを研削して薄化する加工が実施されることがある。ただし、ウェーハの全体を薄化すると、ウェーハの剛性が低下し、ウェーハの変形や破損が生じやすくなる。これにより、薄化後のウェーハの取り扱いが難しくなる。
【0005】
そこで、ウェーハの裏面側のうちデバイス領域と重なる中央部のみを研削して薄化する、TAIKO研削と称される加工方法が提案されている。TAIKO研削を実施すると、ウェーハの中央部には凹部が形成されるものの、ウェーハの外周部は薄化されずに厚い状態に維持される。その結果、ウェーハの外周部が環状の補強部として機能し、研削後のウェーハの剛性の低下が抑制される(特許文献2参照)。
【先行技術文献】
【特許文献】
【0006】
特開2007-173475号公報
特開2007-19461号公報
【発明の概要】
【発明が解決しようとする課題】
【0007】
ウェーハ等の対象物に分割、研削等の処理を施す際には、対象物の取り扱い(搬送、保持等)の便宜のため、対象物が環状のフレームによって支持される。具体的には、フレームの中央部には円形の開口部が設けられており、対象物はフレームの内側に配置される。そして、対象物及びフレームに粘着テープ等のシート(フィルム)が開口部を覆うように固定される。これにより、対象物がシートを介してフレームによって支持される。
【0008】
しかしながら、対象物にシートが固定された状態で対象物に所定の処理が施されると、シートに弛みが発生することがある。例えば、前述のようにシートの拡張によってウェーハに外力を付与してウェーハを分割するプロセスを実施すると、ウェーハの分割後にシートが伸びたままの状態となり、シートに弛みが生じる。また、ウェーハが複数のチップに分割された後、チップ同士の衝突を生じにくくするために、ウェーハに固定されたシートを拡張してデバイスチップの間隔を広げる処理が行われることがある。この場合にも、同様にシートに弛みが生じる。さらに、前述のTAIKO研削が施されたウェーハを処理する際には、シートがウェーハの裏面側に形成された凹部に押し付けられるように固定される。そして、ウェーハに各種の処理が施された後、最終的にウェーハから外周部(補強部)が分離、除去される。このとき、ウェーハの凹部に固定されていたシートの張りが解放され、シートに弛みが生じることがある。
【0009】
シートに弛みが生じると、その後の対象物の取り扱いに不都合が生じる。例えば、シートの弛みによって対象物がフレームから垂れ下がった状態となり、対象物を所定の収容容器(カセット)に収容することが困難になることがある。また、複数のチップに分割された状態の対象物を弛んだシートで支持して搬送すると、対象物の揺れによってチップ同士が衝突し、チップが損傷するおそれがある。
【0010】
そこで、対象物の処理によってシートに弛みが生じた場合には、シートの弛みが生じている領域(弛み領域)を加熱して収縮(シュリンク)させる処理が施されることがある。具体的には、シートの弛み領域にレーザービーム等の光が照射され、弛み領域が光を吸収して加熱される。これにより、弛み領域が収縮し、シートの弛みが除去される。
(【0011】以降は省略されています)
この特許をJ-PlatPat(特許庁公式サイト)で参照する
関連特許
株式会社ディスコ
ノズル
16日前
株式会社ディスコ
加工装置
16日前
株式会社ディスコ
研削装置
1か月前
株式会社ディスコ
加工方法
17日前
株式会社ディスコ
切削装置
9日前
株式会社ディスコ
加工装置
18日前
株式会社ディスコ
加工装置
1か月前
株式会社ディスコ
切削装置
16日前
株式会社ディスコ
診断方法
6日前
株式会社ディスコ
加工装置
1か月前
株式会社ディスコ
加工装置
25日前
株式会社ディスコ
研磨装置
3日前
株式会社ディスコ
フレーム
16日前
株式会社ディスコ
加工装置
1か月前
株式会社ディスコ
研削装置
2日前
株式会社ディスコ
搬送システム
2日前
株式会社ディスコ
シート貼着装置
17日前
株式会社ディスコ
ノズルユニット
6日前
株式会社ディスコ
加工水供給装置
9日前
株式会社ディスコ
接合強度検査方法
26日前
株式会社ディスコ
液体供給システム
16日前
株式会社ディスコ
ドレッシング方法
1か月前
株式会社ディスコ
ブレーキング装置
2日前
株式会社ディスコ
チャックテーブル
26日前
株式会社ディスコ
切削ブレード治具
6日前
株式会社ディスコ
ドレッシング方法
1か月前
株式会社ディスコ
ウエーハの加工方法
27日前
株式会社ディスコ
被加工物の加工方法
24日前
株式会社ディスコ
ウェーハの製造方法
24日前
株式会社ディスコ
洗浄液供給システム
26日前
株式会社ディスコ
ウエーハの加工装置
1か月前
株式会社ディスコ
被加工物の加工方法
16日前
株式会社ディスコ
砥石及び研削ホイール
1か月前
株式会社ディスコ
洗浄装置及び洗浄方法
1か月前
株式会社ディスコ
測定方法及び測定治具
1か月前
株式会社ディスコ
洗浄装置及び洗浄方法
3日前
続きを見る
他の特許を見る