TOP
|
特許
|
意匠
|
商標
特許ウォッチ
Twitter
他の特許を見る
10個以上の画像は省略されています。
公開番号
2025148654
公報種別
公開特許公報(A)
公開日
2025-10-08
出願番号
2024048883
出願日
2024-03-26
発明の名称
硬貨処理方法、硬貨処理装置及び貨幣処理システム
出願人
グローリー株式会社
代理人
弁理士法人前田特許事務所
主分類
G07F
5/22 20060101AFI20251001BHJP(チェック装置)
要約
【課題】硬貨の払い出しを伴う処理として複数の処理を実行可能な硬貨処理装置を、適正に運用する。
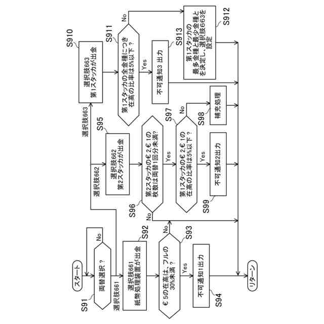
【解決手段】硬貨処理方法は、第1金種の硬貨と第2金種の硬貨とを収納部(第1スタッカ27、第2スタッカ28)に混合収納し、操作部41を通じた操作に応じて、硬貨処理装置2が、収納部から繰り出された第1金種の硬貨を装置の外へ払い出す第1処理又は第2処理を実行し、収納部に収納されている硬貨の全枚数に対する第1金種の硬貨の枚数の比率が所定値を超える場合に、収納部から第1金種の硬貨を繰り出す動作を伴う第1処理及び第2処理の実行を許可し、前記比率が前記所定値以下の場合に、収納部から第1金種の硬貨を繰り出す動作を伴う第1処理及び第2処理のうち、第1処理の実行を禁止する。
【選択図】図6
特許請求の範囲
【請求項1】
第1金種の硬貨と第2金種の硬貨とを収納部に混合収納し、
操作部を通じた操作に応じて、硬貨処理装置が、前記収納部から繰り出された前記第1金種の硬貨を装置の外へ払い出す第1処理又は第2処理を実行し、
前記収納部に収納されている硬貨の全枚数に対する前記第1金種の硬貨の枚数の比率が所定値を超える場合に、前記収納部から前記第1金種の硬貨を繰り出す動作を伴う前記第1処理及び前記第2処理の実行を許可し、
前記比率が前記所定値以下の場合に、前記収納部から前記第1金種の硬貨を繰り出す動作を伴う前記第1処理及び前記第2処理のうち、前記第1処理の実行を禁止する、
硬貨処理方法。
続きを表示(約 1,600 文字)
【請求項2】
前記比率が前記所定値を超える場合に、コントローラが、報知部を通じて、前記第1処理及び前記第2処理の実行可能を報知し、
前記比率が前記所定値以下の場合に、前記コントローラが、前記報知部を通じて、前記第1処理の実行不可を報知する、
請求項1に記載の硬貨処理方法。
【請求項3】
前記比率が前記所定値を超える場合に、コントローラが、前記操作部を通じた前記第1処理又は前記第2処理の選択操作を受け付け、
前記比率が前記所定値以下の場合に、前記コントローラが、前記操作部を通じた前記第1処理の選択操作を受け付けない、
請求項1又は2に記載の硬貨処理方法。
【請求項4】
前記比率が前記所定値以下の場合に、前記収納部から前記第1金種の硬貨を繰り出す動作を伴う前記第1処理の実行を禁止すると共に、前記収納部から前記第2金種の硬貨を繰り出す動作を伴う前記第1処理の実行を許可する、
請求項1~3のいずれか1項に記載の硬貨処理方法。
【請求項5】
前記収納部は、入金された硬貨を収納する第1収納部と、前記第1収納部から繰り出された硬貨であって、装置の外へ払い出すための硬貨を収納する第2収納部とを有し、
前記第1収納部に収納されている硬貨の全枚数に対する前記第1金種の硬貨の枚数の比率が前記所定値を超える場合に、前記第2収納部から前記第1金種の硬貨を繰り出す動作を伴う前記第1処理及び前記第2処理の実行を許可し、
前記比率が前記所定値以下の場合に、前記第2収納部から前記第1金種の硬貨を繰り出す動作を伴う前記第1処理及び前記第2処理のうち、前記第1処理の実行を禁止する、
請求項1~4のいずれか1項に記載の硬貨処理方法。
【請求項6】
前記第1処理は、前記第1金種の硬貨の払い出しを伴う両替処理であり、
前記硬貨処理装置は、前記第1収納部に収納されている硬貨の全枚数に対する前記第1金種の硬貨の枚数の比率が前記所定値を超える場合に、前記第1収納部に繰り出させた前記第1金種の硬貨を含む両替用の硬貨を、前記第2収納部に収納する、
請求項5に記載の硬貨処理方法。
【請求項7】
前記第2処理は釣銭の出金処理であり、
前記第1収納部に収納されている硬貨の全枚数に対する前記第1金種の硬貨の枚数の比率が前記所定値を超える場合であって、前記第2収納部に、釣銭用の硬貨と、前記第1金種の硬貨を含む両替用の硬貨とが収納されている場合に、前記第2収納部から前記第1金種の硬貨を繰り出す動作を伴う前記第1処理及び前記第2処理の実行を許可し、
前記第1収納部に収納されている硬貨の全枚数に対する前記第1金種の硬貨の枚数の比率が前記所定値を超える場合であって、前記第2収納部に、前記第1金種の硬貨を含む両替用の硬貨が収納されていない場合に、前記第2収納部から前記第1金種の硬貨を繰り出す動作を伴う前記第1処理の実行を禁止する、
請求項6に記載の硬貨処理方法。
【請求項8】
前記第2収納部は、前記釣銭用の硬貨として、第1金種の硬貨と第2金種の硬貨とを含む複数金種の硬貨を、所定の枚数比率で収納する、
請求項7に記載の硬貨処理方法。
【請求項9】
前記第1収納部及び前記第2収納部はそれぞれ、第1金種の硬貨と第2金種の硬貨と第3金種の硬貨とを混合収納し、
前記第1収納部に収納されている硬貨の、金種毎の枚数の比率に応じて、最多枚数の金種と最少枚数の金種との間の第2両替処理の実行を許可する、
請求項5~8のいずれか1項に記載の硬貨処理方法。
【請求項10】
前記硬貨処理装置は、前記第2両替処理の実行時に、装置の外へ払い出す硬貨を前記第1収納部から繰り出す、
請求項9に記載の硬貨処理方法。
(【請求項11】以降は省略されています)
発明の詳細な説明
【技術分野】
【0001】
ここに開示する技術は、硬貨処理方法、硬貨処理装置及び貨幣処理システムに関する。
続きを表示(約 1,700 文字)
【背景技術】
【0002】
特許文献1には、従来の自動販売機が記載されている。この従来の自動販売機は、商品を販売する機能の他に、両替機能を有している。自動販売機は、商品の販売時には、必要に応じて釣銭を払い出す。自動販売機はまた、両替処理時には、投入された貨幣に対応する両替硬貨を払い出す。
【0003】
より詳細に説明をすると、従来の自動販売機は、金種別に硬貨を収納している。自動販売機はまた、金種毎の収納枚数の差が発生している場合、釣銭の支払時又は両替硬貨の支払いの際に、収納枚数の少ない高額金種の硬貨にかえて、収納枚数の多い低額金種の硬貨を支払う。従来の自動販売機は、金種毎の硬貨の収納枚数が偏ることを抑制する。
【先行技術文献】
【特許文献】
【0004】
特開2010-198287号公報
【発明の概要】
【発明が解決しようとする課題】
【0005】
前述した従来の自動販売機は、金種毎の硬貨の収納枚数に偏りが生じることを抑制できる。ところが、両替の実行によって釣銭不足が生じると、自動販売機本来の機能である商品の販売を行うことができなくなる。
【0006】
ここに開示する技術は、硬貨の払い出しを伴う処理として複数の処理を実行可能な硬貨処理装置を、適正に運用する。
【課題を解決するための手段】
【0007】
ここに開示する技術は、
第1金種の硬貨と第2金種の硬貨とを収納部に混合収納し、
操作部を通じた操作に応じて、硬貨処理装置が、前記収納部から繰り出された前記第1金種の硬貨を装置の外へ払い出す第1処理又は第2処理を実行し、
前記収納部に収納されている硬貨の全枚数に対する前記第1金種の硬貨の枚数の比率が所定値を超える場合に、前記収納部から前記第1金種の硬貨を繰り出す動作を伴う前記第1処理及び前記第2処理の実行を許可し、
前記比率が前記所定値以下の場合に、前記収納部から前記第1金種の硬貨を繰り出す動作を伴う前記第1処理及び前記第2処理のうち、前記第1処理の実行を禁止する、硬貨処理方法である。
【0008】
硬貨処理装置は第1処理及び第2処理を実行する。第1処理は、第1金種の硬貨を装置の外へ払い出す処理であり、第2処理も、第1金種の硬貨を装置の外へ払い出す処理である。第1処理は、例えば第1金種の硬貨を、両替先の硬貨として払い出す両替処理であってもよい。第2処理は、例えば第1金種の硬貨を、釣銭硬貨として払い出す処理であってもよい。収納部は、第1金種の硬貨と第2金種の硬貨とを混合収納する。
【0009】
収納部に収納されている硬貨の全枚数に対する第1金種の硬貨の枚数の比率が所定値を超える場合、収納部に収納されている第1金種の硬貨の枚数は、比較的多い。第1処理又は第2処理において、第1金種の硬貨が硬貨処理装置から払い出されても、収納部には、十分な量の第1金種の硬貨が残る。この場合、収納部から第1金種の硬貨を繰り出す動作を伴う第1処理及び前記第2処理の実行が許可される。
【0010】
収納部に収納されている硬貨の全枚数に対する第1金種の硬貨の枚数の比率が所定値以下の場合、収納部に収納されている第1金種の硬貨の枚数は、比較的少ない。第1処理において第1金種の硬貨が硬貨処理装置から払い出されると、第1金種の硬貨の枚数の不足によって硬貨処理装置が第2処理を実行できなくなるおそれがある。この場合、収納部から第1金種の硬貨を繰り出す動作を伴う第1処理及び前記第2処理のうち、第1処理の実行が禁止される。第1処理の実行に起因する第1金種の硬貨の枚数の不足が抑制される。なお、収納部から第1金種の硬貨を繰り出す動作を伴う第2処理の実行は許可される。硬貨処理装置において、第2処理の実行は、第1処理の実行よりも優先される。複数の処理を実行可能な硬貨処理装置が、適正に運用される。
(【0011】以降は省略されています)
この特許をJ-PlatPat(特許庁公式サイト)で参照する
関連特許
グローリー株式会社
キオスク端末
8日前
グローリー株式会社
取引システム及び取引方法
6日前
グローリー株式会社
現金処理装置及び現金処理方法
7日前
グローリー株式会社
現金処理装置及び現金処理方法
7日前
グローリー株式会社
現金処理システム及び現金処理方法
7日前
グローリー株式会社
遊技管理システム、各台装置及び遊技管理方法
13日前
グローリー株式会社
賞品交換システム、賞品管理装置及び賞品交換方法
今日
グローリー株式会社
硬貨処理方法、硬貨処理装置及び貨幣処理システム
8日前
グローリー株式会社
物品受渡し装置、及び、物品受渡し装置で行われる方法
今日
グローリー株式会社
磁気ラインセンサ、紙葉類識別装置及び紙葉類処理装置
6日前
グローリー株式会社
硬貨識別装置、硬貨処理装置及び硬貨の静電気の除電方法
6日前
グローリー株式会社
有価媒体処理装置、有価媒体処理システム、および処理方法
6日前
グローリー株式会社
誤操作防止システム、誤操作防止方法及び誤操作防止プログラム
8日前
グローリー株式会社
視覚情報認識システム、視覚情報処理装置、及び、視覚情報処理方法
1日前
グローリー株式会社
金券処理システム、金券処理サーバ、金券処理方法、及び、金券処理プログラム
1日前
グローリー株式会社
浮腫の評価方法、評価装置、学習装置、学習モデル生産方法、学習済みモデル、およびプログラム
6日前
グローリー株式会社
遠隔接客システム、接続サーバ、遠隔接客システムで用いられる方法、及び、遠隔接客プログラム
1日前
株式会社イシダ
商品処理装置
15日前
株式会社バンダイ
物品供給装置
3か月前
株式会社バンダイ
物品供給装置
3か月前
株式会社バンダイ
物品供給装置
3か月前
株式会社バンダイ
物品供給装置
3か月前
富士電機株式会社
通貨識別装置
2か月前
沖電気工業株式会社
媒体処理装置
1か月前
沖電気工業株式会社
媒体処理装置
2か月前
沖電気工業株式会社
施錠開閉装置
8日前
沖電気工業株式会社
紙幣処理装置
1か月前
沖電気工業株式会社
媒体処理装置
1か月前
株式会社ライト
情報処理装置
1か月前
富士電機株式会社
自動販売機
1か月前
株式会社ライト
情報処理装置
2か月前
株式会社ライト
情報処理装置
1か月前
株式会社デンソー
車載器
13日前
富士電機株式会社
金銭処理装置
2か月前
グローリー株式会社
硬貨処理装置
3か月前
グローリー株式会社
物品投出装置
1か月前
続きを見る
他の特許を見る