TOP
|
特許
|
意匠
|
商標
特許ウォッチ
Twitter
他の特許を見る
公開番号
2025153955
公報種別
公開特許公報(A)
公開日
2025-10-10
出願番号
2024056694
出願日
2024-03-29
発明の名称
硬貨識別装置、硬貨処理装置及び硬貨の静電気の除電方法
出願人
グローリー株式会社
代理人
弁理士法人WisePlus
主分類
G07D
11/10 20190101AFI20251002BHJP(チェック装置)
要約
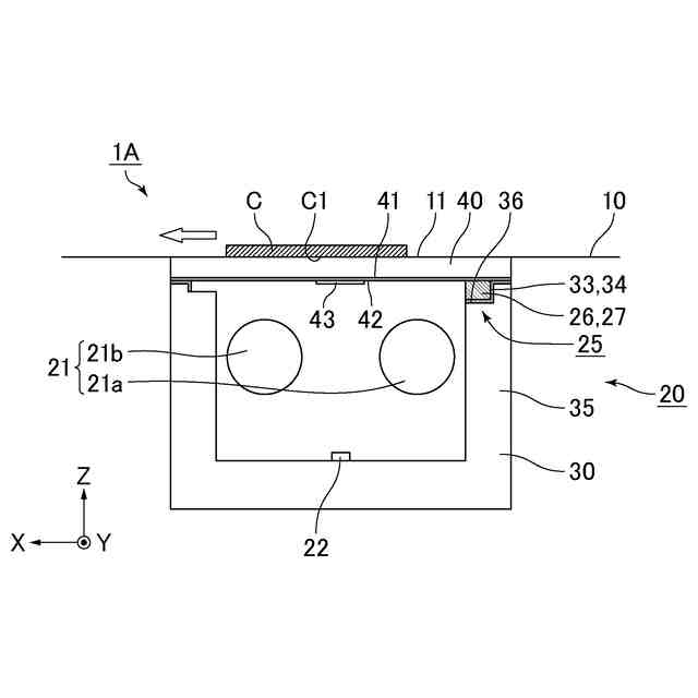
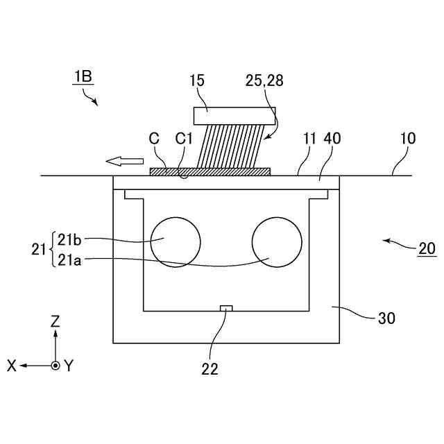
【課題】硬貨の画像データに静電気に起因するノイズが発生するのを抑制することができる硬貨識別装置、硬貨処理装置及び硬貨の静電気の除電方法を提供する。
【解決手段】硬貨が搬送される搬送路と、前記硬貨の一方の硬貨面に対して、主走査方向に延びるライン状の光を照射する発光部と、前記硬貨面で反射した光を受光して画像信号を出力する、前記主走査方向に延びるライン状の受光部と、開口が設けられ、前記発光部及び前記受光部を収納する筐体部と、前記開口を覆い、前記硬貨が搬送される搬送面を形成するカバー部と、を含む硬貨画像取得用ラインセンサと、前記硬貨面で反射した光を前記受光部が受光する際中に前記硬貨の静電気を除電する除電部と、を備える硬貨識別装置である。
【選択図】図2
特許請求の範囲
【請求項1】
硬貨が搬送される搬送路と、
前記硬貨の一方の硬貨面に対して、主走査方向に延びるライン状の光を照射する発光部と、前記硬貨面で反射した光を受光して画像信号を出力する、前記主走査方向に延びるライン状の受光部と、開口が設けられ、前記発光部及び前記受光部を収納する筐体部と、前記開口を覆い、前記硬貨が搬送される搬送面を形成するカバー部と、を含む硬貨画像取得用ラインセンサと、
前記硬貨面で反射した光を前記受光部が受光する際中に前記硬貨の静電気を除電する除電部と、を備える
ことを特徴とする硬貨識別装置。
続きを表示(約 1,000 文字)
【請求項2】
前記カバー部は、前記搬送面と反対側の裏面に設けられた透明導電層を含み、
前記筐体部は、前記カバー部の前記裏面に対向する導電部を含み、
前記除電部は、前記カバー部の前記透明導電層及び前記筐体部の前記導電部を備え、
前記カバー部の前記透明導電層と前記筐体部の前記導電部とが互いに電気的に接続されている
ことを特徴とする請求項1に記載の硬貨識別装置。
【請求項3】
前記透明導電層は、酸化インジウムと酸化スズの混合物を含む
ことを特徴とする請求項2に記載の硬貨識別装置。
【請求項4】
前記除電部は、前記カバー部の前記透明導電層と前記筐体部の前記導電部との間に介在し、前記透明導電層と前記筐体部の前記導電部との電気的接続を確保する導電性部材を更に備える
ことを特徴とする請求項2又は3に記載の硬貨識別装置。
【請求項5】
前記導電性部材は、導電性を有するガスケット、及び/又は、導電性を有する接着剤を含む
ことを特徴とする請求項4に記載の硬貨識別装置。
【請求項6】
前記カバー部は、前記透明導電層上に設けられた反射防止層を更に備える
ことを特徴とする請求項2又は3に記載の硬貨識別装置。
【請求項7】
前記除電部は、前記カバー部の前記搬送面に対向して配置され、前記搬送路を搬送される前記硬貨の少なくとも一部に接触する除電ブラシを備える
ことを特徴とする請求項1に記載の硬貨識別装置。
【請求項8】
前記除電ブラシは、前記受光部と対向して配置される
ことを特徴とする請求項7に記載の硬貨識別装置。
【請求項9】
請求項1又は2に記載の硬貨識別装置を備える
ことを特徴とする硬貨処理装置。
【請求項10】
硬貨画像取得用ラインセンサを備える硬貨識別装置における硬貨の静電気の除電方法であって、
搬送路を搬送される硬貨の一方の硬貨面に対して発光部から、主走査方向に延びるライン状の光を照射するステップと、
前記硬貨面で反射した光を、前記主走査方向に延びるライン状の受光部で受光して画像信号を出力するステップと、
前記硬貨面で反射した光を前記受光部が受光する際中に前記硬貨の静電気を除電するステップと、を備える
ことを特徴とする硬貨の静電気の除電方法。
発明の詳細な説明
【技術分野】
【0001】
本開示は、硬貨識別装置、硬貨処理装置及び硬貨の静電気の除電方法に関する。
続きを表示(約 1,500 文字)
【背景技術】
【0002】
従来、光源から光を照射して、その反射光を受光することによって硬貨の画像を取得し、取得した画像と、そのテンプレートによる比較結果に基づき、硬貨の識別を行う技術が知られている。当該技術によれば、比較結果に基づいて硬貨の種類(金種)の識別や硬貨の汚損を検出することが可能である。
【0003】
このような技術に関して、特許文献1では導光部材を備えたラインセンサで搬送される硬貨の硬貨画像を取得する技術が開示されている。
【0004】
特許文献2には、紙葉類を搬送する搬送路に用いられる帯電除去構造であって、搬送面に対して複数の凹部が形成された非導電性樹脂媒体と、前記搬送面と前記凹部の表面との境界線に到達するように前記複数の凹部を覆う導電性膜と、を備える帯電除去構造が開示されている。
【先行技術文献】
【特許文献】
【0005】
特許第6768573号
特開2012-123684号公報
【発明の概要】
【発明が解決しようとする課題】
【0006】
しかしながら、搬送される硬貨の画像データをラインセンサで取得した場合、その画像データの一部に主走査方向に線状のノイズが発生することがあった。本発明者らがこの現象について詳細に調査したところ、搬送される硬貨に生じた静電気が原因であることが判明した。すなわち、硬貨が搬送路に接した状態で搬送されることで、摩擦が生じ、硬貨が静電気を帯びてしまう。そして、静電気を帯びた硬貨をラインセンサにて撮像する際に、静電気が硬貨からラインセンサのカバー部へ、カバー部からラインセンサの受光部へと順に伝搬し、この静電気ノイズによって当該画像データに抜けが発生することを見出した。
【0007】
なお、特許文献1には硬貨画像センサが開示されており、硬貨の搬送方向上流、搬送方向下流、搬送幅方向の一方と他方の4方向から光を照射することで、鮮明な硬貨画像を得ることが目的として記載されているが、硬貨に生じた静電気に起因する当該硬貨の画像データのノイズを防ぐものではない。
【0008】
特許文献2では、搬送面に対して複数の凹部が形成された非導電性樹脂に、これらの凹部を覆うように導電性膜を形成することで、搬送路で紙葉類に帯電した静電気を導電性膜で吸収し、紙葉類に生じた静電気を除電している。しかしながら、特許文献2に記載の搬送路は凹凸形状に形成されているため、硬貨のように搬送路に接した状態で搬送される媒体に対しては適用ができない。
【0009】
また、硬貨識別装置において搬送される硬貨の画像データをエリアセンサで取得する場合は、上記静電気に起因するノイズは特に認識されていなかった。これは、エリアセンサでは硬貨の搬送面と受光部との間の距離がラインセンサに比べて長く、静電気が受光部まで到達する可能性が低いことが考えられる。また、エリアセンサでは基本的には1回の撮像で硬貨全体の画像データが取得されるのに対して、ラインセンサでは連続的に取得した多数のラインデータを合わせて硬貨全体の画像データが取得される。そのため、エリアセンサを用いた場合はラインセンサを用いた場合に比べて撮像時に静電気によるノイズが侵入する確率が小さいためであると考えられる。
【0010】
本開示は、上記現状に鑑みてなされたものであり、硬貨の画像データに静電気に起因するノイズが発生するのを抑制することができる硬貨識別装置、硬貨処理装置及び硬貨の静電気の除電方法を提供することを目的とするものである。
【課題を解決するための手段】
(【0011】以降は省略されています)
この特許をJ-PlatPat(特許庁公式サイト)で参照する
関連特許
グローリー株式会社
キオスク端末
3日前
グローリー株式会社
取引システム及び取引方法
1日前
グローリー株式会社
現金処理装置及び現金処理方法
2日前
グローリー株式会社
現金処理装置及び現金処理方法
2日前
グローリー株式会社
現金処理システム及び現金処理方法
2日前
グローリー株式会社
遊技管理システム、各台装置及び遊技管理方法
8日前
グローリー株式会社
硬貨処理方法、硬貨処理装置及び貨幣処理システム
3日前
グローリー株式会社
情報管理システム、情報取得方法およびプログラム
9日前
グローリー株式会社
磁気ラインセンサ、紙葉類識別装置及び紙葉類処理装置
1日前
グローリー株式会社
金融店舗システム、及び、金融店舗システムが行う方法
9日前
グローリー株式会社
硬貨識別装置、硬貨処理装置及び硬貨の静電気の除電方法
1日前
グローリー株式会社
有価媒体処理装置、有価媒体処理システム、および処理方法
1日前
グローリー株式会社
紙葉類処理装置、紙葉類処理システムおよび紙葉類処理方法
8日前
グローリー株式会社
誤操作防止システム、誤操作防止方法及び誤操作防止プログラム
3日前
グローリー株式会社
浮腫の評価方法、評価装置、学習装置、学習モデル生産方法、学習済みモデル、およびプログラム
1日前
株式会社イシダ
商品処理装置
10日前
株式会社バンダイ
物品供給装置
3か月前
株式会社バンダイ
物品供給装置
3か月前
株式会社バンダイ
物品供給装置
3か月前
株式会社バンダイ
物品供給装置
3か月前
富士電機株式会社
通貨識別装置
2か月前
沖電気工業株式会社
媒体処理装置
1か月前
沖電気工業株式会社
施錠開閉装置
3日前
沖電気工業株式会社
媒体処理装置
1か月前
沖電気工業株式会社
紙幣処理装置
1か月前
沖電気工業株式会社
媒体処理装置
1か月前
株式会社ライト
情報処理装置
2か月前
株式会社ライト
情報処理装置
1か月前
株式会社ライト
情報処理装置
1か月前
富士電機株式会社
自動販売機
1か月前
富士電機株式会社
金銭処理装置
2か月前
株式会社デンソー
車載器
8日前
グローリー株式会社
物品投出装置
1か月前
グローリー株式会社
硬貨処理装置
3か月前
日本金銭機械株式会社
硬貨処理装置
12日前
株式会社トイスピリッツ
景品提供システム
1か月前
続きを見る
他の特許を見る