TOP
|
特許
|
意匠
|
商標
特許ウォッチ
Twitter
他の特許を見る
10個以上の画像は省略されています。
公開番号
2025153954
公報種別
公開特許公報(A)
公開日
2025-10-10
出願番号
2024056693
出願日
2024-03-29
発明の名称
磁気ラインセンサ、紙葉類識別装置及び紙葉類処理装置
出願人
グローリー株式会社
代理人
弁理士法人WisePlus
主分類
G07D
7/04 20160101AFI20251002BHJP(チェック装置)
要約
【課題】磁気ラインセンサの外部からの振動に起因するノイズを低コストで抑制可能な磁気ラインセンサ、紙葉類識別装置及び紙葉類処理装置を提供する。
【解決手段】搬送される紙葉類の磁気情報を検出する多チャンネル方式の磁気ラインセンサであって、各チャンネルに対して1つずつ設けられ、主走査方向に配列された複数の感磁素子と、前記複数の感磁素子にそれぞれ電気的に接続され、一対の外部電極を各々有する複数のチップ型セラミックコンデンサと、前記複数のチップ型セラミックコンデンサが実装された基板と、を備え、前記複数のチップ型セラミックコンデンサのうちの少なくとも1つは、前記一対の外部電極が前記主走査方向に対して直交する方向に並ぶように配置されている磁気ラインセンサである。
【選択図】図1
特許請求の範囲
【請求項1】
搬送される紙葉類の磁気情報を検出する多チャンネル方式の磁気ラインセンサであって、
各チャンネルに対して1つずつ設けられ、主走査方向に配列された複数の感磁素子と、
前記複数の感磁素子にそれぞれ電気的に接続され、一対の外部電極を各々有する複数のチップ型セラミックコンデンサと、
前記複数のチップ型セラミックコンデンサが実装された基板と、を備え、
前記複数のチップ型セラミックコンデンサのうちの少なくとも1つは、前記一対の外部電極が前記主走査方向に対して直交する方向に並ぶように配置されている
ことを特徴とする磁気ラインセンサ。
続きを表示(約 740 文字)
【請求項2】
前記基板は、前記主走査方向に長尺方向が向いている
ことを特徴とする請求項1に記載の磁気ラインセンサ。
【請求項3】
前記複数の感磁素子にそれぞれ電気的に接続され、前記複数の感磁素子の出力信号をそれぞれ増幅する複数の第1の増幅回路と、
前記複数のチップ型セラミックコンデンサを介して前記複数の第1の増幅回路にそれぞれ電気的に接続され、前記複数の第1の増幅回路の出力信号をそれぞれ増幅する複数の第2の増幅回路と、を更に備える
ことを特徴とする請求項1又は2に記載の磁気ラインセンサ。
【請求項4】
固定手段により前記基板が取り付けられるフレームを更に備え、
前記基板には前記固定手段が挿入される貫通孔が設けられ、
前記複数のチップ型セラミックコンデンサのうち、前記貫通孔に最も近いチップ型セラミックコンデンサは、前記一対の外部電極が前記主走査方向に対して直交する方向に並ぶように配置されている
ことを特徴とする請求項1又は2に記載の磁気ラインセンサ。
【請求項5】
前記複数のチップ型セラミックコンデンサは全て、前記一対の外部電極が前記主走査方向に対して直交する方向に並ぶように配置されている
ことを特徴とする請求項1又は2に記載の磁気ラインセンサ。
【請求項6】
請求項1又は2に記載の磁気ラインセンサと、
前記磁気ラインセンサに隣接配置された厚み検知センサと、を備える
ことを特徴とする紙葉類識別装置。
【請求項7】
請求項6に記載の紙葉類識別装置を備える
ことを特徴とする紙葉類処理装置。
発明の詳細な説明
【技術分野】
【0001】
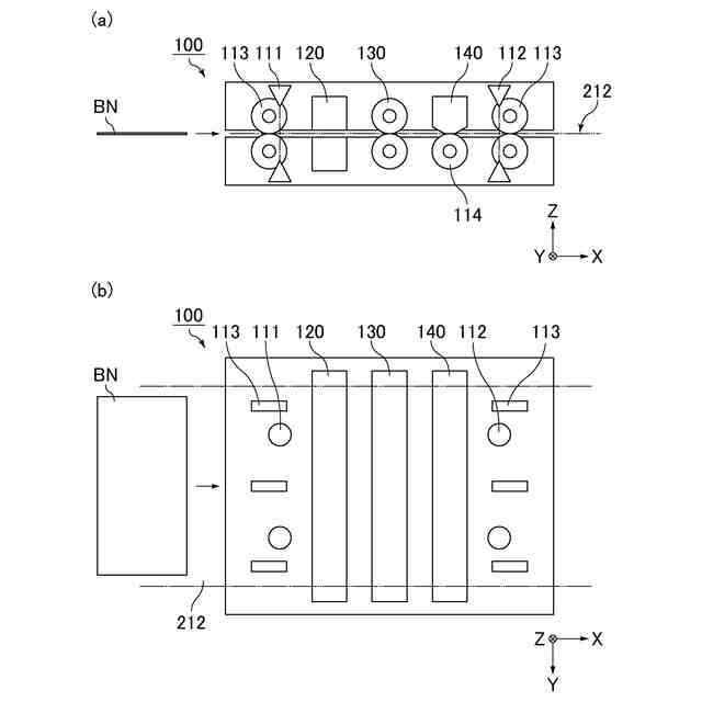
本開示は、磁気ラインセンサ、紙葉類識別装置及び紙葉類処理装置に関する。
続きを表示(約 1,100 文字)
【背景技術】
【0002】
紙幣といった紙葉類を識別する紙葉類識別装置では、光学ラインセンサ、磁気ラインセンサ、厚み検知センサ等といった各種の多チャンネル方式のセンサを用いて、紙葉類の特徴を取得する。そして、取得した紙葉類の特徴に基づき、紙葉類の種類(金種)や真偽、正損等を識別(判定)することが一般的に行われている。
【0003】
多チャンネル方式の磁気ラインセンサは、通常、主走査方向に配列された複数の感磁素子とともに、各感磁素子の出力信号を処理する処理回路を備え、その処理回路にはチップ型セラミックコンデンサ等の受動素子が多く用いられる。
【0004】
なお、特許文献1には、表面実装可能な比較的低ノイズの積層セラミックコンデンサ(MLCC)のコンデンサアセンブリが開示されている。
【先行技術文献】
【特許文献】
【0005】
特開2016-012722号公報
【発明の概要】
【発明が解決しようとする課題】
【0006】
従来の多チャンネル方式の磁気ラインセンサでは、各チャンネルに対して複数の感磁素子を設け、それらの感磁素子の出力を加算することで各チャンネルの出力信号を得ていた。
【0007】
しかしながら、その場合、磁気ラインセンサの主走査方向に配列可能な感磁素子の数の制約から、磁気ラインセンサの主走査方向における解像度を向上することが困難であった。
【0008】
それに対して、各チャンネルに対して1つずつ感磁素子を設け、その感磁素子の出力をそのまま各チャンネルの出力信号とする方式が考えられる。この方式によれば、より多くのチャンネルを設けることができるため、その分だけ主走査方向における高解像度化を達成することができる。
【0009】
ただし、この方式では、各チャンネルが有する感磁素子からの出力が小さくなるため、従来の多チャンネル方式の磁気ラインセンサでは顕在化していなかったノイズが新たな課題となることが判明した。
【0010】
より具体的には、厚み検知センサに媒体が突入するタイミングと、厚み検知センサから媒体が抜けるタイミングとで、磁気ラインセンサの出力信号にノイズが発生することがあった。そして、本発明者らがこの原因について詳細に調査したところ、厚み検知センサの振動が磁気ラインセンサに伝搬し、磁気ラインセンサの基板が振動することで、その基板に実装されたチップ型セラミックコンデンサにピエゾ効果が発生したためであると考えられた。
(【0011】以降は省略されています)
この特許をJ-PlatPat(特許庁公式サイト)で参照する
関連特許
株式会社イシダ
商品処理装置
18日前
富士電機株式会社
通貨識別装置
2か月前
沖電気工業株式会社
媒体処理装置
1か月前
沖電気工業株式会社
紙幣処理装置
1か月前
沖電気工業株式会社
施錠開閉装置
11日前
沖電気工業株式会社
媒体処理装置
1か月前
沖電気工業株式会社
媒体処理装置
2か月前
株式会社ライト
情報処理装置
2か月前
富士電機株式会社
自動販売機
1か月前
株式会社ライト
情報処理装置
2か月前
株式会社ライト
情報処理装置
2か月前
富士電機株式会社
金銭処理装置
2か月前
株式会社デンソー
車載器
16日前
グローリー株式会社
物品投出装置
1か月前
日本金銭機械株式会社
硬貨処理装置
20日前
株式会社寺岡精工
商品登録システム
2日前
日本金銭機械株式会社
硬貨処理装置
20日前
株式会社トイスピリッツ
景品提供システム
2か月前
ユニティガードシステム株式会社
入館監視システム
2か月前
旭精工株式会社
紙葉類処理装置および紙葉類処理方法
1か月前
沖電気工業株式会社
棒金収納装置
17日前
沖電気工業株式会社
現金処理装置
2か月前
沖電気工業株式会社
媒体処理装置
1か月前
沖電気工業株式会社
棒金収納装置
2か月前
沖電気工業株式会社
現金処理装置及び印字装置
1か月前
独立行政法人 国立印刷局
画像観察装置及び画像観察方法
1か月前
株式会社バンダイ
物品供給装置、及び物品供給装置セット
11日前
沖電気工業株式会社
媒体識別装置及び媒体処理装置
1か月前
沖電気工業株式会社
硬貨処理装置及び貨幣取扱装置
2か月前
株式会社東芝
ドア構造
2か月前
中井銘鈑株式会社
商品見本取付け構造
2か月前
グローリー株式会社
取引システム及び取引方法
9日前
株式会社寺岡精工
施設管理システム
1か月前
東芝テック株式会社
会計装置
12日前
グローリー株式会社
紙幣処理方法
2か月前
富士電機株式会社
自動販売機
2か月前
続きを見る
他の特許を見る